NORMA Oficial Mexicana NOM-006-ARTF-2023, Sistema Ferroviario-Operación-Equipo de arrastre ferroviario al servicio de carga-Disposiciones de seguridad.

Al margen un sello con el Escudo Nacional, que dice: Estados Unidos Mexicanos.- COMUNICACIONES.- Secretaría de Infraestructura, Comunicaciones y Transportes.- Agencia Reguladora del Transporte Ferroviario.

Evaristo Iván Ángeles Zermeño, Titular de la Agencia Reguladora del Transporte Ferroviario y Presidente del Comité Consultivo Nacional de Normalización de Transporte Ferroviario (CCNN-TF), con fundamento en los artículos, 17, 36 fracciones VII, VIII, XII y XXVII de la Ley Orgánica de la Administración Pública Federal; 3, fracciones VII, VIII y IX, 4, fracción XVI, 10, fracciones VII y XV, 24, 25, 30, 34 y 35 de la Ley de Infraestructura de la Calidad; 6 Bis, fracciones I y XIX de la Ley Reglamentaria del Servicio Ferroviario; 201 del Reglamento del Servicio Ferroviario; 40 del Reglamento Interior de la Secretaría de Comunicaciones y Transportes y Segundo del Decreto por el que se crea la Agencia Reguladora del Transporte Ferroviario, como un órgano desconcentrado de la Secretaría de Comunicaciones y Transportes, y
CONSIDERANDO
Que el artículo párrafo tercero, de la Constitución Política de los Estados Unidos Mexicanos, todas las autoridades, en el ámbito de sus competencias, tienen la obligación de promover, respetar, proteger y garantizar los derechos humanos de conformidad con los principios de universalidad, interdependencia, indivisibilidad y progresividad. En consecuencia, el Estado deberá prevenir, investigar, sancionar y reparar las violaciones a los derechos humanos, en los términos que establezca la ley.
Que conforme a lo dispuesto por el artículo 28, párrafos cuarto y quinto, de la Constitución Política de los Estados Unidos Mexicanos, los ferrocarriles son un área prioritaria para el desarrollo nacional en términos del artículo 25 del ordenamiento en mención y que el Estado, al ejercer en ella su rectoría, protegerá la seguridad y la soberanía de la Nación, y al otorgar concesiones o permisos mantendrá o establecerá el dominio de las respectivas vías de comunicación de acuerdo con las leyes de la materia.
Que la Ley de Infraestructura de la Calidad en su artículo 10 fracciones VII, XII y XV se establecen como objetivos legítimos de interés público, la seguridad nacional, la seguridad vial y cualquier otra necesidad pública, en términos de las disposiciones legales aplicables.
Que la Declaración Universal de Derechos Humanos en su artículo tercero señala el derecho de todo individuo a la vida, la libertar y a la seguridad de su persona.
Dicho artículo debe conceptualizarse en dos sentidos:
a)     Como una obligación para el Estado de respetar la vida dentro del ejercicio de sus funciones;
b)    Como una limitación al actuar de los particulares, para que ninguna persona prive de la vida a otra.
Que el equipo de arrastre ferroviario debe cumplir con parámetros técnicos, que garanticen la calidad del servicio para los usuarios del servicio ferroviario de carga en la vía concesionada nacional y la segura operabilidad de los concesionarios, permisionarios y asignatarios, y así mantener los estándares de seguridad esperados por la Agencia Reguladora del Transporte Ferroviario, a fin de preservar la integridad para todo el personal ferroviario.
Que el equipo de arrastre debe asegurar el traslado de mercancías de manera eficiente por la vía nacional, además de cerciorarse que los sistemas y mecanismos de las unidades funcionen adecuadamente y que su estructura brinde la seguridad requerida para el transporte, a manera de evitar los contratiempos operativos.
Que a través del hacer vinculante el cumplimiento de los parámetros de seguridad en el equipo ferroviario de arrastre, el Estado Mexicano procura el cuidado de la vida de las personas, al mismo tiempo que beneficia a mejorar los índices de disponibilidad y eficiencia ferroviarios.
Que el Comité Consultivo Nacional de Normalización de Transporte Ferroviario (CCNN-FT), en su Primera Sesión Ordinaria del 2023 celebrada el día 22 de marzo de 2023, aprobó el Proyecto de Norma Oficial Mexicana PROY-NOM-006-ARTF-2023, Sistema Ferroviario-Operación-Equipo de arrastre ferroviario al servicio de carga-Disposiciones de seguridad, a efecto de que en un plazo de 60 días naturales contados a partir de su fecha de publicación, los interesados presentaran sus comentarios ante el CCNN-TF, para que en los términos de la ley de la materia fueran considerados en el seno del Comité que lo propuso, toda vez que la Plataforma Tecnológica Integral de Infraestructura de la Calidad a que se refiere el artículo 35 de la Ley de Infraestructura de la Calidad se encuentra en desarrollo.
Que en cumplimiento a lo que dispone el artículo 35, fracción V y 38 de la Ley de Infraestructura de la Calidad, se publicó el 3 de mayo de 2023 en el Diario Oficial de la Federación el Proyecto de Norma Oficial Mexicana PROY-NOM-006-ARTF-2023, Sistema Ferroviario-Operación-Equipo de arrastre ferroviario al servicio de carga-Disposiciones de seguridad, para que, en un plazo de 60 días naturales contados a partir de su fecha de publicación, los interesados presentaran sus comentarios ante el Comité Consultivo Nacional de Normalización de Transporte Ferroviario, y que durante dicho período no se recibieron comentarios.
Que el 11 de diciembre de 2023 la Comisión Nacional de Mejora Regulatoria emitió el Dictamen Final en sentido favorable de la Propuesta Regulatoria denominada Proyecto de Norma Oficial Mexicana PROY-NOM-006-ARTF-2023, Sistema Ferroviario-Operación-Equipo de arrastre ferroviario al servicio de carga-Disposiciones de seguridad, en cumplimiento del Artículo 25 de la Constitución Política de los Estados Unidos Mexicanos, y los principios y objetivos establecidos en los artículos 7 y 8 de la Ley General de Mejora Regulatoria, con base en el procedimiento establecido en su Título Tercero, Capítulo III.
En virtud de lo anterior, en cumplimiento a lo que dispone el artículo 35, fracción X y 39 de la Ley de Infraestructura de la Calidad, toda vez que la Plataforma Tecnológica Integral de Infraestructura de la Calidad a que se refiere el artículo 35 de la Ley de Infraestructura de la Calidad se encuentra en desarrollo, he tenido a bien ordenar la publicación, en el Diario Oficial de la Federación, de la Norma Oficial Mexicana NOM-006-ARTF-2023, Sistema Ferroviario-Operación-Equipo de arrastre ferroviario al servicio de carga-Disposiciones de seguridad.
Ciudad de México, a 8 de febrero de 2024.- El Titular de la Agencia Reguladora del Transporte Ferroviario y Presidente del Comité Consultivo Nacional de Normalización de Transporte Ferroviario, Evaristo Iván Ángeles Zermeño.- Rúbrica.
NORMA OFICIAL MEXICANA NOM-006-ARTF-2023, SISTEMA FERROVIARIO-OPERACIÓN-EQUIPO DE
ARRASTRE FERROVIARIO AL SERVICIO DE CARGA-DISPOSICIONES DE SEGURIDAD
PREFACIO
La elaboración de la presente Norma Oficial Mexicana es competencia del Comité Consultivo Nacional de Normalización de Transporte Ferroviario (CCNN-TF) integrado por:
·  Administradora de la Vía Corta Tijuana-Tecate
·  Agencia de Seguridad, Energía y Ambiente
·  Agencia Reguladora del Transporte Ferroviario
·  Asociación Mexicana de Agentes de Carga, A.C.
·  Asociación Mexicana de Distribuidores de Gas Licuado y Empresas Conexas, A.C.
·  Asociación Mexicana de Ferrocarriles, A.C.
·  Asociación Nacional de la Industria Química, A.C.
·  Cámara Mexicana de la Industria de la Construcción
·  Cámara Nacional de la Industria del Hierro y el Acero
·  Cámara Nacional de la Industria Molinera de Trigo
·  Cámara Nacional de las Industrias Azucarera y Alcoholera
·  Cámara Nacional del Maíz Industrializado
·  Centro Nacional para la Prevención de Desastres
·  Colegio de Ingenieros Civiles de México, A.C.
·  Colegio de Ingenieros Mecánicos y Electricistas, A.C.
·  Colegio Nacional de Educación Profesional Técnica
·  Comisión Ambiental de la Megalópolis (CAMe)
·  Comisión Nacional de Hidrocarburos
·  Comisión Reguladora de Energía
·  Confederación de Cámaras Industriales de los Estados Unidos Mexicanos
·  Consejo Nacional Agropecuario
·  Consejo Nacional de Normalización y Certificación de Competencias Laborales
·  Dirección General de Autotransporte Federal
 
·  Dirección General de Desarrollo Ferroviario y Multimodal
·  Dirección General de Servicios Técnicos
·  Ferrocarril del Istmo de Tehuantepec, S.A. de C.V. (Corredor Interoceánico del Istmo de Tehuantepec)
·  Ferrocarril Mexicano, S.A. de C.V.
·  Ferrocarril Suburbano, S.A.P.I de C.V.
·  Ferrosur, S.A. de C.V.
·  FONATUR Tren Maya S.A. de C.V.
·  Instituto Mexicano de Normalización y Certificación A.C
·  Instituto Mexicano del Transporte
·  Instituto Politécnico Nacional
·  Kansas City Southern de México, S.A. de C.V.
·  Línea Coahuila Durango, S.A. de C.V.
·  Mexicana de Acreditación, MAAC, A.C.
·  Organismo Nacional de Normalización y Certificación de la Construcción y Edificación, S.C.
·  Procuraduría Federal del Consumidor
·  Secretaría de Agricultura y Desarrollo Rural
·  Secretaría de Economía
·  Secretaría de Gobernación
·  Secretaría de Medio Ambiente y Recursos Naturales
·  Secretaría de Salud
·  Secretaría de Turismo
·  Secretaría del Trabajo y Previsión Social
·  Servicio de Administración Tributaria
·  Sociedad Internacional de Acreditación A.C.
·  Universidad Autónoma de Nuevo León
·  Universidad Autónoma del Estado de México
·  Universidad Nacional Autónoma de México
·  Universidad Tecnológica de San Juan del Río
Con el objetivo de elaborar la presente Norma Oficial Mexicana, se constituyó un Grupo de Trabajo con la participación voluntaria de los siguientes actores:
·  Agencia Reguladora del Transporte Ferroviario.
·  Asociación Mexicana de Agentes de Carga, A.C.
·  Asociación Mexicana de Ferrocarriles, A.C.
·  Arrendadora Nacional de Carros de Ferrocarril, S.A. de C.V.
·  CIBA GROUP.
·  Entidad Mexicana de Acreditación, A.C.
·  Ferrocarril Mexicano, S.A. de C.V.
·  Ferrosur, S.A. de C.V.
·  Kansas City Southern de México, S.A. de C.V.
·  Mexicana de Acreditación, MAAC, A.C.
·  Normalización y Certificación NYCE, S.C.
·  Organismo Nacional de Normalización y Certificación de la Construcción y Edificación, S.C.
·  Sociedad Internacional de Acreditación, A.C.
·  Universidad Autónoma del Estado de México.
ÍNDICE DE CONTENIDO
PREFACIO
ÍNDICE DE CONTENIDO
INTRODUCCIÓN
1.     Objetivo, campo de aplicación y objetivos legítimos de interés público
2.     Especificaciones, características y disposiciones técnicas
3.     Procedimiento de Evaluación de la Conformidad
4.     Verificación y vigilancia
5.     Sanción
6.     Referencias a estándares para su implementación
7.     Concordancia con normas internacionales
8.     Bibliografía
9.     Clasificación
TRANSITORIOS
INTRODUCCIÓN
Con base en la legislación y reglamentación vigente en materia de transportación ferroviaria y en cumplimiento a las disposiciones contenidas en la Ley de Infraestructura de la Calidad, la Ley Reglamentaria del Servicio Ferroviario y el Reglamento del Servicio Ferroviario, en la presente Norma Oficial Mexicana se establecen las disposiciones y parámetros de seguridad operativa para los sistemas, componentes y dispositivos del Equipo Ferroviario de Arrastre que opera en el Sistema Ferroviario Mexicano. Esta Norma Oficial Mexicana incluye las disposiciones para los elementos de cierre y apertura, sistema de aparejo de tiro, truck y sus partes, aditamentos de seguridad para carros de carga, el estencilado de los carros y el expediente de descripción del mantenimiento.
1. Objetivo, campo de aplicación y objetivos legítimos de interés público
1.1. Objetivo
La presente Norma Oficial Mexicana tiene por objetivo establecer los parámetros de seguridad que debe de cumplir el Equipo Ferroviario de Arrastre, con el propósito de garantizar y preservar la seguridad operativa en el servicio de carga ferroviario.
1.2. Campo de aplicación
Las disposiciones de la presente Norma Oficial Mexicana son de aplicación para las empresas ferroviarias, concesionarias, permisionarias y asignatarias del servicio público de transporte ferroviario y de los servicios auxiliares, así como cualquier otra empresa particular, u organismo estatal o municipal autorizado para operar el Equipo Ferroviario de Arrastre.
1.3. Objetivos legítimos de interés público
Los objetivos legítimos de interés público que procura la presente Norma Oficial Mexicana son:
·  La seguridad nacional.
·  La seguridad vial.
2. Especificaciones, características y disposiciones técnicas
2.1. Términos y definiciones
Las definiciones de los términos que se utilizan para la interpretación de los aspectos técnicos de la presente Norma Oficial Mexicana serán las establecidas en la Ley de Infraestructura de la Calidad, Ley Reglamentaria del Servicio Ferroviario, Reglamento del Servicio Ferroviario, en el conocimiento de que, a falta de definición en los ordenamientos citados, se deben utilizar las definiciones que a continuación se indican:
2.1.1. Acoplador
Dispositivo por el que se mantiene la conexión de un carro con otro o con la locomotora.
2.1.2. Acreditación
Documento emitido por una Entidad de Acreditación, por el cual, se reconoce la competencia técnica y confiabilidad de una persona moral para operar como Organismo de Evaluación de la Conformidad.
2.1.3. Aparejo de tiro
Mecanismo por medio del cual se amortiguan los impactos ocasionados por el acoplamiento de unidades y
el movimiento del tren.
2.1.4. Aprobación
Acto por el cual la Agencia reconoce a un Organismo de Evaluación de la Conformidad que haya obtenido la Acreditación, para realizar la Evaluación de la Conformidad relacionada con Normas Oficiales Mexicanas.
2.1.5. Carro
Unidad de Equipo de Arrastre destinada al Servicio Público de Transporte Ferroviario de Carga.
2.1.6. Certificado de Conformidad
Documento emitido por un OEC y aprobado por la Agencia, mediante el cual se avala que la Empresa cumple una Norma Oficial Mexicana.
2.1.7. Escotilla
Apertura o puerta de acceso de un tanque u otros vehículos.
2.1.8. Entidad de Acreditación
Persona moral debidamente autorizada por la Secretaría de Economía para conocer, tramitar y resolver las solicitudes de Acreditación y, en su caso, emitir las Acreditaciones a favor de aquéllos que pretendan operar como Organismos de Evaluación de la Conformidad.
2.1.9. Estencilado
Conjunto de letras, números y símbolos empleados para la identificación de los carros, así como para proporcionar información como características específicas diversas del mismo.
2.1.10. Equipo de arrastre
Conjunto de carros destinados al Servicio Público de Transporte Ferroviario que no cuenta con tracción propia.
2.1.11. Fisura
Una grieta o hendidura sin la separación completa de las partes de un material, pieza o componente.
2.1.12. Holgura
Parámetro dentro del cual una tolerancia es operativamente aceptable.
2.1.13. Inspección
Actividad que realiza el Personal de Servicio Ferroviario calificado, para conservar y mantener en buen estado físico las Vías Férreas, las señales, las instalaciones y sistemas de telecomunicaciones utilizados en la concesión, Asignación o permiso, así como del Equipo Ferroviario, en términos del Reglamento del Servicio Ferroviario.
2.1.14. Mantenimiento
Es el conjunto de operaciones que se realizan para salvaguardar la integridad y la funcionalidad de cualquier infraestructura.
2.1.15. Organismos de Evaluación de la Conformidad (OEC)
Persona moral que aplica el Procedimiento de Evaluación de la Conformidad.
2.1.16. Procedimiento de Evaluación de la Conformidad (PEC)
Proceso técnico que permite demostrar el cumplimiento de las disposiciones contenidas en las Normas Oficiales Mexicanas. Comprende, entre otros, los procedimientos de muestreo, inspección y certificación.
2.1.17. Rotura
Fractura con separación completa de las partes de un material, pieza o componente.
2.1.18. Sujeto Obligado
Concesionarios, permisionarios y asignatarios que prestan servicio ferroviario dentro de las vías generales de comunicación ferroviaria del Sistema Ferroviario Mexicano.
2.1.19. Truck
Estructura de acero montado sobre dos o más mancuernas que se utiliza para soportar el cuerpo del carro.
2.1.20. Unidad de Inspección
Persona física o moral que pertenece a un OEC que realiza actos de inspección para la aplicación del PEC.
2.1.21. Verificación
Actividad realizada por las autoridades competentes para constatar a través de visitas, requerimientos de información o documentación física o electrónica, que los bienes, productos, procesos y servicios cumplen o concuerdan con las Normas Oficiales Mexicanas o Estándares, en este último caso, cuando su aplicación sea obligatoria en términos de la Ley de Infraestructura de la Calidad.
2.1.22. Vigilancia
Acto por el cual las autoridades competentes revisan que las actividades de las Entidades de Acreditación y los Organismos de Evaluación de la Conformidad se realicen conforme a lo establecido en la Ley de Infraestructura de la Calidad.
2.2. Términos abreviados
2.2.1. AAR
Asociación Americana de Ferrocarriles (Association of American Railroads).
2.2.2. ARTF (Agencia)
Agencia Reguladora del Transporte Ferroviario.
2.2.3. OEC
Organismo de Evaluación de la Conformidad.
2.2.4. PEC
Procedimiento de Evaluación de la Conformidad.
2.2.5. NOM
Norma Oficial Mexicana.
2.3. Disposiciones Generales
2.3.1. Las disposiciones contenidas en esta NOM se organizan de acuerdo con los sistemas, operaciones y subsistemas que se muestran en la Tabla 1.
Sistema mecánico
Subsistema
Elementos de cierre y apertura
Sin subsistema
Aparejo de tiro y sus partes
Acopladores y sus partes
Yugos y sus componentes
Aparejos de tracción
Dispositivos de amortiguamiento
Trucks y sus partes
Baleros
Adaptadores para baleros
Sistema Eje-Rueda
Ruedas
Ejes
Traveseros de truck y bastidores
Dispositivo estabilizador
Aditamentos de seguridad para carros de
carga
Freno de mano
Repisas de freno de mano
Estribos
Escaleras
Pasamanos laterales
Pasamanos horizontales de extremo
Pasamanos verticales de extremo
Palanca de desacoplar
Repisas transversales de extremo
Barras de acoplamiento para carros de carga de altura estándar
Aditamentos adicionales para carros tanque
Estencilado de los carros
Sin subsistema
Tabla 1 Estructura de la NOM.
2.3.2. Estas disposiciones aplican para los tipos de carros definidos en la regla 83 del Manual de Campo de la AAR, a manera indicativa mas no limitativa, para su identificación, algunos tipos de carros se ilustran en la Tabla 2:
 
Unidad de Arrastre
Imagen de referencia
Tolva

Furgón

Tanque

Plataforma

Góndola

Tabla 2. Algunos tipos de carros de acuerdo a la AAR.
2.3.3. El equipo ferroviario de reciente adquisición, así como el reparado o reconstruido, deberá, previamente al inicio de sus operaciones, ser inspeccionado.
2.3.4. El responsable de mantenimiento de los carros debe contar con toda la información técnica propia del fabricante y cada operación específica la debe ejecutar procedimentalmente según los materiales, equipos, herramientas y métodos que se señalen en sus manuales e instructivos de mantenimiento y en las disposiciones de esta NOM.
2.3.5. Las inspecciones a que se refiere el presente capítulo se realizarán sin perjuicio de las obligaciones de conservación y mantenimiento que establezcan las Normas correspondientes.
2.3.6. Para el caso de mediciones se deberán emplear escantillones para el equipo ferroviario, flexómetros u otro, según se indique en los manuales e instructivos del fabricante.
2.3.7. El concesionario, asignatario o permisionario llevará un control y registro del Personal de Servicio Ferroviario calificado designado como inspector y de las evidencias documentales consideradas para cada designación, las cuales deberán conservarse, actualizarse y mantenerlas a disposición de la Agencia para efectos de verificación.
2.3.8. Únicamente podrá transitar por una vía general de comunicación ferroviaria, el equipo ferroviario que previamente al inicio de operaciones, se inspeccione y apruebe por personal calificado de la concesionario, asignatario o permisionario.
2.3.9. Por cada Inspección que se realice deberá hacerse un reporte que contendrá, cuando menos, el nombre del inspector y de la empresa, según corresponda, la matrícula del Equipo Ferroviario, el lugar, fecha y hora de la Inspección, la descripción, en su caso, de los defectos o fallas detectadas y la firma del inspector que la practicó.
2.3.10. Para efectos de verificaciones y Evaluación de la Conformidad, las unidades de medida tanto del Sistema Inglés como del Internacional de Unidades, serán válidas.
2.4. Elementos de cierre y apertura
2.4.1. No se debe colocar un carro o continuar en servicio, si:
2.4.1.1. Todas las partes móviles destinadas a cerrar aberturas, tales como puertas de acceso, lonas, trampillas, escotillas, válvulas, entre otras, no deberán tener falsos movimientos de apertura o de cierre, por lo que se debe revisar que abran y cierren sin trabazón o desperfectos.
2.4.1.2. Los elementos o dispositivos de bloqueo deberán indicar el estado en que se encuentren, ya sea abierto o cerrado, y deberán ser visibles desde el exterior.
2.4.1.3. Las tapas de escotillas de las tolvas no deberán estar rotas, faltantes, vencidas o irreparables, y deberán ser compatibles con el diseño del carro.
2.4.1.4. Las tapas serán compatibles en longitud, ancho, ubicación del tope de la bisagra y ubicación del seguro.
2.4.1.5. Las puertas de furgones tipo costado de tipo común deslizables o corredizas no deben tener partes rotas, dañadas o faltantes en los siguientes elementos: aldabas y pasador de aldabas, topes traseros, palanca de operación, carril de puerta, palanca elevadora, reten superior de plato, conjunto de rodillos, dispositivo de apertura, retenes inferiores y guías de seguridad de los colgantes.
2.4.1.6. Las puertas de furgones tipo tapón no deben tener partes rotas, dañadas o faltantes en los siguientes elementos: reten superior, dispositivos de apertura, topes frontales y traseros, manivelas de operación superiores, soportes de apertura, conjunto de rodillos superiores, soportes de tornillos, candados auxiliares, manivelas de operación inferiores, guía de puerta (no se permiten alteraciones), conjunto de rodillos inferiores, palanca de operación, topes de puerta en la guía, tubos de conexión, conjunto de manivela superior de seguridad, barras de operación del candado auxiliar, defectos misceláneos (daños en empaques de hule, etc.).
2.4.1.7. Las puertas de extremo en carros cargados, del tipo rack-multinivel para transportar automóviles encerrados; deben cerrarse y asegurarse.
2.5. Aparejo de tiro
2.5.1. No se debe colocar un carro o continuar en servicio, si:
2.5.1.1. Acopladores y sus partes. Ni los acopladores ni sus partes deben tener ninguno de los siguientes defectos:
2.5.1.1.1. Doblamiento o desalineación en zancos o cañas, a tal grado que no puedan acoplarse con otro carro.
2.5.1.1.2. Grietas extendiéndose fuera de las áreas sombreadas y rotuladas como (AA), tal como se muestra en la Fig. 1.
2.5.1.1.3. Grietas extendiéndose fuera del área de radio entre el cabezote y la caña, tal como se indica en el área sombreada y rotulada como (CC) en la Fig. 1, con dimensiones de más de 5.08 cm (2 in).
2.5.1.1.4. Más de una grieta presente dentro del área del radio entre el cabezote y la caña, tal como se muestra en la Fig. 1.

Fig. 1 Acoplador.
2.5.1.1.5. Muela rota o agrietada en la cara interior del área de tiro, tal como se muestra en la Fig. 2.

Fig. 2 Muela.
2.5.1.1.6. Perno de muela o tirador de muela faltante o inoperante.
2.5.1.1.7. Elevador de candado inoperante.
2.5.1.1.8. Candado de acoplador faltante, vencido, fracturado o roto.
2.5.1.1.9. Placa retenedora del perno vertical de conexión del acoplador con el yugo faltante (excepto por diseño) o medios de aseguramiento faltantes.
2.5.1.1.10. Pasador de acoplador, retén del pasador o candado del retén del pasador del acoplador roto o faltante.
2.5.1.1.11. Cargador de acoplador roto o faltante.
2.5.1.1.12. Larguero central del carro roto, agrietado más de 15.24 cm (6 in) o vencido más de 6.35 cm (2 1/2 in) en una longitud de 1.83 m (6 ft) entre los platos de centro.
2.5.1.1.13. Roturas en largueros laterales o traveseros de cuerpo.
2.5.1.2. Yugos y sus componentes. Los yugos no deben presentar los siguientes defectos:
2.5.1.2.1. Rotos o agrietados, particularmente en el área sombreada en la parte posterior de la ranura del pasador, tal como se muestra en la Fig. 3.

Fig. 3 Yugo.
2.5.1.2.2. Placas de impactos rotas, faltantes o vencidas 1.27 cm (1/2 in) o más, o que sean impropias (no reglamentarias del carro).
2.5.1.3. Aparejos de tracción. Los aparejos de tracción y otros componentes relacionados no deben presentar los siguientes defectos:
2.5.1.3.1. Cuando el cilindro exterior esté roto o partido o cuando tenga grietas de cualquier longitud en áreas críticas, como se muestra en la Fig. 4 o bien, cuando tenga grietas de 2.54 cm (1 in) o más largas en cualquier lugar del cilindro exterior.
2.5.1.3.2. Cuando las fundiciones del yugo que son parte integral del ensamble del aparejo de tracción estén rotas o con grietas.
2.5.1.3.3. Cuando la pared posterior del cilindro exterior está pandeada o combada más de 0.476 cm (3/16 in).
2.5.1.3.4. Cuando las partes del aparejo, en donde se recarga la placa de impactos, estén rotas o agrietadas.
2.5.1.3.5. Cuando presenten daños evidentes causados por fuego o calentamiento en aparejos de tracción de hule o de fricción de hule.
2.5.1.3.6. Cuando estén faltantes, impropio (no reglamentario del carro) u obsoletos.
2.5.1.3.7. Cuando el cargador del aparejo de tracción este agrietado, roto o con un desgaste mayor a 50% de su espesor original, con placa de desgaste faltante o completamente desgastada, o sea impropio (no reglamentario del carro).
 


(a)
(b)


(c)
(d)


(e)
(f)


(g)
(h)

(i)
Fig. 4. Áreas críticas para el cilindro exterior.
2.5.1.4. Dispositivos de amortiguamiento. Los dispositivos de amortiguamiento no deben tener los siguientes defectos:
2.5.1.4.1. Rotos.
2.5.1.4.2. Con fugas, gotas claramente formadas después de haber sido limpiado el escurrimiento.
2.5.1.4.3. Inoperantes.
2.5.1.4.4. Partes del dispositivo faltantes.
2.6. Truck y sus partes
2.6.1. No se debe colocar un carro o continuar en servicio, si:
2.6.1.1. Baleros. Los baleros no deben presentar los siguientes defectos:
2.6.1.1.1. Sobrecalentamiento con evidencia por decoloración.
2.6.1.1.2. Otras señales que indiquen sobrecalentamiento, así como daños en los sellos o distorsión de cualquier componente del balero.
2.6.1.1.3. Tornillos de tapa flojos o faltantes.
2.6.1.1.4. Placa candado faltante, fuera de su lugar o impropiamente colocada.
2.6.1.1.5. Sellos flojos o dañados que permitan fugas de grasa con gotas claramente formadas.
2.6.1.1.6. No se debe poner en servicio un carro con baleros que hayan estado involucrados en un descarrilamiento, a menos que éstos hayan sido inspeccionados y probados de la siguiente manera:
2.6.1.1.6.1. Una inspección visual para determinar si muestran cualquier signo de daño (deformación).
2.6.1.1.6.2. Girar libremente la mancuerna o rotar manualmente los baleros para determinar si hacen cualquier ruido inusual.
2.6.1.1.7. Los baleros defectuosos deberán ser reparados o reemplazados antes de que el carro sea puesto en servicio.
2.6.1.2. Adaptadores para baleros. Los adaptadores para baleros no deben tener los siguientes defectos:
2.6.1.2.1. Agrietados o rotos.
2.6.1.2.2. Fuera de su lugar.
2.6.1.2.3. Con desgaste en la corona de la parte superior del adaptador, de tal forma que el bastidor lateral se apoye en alguna parte de la ranura de desahogo, tal como se muestra en la Fig. 5.

Fig. 5 Corona.
2.6.1.3. Ruedas. Las ruedas no deben contar con los siguientes defectos:
2.6.1.4. Ceja delgada con espesor de 2.22 cm (7/8") o menor.
2.6.1.5. Ruedas con ceja alta de 3.81 cm (1 ½") o mayor
2.6.1.5.1. Ruedas con espesor en la pisada (o llanta) de la rueda de 1.75 cm (11/16 in) o menor.
2.6.1.5.2. La pisada, ceja, plato o área de la maza de una rueda tiene una grieta o rotura.
2.6.1.5.3. Una rueda en el carro que tiene una desportilladura o un golpe en la ceja cuyas dimensiones sean de 3.81 cm (1 1/2 in) de longitud y 1.27 cm ( 1/2 in) de ancho o más.
2.6.1.5.4. Ruedas con aplanaduras o desconchaduras en la pisada de 6.35 cm (2 1/2 in) o más de longitud.
2.6.1.5.5. Ruedas con dos aplanaduras o desconchaduras contiguas de 5.08 cm (2 in) de longitud o mayor.
2.6.1.5.6. Una rueda muestra evidencia de estar floja, si hay escurrimiento de lubricante en la maza posterior o en el plato posterior.
2.6.1.5.7. Indicaciones de sobrecalentamiento, ya sea por enrojecimiento o decoloración, en ambas caras de la llanta y que se extienden en cualquiera de las caras a más de 10.16 cm (4 in) en el plato, medidos desde el borde interior de la cara frontal o posterior del borde de la llanta.
2.6.1.5.8. Una rueda ha sido soldada, a menos que el carro esté siendo movido para reparación.
2.6.1.6. Ejes. Los ejes de ruedas no deben presentar los siguientes defectos:
2.6.1.6.1. Agrietado o roto.
2.6.1.6.2. Hendiduras (melladuras) ubicadas entre los asientos de las ruedas y que tengan más de 0.31 cm (1/8 in) de profundidad.
2.6.1.7. Traveseros y bastidores laterales de truck. Los traveseros y bastidores laterales de truck no deben presentar los siguientes defectos:
2.6.1.7.1. Rotos, agrietados, faltantes, vencidos, de medidas impropias u obsoletos.
2.6.1.7.2. Con una fractura de más de 0.63 cm (1/4 in), en dirección transversal en un miembro de tensión.
2.6.1.7.3. Interferencia entre el travesero de truck y el plato del centro que impida rotaciones apropiadas del truck.
2.6.1.7.4. Ménsula soporte de la retranca del freno excesivamente desgastada al grado que ya no sostenga la retranca.
2.6.1.7.5. Desgastado o corroído, que abarque más del 25% en cualquiera de sus secciones.
2.6.1.7.6. Placa de desgaste (de acero fundido) de fricción del truck: faltante, rota, floja o desgastada completamente en toda la cara de fricción.
2.6.1.7.7. Que presente soldadura sobre las guías de columna de bastidor faltante o rota.
2.6.1.8. Dispositivo estabilizador. Los dispositivos estabilizadores no deben presentar los siguientes defectos:
2.6.1.8.1. Cuña de fricción que esté desgastada más de lo permitido por el indicador.
2.6.1.8.2. Una placa de desgaste de bastidor lateral de truck que esté rota, faltante (excepto por diseño) o desgastada completamente en toda la cara de fricción.
2.6.1.8.3. Unidad snubber (amortiguador) que esté rota, o en el caso de unidades snubber hidráulicas, rotas o con fugas (claramente formando gotas de aceite u otros fluidos).
2.6.1.8.4. En snubbers hidráulicos equipados con mirilla cuando el fluido está por debajo de la mirilla.
2.6.1.8.5. Resorte de truck que no mantenga su carrera, evidenciado por marcas de rozamiento entre las espirales o entre el resorte y su asiento.
2.6.1.8.6. Un resorte de cuña de fricción roto o faltante.
2.6.1.8.7. Resortes que estén sólidamente comprimidos o rígidos.
2.6.1.8.8. Más de un resorte exterior que esté roto, o faltante en cualquier grupo de resortes.
2.6.1.8.9. Que presenten soldadura o indicios de haber sido soldados.
2.6.1.8.10. Rozaderas laterales, que formen parte del conjunto éstas, que estén faltantes o rotas.
2.6.1.8.11. Cuando las rozaderas laterales en un extremo del carro, en ambos lados, estén en contacto con el travesero de cuerpo (excepto por diseño).
2.6.1.8.12. La suma total de las holguras en un extremo del carro desde el travesero de cuerpo es mayor que 1.90 cm (3/4 in).
2.6.1.8.13. En los lados diagonalmente opuestos del carro, la suma total de holguras desde el travesero de cuerpo es mayor que 1.90 cm (3/4 in).
2.6.1.8.14. Los carros de carga no deben tener un espacio libre (libraje) menor de 6.35 cm (2 1/2 in), medido desde la parte superior del hongo del riel hasta cualquier parte del cuerpo o carrocería del carro (truck) o accesorios (excepto las ruedas).
2.7. Aditamentos de seguridad para carros de carga
Las disposiciones de los incisos 2.7.1. hasta el inciso 2.7.1.10. aplican para todos los carros objeto de esta NOM (ver Tabla 2), a excepción del inciso 2.7.1.11. y sus secundarios, el cual aplica exclusivamente para carros tanque.
2.7.1. No se debe colocar un carro o continuar en servicio, si:
2.7.1.1. Freno de mano. Debe cumplir con las siguientes especificaciones (véase Fig. 6):
2.7.1.1.1. La inmovilización deberá mantenerse hasta el afloje intencionado del freno.
2.7.1.1.2. El freno debe contar con un indicador visible para determinar el estado del freno.
2.7.1.1.3. Las especificaciones técnicas del freno estarán marcadas en el carro de arrastre a través de la placa correspondiente, la cual debe ser visible y legible.
2.7.1.1.4. Número. El freno de mano debe ser eficiente y funcionar armónicamente. Deberá proporcionar
2.7.1.1.4.1. Proporcionar el mismo grado de seguridad que el diseño que se muestra en su placa de especificaciones técnicas.
2.7.1.1.4.2. Proporcionar una fuerza de frenado total aplicada a las zapatas de freno no menor que la fuerza total aplicada a las zapatas de freno por los cilindros de freno a 344.738 kPa (50 psi).
2.7.1.1.5. Dimensiones.
2.7.1.1.5.1. El eje del freno no debe tener menos de 3.175 cm (1 ¼ in) de diámetro, de hierro forjado o acero sin soldadura.
2.7.1.1.5.2. El volante de freno puede ser plana o abombada, de no menos de 38.1 cm (15 in), preferiblemente 40.64 cm (16 in) de diámetro, de hierro maleable, hierro forjado o acero.
 

Fig. 6 Mecanismo del freno de mano.
2.7.1.1.6. Freno de mano horizontal.
2.7.1.1.6.1. Dimensiones. El diámetro de la flecha del freno no debe ser inferior a 3.18 cm (1 1/4 in).
2.7.1.1.6.2. El volante del freno debe ser plano o cóncavo; su diámetro no debe ser menor de 38.10 cm (15 in), preferentemente de 40.64 cm (16 in); de hierro maleable, hierro forjado o acero.
2.7.1.1.6.3. Localización. El volante del freno debe estar localizado de tal manera que no existan elementos que interfieran o entorpezcan la operación funcional.
2.7.1.1.6.4. La flecha del freno debe estar localizada sobre el extremo del carro, a la izquierda, y a no menos de 43.18 cm (17 in) ni a más de 55.88 cm (22 in) desde el centro del carro.
2.7.1.1.6.5. Instalación. No debe haber menos de 10.16 cm (4 in) de claro alrededor del borde del volante del freno.
2.7.1.1.6.5.1. La orilla exterior del volante del freno no debe estar a menos de 10.16 cm (4 in) de un plano vertical paralelo al extremo del carro que pasa por la cara interior de la muela cuando está cerrada y el acoplador totalmente comprimido.
2.7.1.1.6.5.2. El soporte superior de la flecha del freno debe estar sujeto con tornillos o remaches de diámetro no menor de 1.27 cm (1/2 in)
2.7.1.1.6.5.3. El soporte inferior de la flecha del freno no debe permitir que la cadena caiga cuando esté operando el freno de mano. Se prefiere que el soporte tenga forma en U.
2.7.1.1.6.5.4. La flecha del freno debe tener una terminación cuadrada en su extremo superior para asegurar el volante del freno de mano; dicha terminación no debe ser menor de 2.22 cm (7/8 in) por lado.
2.7.1.1.6.5.5. El cono de la terminación cuadrada es nominalmente de 5.08 cm (2 in) en 30.48 cm (12 in).
2.7.1.1.6.5.6. La cadena del freno no debe ser menor a 0.95 cm (3/8 in), preferentemente de 1.11 cm (7/16 in); debe contar con un eslabón sobre el extremo de la varilla del freno no menor a 1.11 cm (7/16 in), preferentemente de 1.27 cm (1/2 in); debe ser de hierro forjado o de acero; y debe estar asegurada a la flecha del freno por un tornillo hexagonal no menor a 1.27 cm (1/2 in) o un tornillo de cabeza cuadrada de la misma medida.
2.7.1.1.6.5.7. La tuerca para el tornillo de cabeza cuadrada o hexagonal, referida en el inciso 2.7.1.1.6.5.6., debe asegurarse, remachándose al extremo del tornillo o mediante algún otro método de sujeción que garantice su fijación.
2.7.1.1.6.5.8. El extremo inferior de la flecha del freno debe tener un muñón no menor a 1.91 cm (3/4 in), preferentemente de 2.54 cm (1 in) de diámetro, que se extiende a través del soporte inferior de la flecha del freno y se mantiene en posición de operación por una chaveta o anillo adaptable.
2.7.1.1.6.5.9. El tambor de la flecha del freno no debe ser menor a 3.81 cm (1 1/2 in).
2.7.1.1.6.5.10. La sujeción de la rueda trinquete del freno a la flecha debe hacerse por medio de una cuña de terminación cuadrada no menor a 3.33 cm (1 5/16 in) por lado.
2.7.1.1.6.5.11. Cuando opere la rueda trinquete con la terminación cuadrada se deben tener las precauciones necesarias para prevenir que la rueda trinquete se trepe sobre la flecha y desacople el retén del freno.
2.7.1.1.6.5.12. El diámetro de la rueda trinquete del freno no debe ser menor a 13.34 cm (5 1/4 in), preferentemente de 13.97 cm (5 1/2 in), y no debe tener menos de 14 dientes, preferentemente de 16.
2.7.1.1.6.5.13. Si la rueda trinquete del freno está a más de 91.44 cm (36 in) del volante del freno, se proporcionará un soporte para la flecha del freno para soportar esta porción superior extendida de la flecha; dicho soporte debe asegurarse con tornillos o remaches no menores a 1.27 cm (1/2 in).
2.7.1.1.6.5.14. El retén del freno debe pivotar sobre un tornillo o remache no menor a 1.59 cm (5/8 in) de diámetro, o sobre un muñón asegurado por un tornillo o remache no menor a 1.27 cm (1/2 in), y debe tener una conexión metálica rígida entre la flecha del freno y el pivote del retén.
2.7.1.1.6.5.15. El volante del freno debe mantenerse en posición sobre la flecha del freno mediante una tuerca ubicada en un extremo roscado de la flecha de ésta; dicha porción roscada no debe ser menor a 1.90 cm (3/4 in) de diámetro, la flecha debe asegurarse con una tuerca candado o chaveta.
2.7.1.1.6.5.16. El volante debe tener una entrada cuadrada para poder colocarse en el extremo cuadrado de la flecha del freno; el cono de la terminación cuadrada es nominalmente de 5.08 cm (2 in) en 30.48 cm (12 in).
2.7.1.1.7. Freno de mano vertical.
2.7.1.1.7.1. Dimensiones. El volante del freno puede ser cóncavo o semicóncavo, de hierro maleable, hierro forjado, acero u otro material de resistencia equivalente.
2.7.1.1.7.1.1. El diámetro total del volante del freno debe ser nominalmente de 55.88 cm (22 in).
2.7.1.1.7.1.2. La profundidad de la maza de la rueda del freno debe ser de 6.67 cm (2 5/8 in) con una entrada cuadrada para la flecha, cuya conicidad debe ser de 5.08 cm (2 in) en 30.48 cm (12 in), con el extremo menor ajustado mínimo a 2.22 cm (7/8 in) por lado (ver Fig. 7).

Fig. 7 Flecha de la maza de la rueda del freno.
2.7.1.1.7.1.3. El tambor y el volante del freno deben instalarse de manera que ambos giren cuando se aplique y libere gradualmente el freno de mano.
2.7.1.1.7.1.4. El freno de mano debe estar provisto con un medio para prevenir una aplicación del freno cuando se gire en dirección contraria a las manecillas del reloj.
2.7.1.1.7.1.5. La flecha del freno debe tener forma cuadrada cerca de su extremo para asegurar el volante del freno de mano; dicha forma cuadrada no será menor a 2.22 cm (7/8 in) por lado y la conicidad nominal de la adaptación debe ser 5.08 cm (2 in) en 30.48 cm (12 in) (ver Fig. 7).
2.7.1.1.7.1.6. Ningún eslabón de la cadena debe ser menor de 0.56 cm (9/16 in).
2.7.1.1.7.1.7. Ninguna varilla del freno de mano debe ser de menos de 1.91 cm (3/4 in) de diámetro.
2.7.1.1.7.2. Localización. Debe estar localizado de manera que pueda ser operado con seguridad desde la repisa horizontal de extremo mientras el carro está en movimiento.
2.7.1.1.7.2.1. La flecha del freno debe localizarse en el extremo del carro, a la izquierda y a no menos de 43.18 cm (17 in) ni a más de 55.88 cm (22 in) desde el centro del carro, y a no menos de 66.04 cm (26 in) ni a más de 101.6 cm (40 in) encima de la parte superior del peldaño de la repisa de extremo (ver Fig. 8).

Fig. 8 Freno vertical. Localización de la flecha del freno.
2.7.1.1.7.3. Instalación. El volante del freno se debe mantener en su posición sobre la flecha del freno mediante una tuerca en el extremo extendido roscado de la flecha del freno; dicha porción roscada no será menor a 1.90 cm (3/4 in) de diámetro; dicha tuerca será asegurada mediante el uso de una tuerca candado o una chaveta apropiada.
2.7.1.1.7.3.1. La orilla exterior del volante del freno no debe estar a menos de 10.16 cm (4 in) de un plano vertical paralelo al extremo del carro que pasa por la cara interior de la muela cuando está cerrada y el acoplador totalmente comprimido (ver Fig. 9).
2.7.1.1.7.3.2. La caja del freno de mano debe sujetarse firmemente al carro.


(a) Volante. Vista lateral.
 
(b) Volante. Vista frotal.
 

(c) Volante. Ubicación.
Fig. 9 Posición del volante de freno vertical.
2.7.1.2. Repisas de freno de mano.
2.7.1.2.1. Dimensiones. No debe ser menor a 71.12 cm (28 in) de longitud. El borde exterior no debe estar a menos de 10.16 cm (4 in) de un plano vertical paralelo al extremo del carro que pasa por la cara interior de la muela cuando está cerrada y el acoplador totalmente comprimido.
2.7.1.2.2. Instalación. La repisa del freno debe estar apoyada por al menos dos soportes metálicos que tengan una sección transversal mínima de 0.95 cm (3/8 in) por 3.81 cm (1 1/2 in) o equivalente, y deben sujetarse correctamente al cuerpo del carro con tornillos o remaches no menores a 1.27 cm (1/2 in).
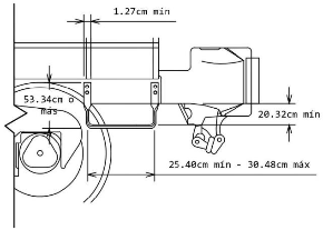
2.7.1.3. Estribos.
2.7.1.3.1. Dimensiones.
2.7.1.3.1.1. Área mínima de la sección transversal de 1.27 cm (1/2 in) por 3.81 cm (1 1/2 in), de hierro forjado o acero.
2.7.1.3.1.2. Longitud mínima de la pisada del estribo de 25.40 cm (10 in) o preferentemente de 30.48 cm (12 in).
2.7.1.3.1.3. Altura mínima libre de 20.32 cm (8 in) (ver Fig. 10 (a) y (b)).
2.7.1.3.2. Localización. Uno cerca de cada extremo en cada costado del carro, de manera que no haya más de 45.72 cm (18 in) del extremo del carro al centro del estribo (ver Fig. 10 (c)).
2.7.1.3.2.1. El borde exterior del estribo no debe estar a más de 10.16 cm (4 in) hacia adentro desde el costado del carro (ver Fig. 10 (b) y (c)).
2.7.1.3.2.2. La pisada del estribo no debe de estar a más de 60.96 cm (24 in), y preferentemente a no más de 55.88 cm (22 in) de la parte superior del hongo del riel (ver Fig. 10 (b) y (c)).
2.7.1.3.2.3. Instalación. Los estribos que excedan 53.34 cm (21 in) de altura libre deben tener un peldaño adicional (ver Fig. 10 (a) y (c)).
2.7.1.3.2.4. Los estribos deben de estar asegurados con tornillos de no menos de 1.27 cm (1/2 in) y con tuercas por fuera o con remaches de 1.27 cm (1/2 in).
 


(a) Estribo. Vista frontal.
 
(b) Estribo. Vista lateral.
 

(c) Estribo. Especificaciones.
Fig. 10 Estribos.
2.7.1.4. Escaleras.
2.7.1.4.1. Dimensiones.
2.7.1.4.1.1. Longitud libre mínima en el peldaño debe ser de 40.64 cm (16 in) en escaleras laterales; 35.56 cm (14 in) en escaleras de extremo (ver Fig. 11).
2.7.1.4.1.2. El espaciamiento máximo entre los peldaños de la escalera debe ser de 48.26 cm (19 in) (ver Fig. 11). El peldaño superior de la escalera debe estar localizado a no menos de 30.48 cm (12 in) ni a más de 45.72 cm (18 in) desde el techo.
2.7.1.4.1.3. El espaciamiento entre los peldaños de las escaleras laterales debe ser uniforme con una variación máxima de 5.08 cm (2 in) (ver Fig. 11).
2.7.1.4.1.4. La distancia máxima entre el peldaño inferior de la escalera lateral al escalón superior del estribo debe ser 53.34 cm (21 in).
2.7.1.4.1.5. Los peldaños de las escaleras de extremo deben estar espaciados para coincidir con los peldaños de las escaleras laterales, con una variación permitida de 5.08 cm (2 in) (ver Fig. 11).
2.7.1.4.1.6. Cuando la construcción del carro no permita que un peldaño de escalera de extremo coincida con el peldaño inferior de la escalera lateral, el peldaño inferior de la escalera de extremo debe coincidir con el segundo peldaño desde abajo de la escalera lateral.
2.7.1.4.1.7. Los peldaños deben ser de hierro o acero y tener un diámetro mínimo de 1.59 cm (5/8 in) (ver Fig. 11).
2.7.1.4.1.8. El claro mínimo de peldaños con el cuerpo del carro debe ser de 5.08 cm (2 in), preferentemente de 6.35 (2 1/2 in) (ver Fig. 11).
2.7.1.4.2. Localización. Una en cada lado, a no más de 20.32 cm (8 in) del extremo derecho; una en cada extremo a no más de 20.32 cm (8 in) del lado izquierdo del carro, medido desde el borde interior del larguero exterior de la escalera a la esquina del carro (ver Fig. 11).
2.7.1.4.3. Instalación. Los peldaños inferiores de las escaleras metálicas sin largueros deben tener guardapiés o proyectarse ascendentemente a no menos de 5.08 cm (2 in) en los extremos, como se muestra en la Fig. 11.
2.7.1.4.3.1. Los largueros de escalera que se extienden 5.08 cm (2 in) o más desde la superficie del carro, deben servir como protecciones para el pie (ver Fig. 11).
2.7.1.4.3.2. La escalera debe asegurarse con tornillos no menores a 1.27 cm (1/2 in) con tuercas externas o con remaches no menores a 1.27 cm (1/2 in).
2.7.1.4.4. Claro de la escalera de extremo. Ninguna parte del carro arriba de los largueros de extremo y a menos de 76.20 cm (30 in) del costado del carro, a excepción del cabezal de extremo, flecha del freno de mano, volante del freno de mano, escalón de freno, pasillo de techo y palanca de desacoplar, puede extenderse a más de 30.48 cm (12 in) desde un plano vertical paralelo al extremo del carro que pasa por la superficie interior de la muela cerrada cuando el acoplador está comprimido, y ninguna parte del extremo del carro excepto las indicadas en este párrafo se debe prolongar más allá del plano de la superficie exterior del cabezal de extremo.

Fig. 11 Escaleras.
2.7.1.5. Pasamanos laterales.
2.7.1.5.1. Dimensiones. Diámetro mínimo de 1.59 cm (5/8 in), hierro forjado, acero u otro material de resistencia equivalente (ver Fig. 12 (a)).
2.7.1.5.1.1. Longitud mínima de claro de 40.64 cm (16 in), preferentemente de 60.96 cm (24 in). Claro mínimo de 5.08 cm (2 in), preferentemente de 6.35 cm (2 1/2 in) (ver Fig. 12 (b)).
2.7.1.5.2. Localización. Horizontal (ver Fig. 12 (b)); uno cerca de cada extremo y en cada lado del carro, los pasamanos no deben ser menores de 60.96 cm (24 in) y no más de 76.20 cm (30 in) sobre la línea central del acoplador, excepto si el peldaño de la escalera es un pasamanos.
2.7.1.5.2.1. La distancia del extremo exterior del pasamanos no debe ser mayor a 20.32 cm (8 in) del extremo del carro (ver Fig. 12 (a) y (b)).
2.7.1.5.3. Instalación. Los pasamanos laterales deben asegurarse apropiadamente con tornillos de no menos de 1.27 cm (1/2 in) con tuercas externas o con remaches de no menos de 1.27 cm (1/2 in).

(a) Pasamanos laterales. Especificaciones...
 

(b) Pasamanos laterales. Especificaciones (...Continuación)
Fig. 12 Pasamanos laterales.
2.7.1.6. Pasamanos horizontales de extremo.
2.7.1.6.1. Dimensiones.
2.7.1.6.1.1. Diámetro mínimo de 1.59 cm (5/8 in), de hierro forjado u acero.
2.7.1.6.1.2. Longitud mínima "A" del claro de 40.64 cm (16 in), preferentemente de 60.96 cm (24 in) (ver Fig. 13 (a) y (b)).
2.7.1.6.1.3. Claro mínimo "B" o "C" de 5.08 cm (2 in), preferentemente de 6.35 cm (2 1/2 in) (ver Fig. 13 (a) y (b)).
2.7.1.6.2. Localización. Uno cerca de cada extremo y en cada lado del carro, los pasamanos no deben ser menores de 60.96 cm (24 in) y no más de 76.20 cm (30 in) sobre la línea central del acoplador, excepto si el peldaño de la escalera es un pasamanos de extremo.
2.7.1.6.2.1. La distancia del extremo exterior del pasamanos no debe ser mayor de 40.64 cm (16 in) del lado del carro. Véase Fig. 13 (b).
2.7.1.6.2.2. Uno cerca de cada lado de cada extremo del carro sobre el cabezal o su cubierta, proyectándose hacia fuera y hacia abajo.
2.7.1.6.3. Instalación. Los pasamanos de extremo deben estar apropiadamente asegurados con tornillos de no menos 1.27 cm (1/2 in), con las tuercas hacia afuera, o con remaches de no menos de 1.27 cm (1/2 in). Cada pasamanos inferior debe tener un guardapiéo protección de 5.08 cm (2 in) de alto cerca del extremo interior, preferentemente de 6.35 cm (2 1/2 in) (ver Fig. 13 (b)).

(a)
 

(b)
Fig. 13. Pasamanos horizontales de extremo.
2.7.1.7. Pasamanos verticales de extremo.
2.7.1.7.1. Dimensiones. Diámetro mínimo de 1.59 cm (5/8 in), de hierro forjado o acero. Longitud mínima de claro de 45.72 cm (18 in), preferentemente de 60.96 cm (24 in). Claro mínimo de 5.08 cm (2 in), preferentemente de 6.35 cm (2 1/2 in).
2.7.1.7.2. Localización. En cada extremo del carro del lado opuesto a la escalera, a no más de 20.32 cm (8 in) desde el costado del carro; la distancia del extremo inferior del pasamanos no debe ser menor de 60.96 cm (24 in) ni mayor de 76.20 cm (30 in) por encima de la línea central del acoplador.
2.7.1.7.3. Instalación. Los pasamanos laterales deben asegurarse apropiadamente con tornillos de no menos de 1.27 cm (1/2 in), con tuercas externas, o con remaches de no menos de 1.27 cm (1/2 in).
2.7.1.8. Palancas de desacoplar.
2.7.1.8.1. Las palancas de desacoplar del diseño mostrado en la Fig. 14 o similar, deben cumplir con los siguientes límites: las manivelas no deben estar a más de 30.48 cm (12 in), preferentemente a 22.86 cm (9 in) del lado del carro. Los brazos de elevación centrales no deben tener menos de 17.78 cm (7 in) de largo.
2.7.1.8.1.1. El extremo de las manivelas debe extenderse a no menos de 10.16 cm (4 in) por debajo de la parte inferior del larguero de extremo o debe dar un claro mínimo de 5.08 cm (2 in) alrededor de la manivela. La caída mínima de las manivelas debe ser de 30.48 cm (12 in), máximo 38.10 cm (15 in) en total (ver Fig. 14).
2.7.1.8.1.2. Las manivelas de las palancas de desacoplar de tipo "vaivén" o "de empuje" no deben estar a menos de 45.72 cm (18 in) desde la parte superior del riel.
2.7.1.8.2. Localización. Una en cada extremo del carro. Cuando se use una palanca simple se debe colocar en el lado izquierdo del extremo del carro.
 

Fig. 14 Palanca de desacoplar.
2.7.1.9. Repisas transversales de extremo.
2.7.1.9.1. Dimensiones. Ancho no menor a 20.32 cm (8 in); longitud no menor a 152.40 cm (60 in) (ver Fig. 15 (b)).
2.7.1.9.2. Localización. Una centrada en cada extremo del carro, entre los extremos internos de los pasamanos, a no más de 20.32 cm (8 in) por encima de la parte superior del larguero central (ver Fig. 15).
2.7.1.9.3. Instalación. Cada repisa de extremo debe asegurarse apropiadamente por lo menos de tres soportes metálicos con una sección transversal de 0.95 cm (3/8 in) por 3.81 cm (1 1/2 in), y deben estar asegurados al cuerpo del carro con tornillos o remaches de no menos de 1.27 cm (1/2 in).
2.7.1.9.3.1. Cuando se use un aparejo de tracción convencional o un dispositivo de amortiguamiento que tenga una carrera longitudinal inferior a 15.24 cm (6 in), la parte exterior de la esquina de cada repisa de extremo debe estar a no menos de 30.48 cm (12 in) desde un plano vertical paralelo al extremo del carro y pasando a través de la parte interior de la cara de la muela estando cerrada en posición de jalar (ver Fig. 15 (b)).
2.7.1.9.3.2. Cuando se use un dispositivo de amortiguamiento de carrera longitudinal de 15.24 cm (6 in) o más, la esquina exterior de cada repisa de extremo debe estar a no menos de 15.24 cm (6 in) desde un plano vertical paralelo al extremo del carro, pasando a través de la parte interior de la cara de la muela estando cerrada en posición de jalar, y el dispositivo de amortiguamiento plenamente comprimido (ver Fig. 15 (b)).
2.7.1.9.3.3. La superficie para pisar debe tener un diseño antiderrapante y de construcción con espacio suficiente para permitir la eliminación de cualquier material resbaloso (ver Fig. 15).

(a)
 

(b)
Fig. 15 Repisas transversales de extremo.
2.7.1.10. Barras de acoplamiento para carros de carga de altura estándar. En carros que estén equipados con conexión de barra o zanco de tiro, la altura máxima de las barras de acoplamiento (medida perpendicularmente desde el nivel superior del hongo del riel al centro de la barra de acoplamiento) debe ser de 87.63 cm (34 1/2 in), y la altura mínima debe ser de 80.01 cm (31 1/2 in).
2.7.1.11. Aditamentos adicionales para carros tanque.
2.7.1.11.1. Escalera de repisa de domo.
2.7.1.11.1.1. Dimensiones.
2.7.1.11.1.1.1. Área mínima de la sección transversal de los largueros de 0.95 cm (3/8 in) por 3.81 cm (1 1/2 in), de hierro forjado o acero.
2.7.1.11.1.1.2. Longitud libre mínima en el peldaño de 35.56 cm (14 in).
2.7.1.11.1.1.3. El espaciamiento máximo entre los peldaños de la escalera debe ser de 35.56 cm (14 in).
2.7.1.11.1.1.4. El espaciamiento entre los peldaños de las escaleras laterales debe ser uniforme con una variación máxima de 5.08 cm (2 in).
2.7.1.11.1.1.5. Los peldaños deben ser de hierro o acero; con un diámetro mínimo de 1.59 cm (5/8 in).
2.7.1.11.1.1.6. Claro mínimo de peldaños con el cuerpo del carro, 5.08 cm (2 in), preferentemente de 6.35 cm (2 1/2 in).
2.7.1.11.1.2. Localización. Una en cada centro del costado del carro.
2.7.1.11.1.3. Instalación. La escalera debe asegurarse con tornillos no menores a 1.27 cm (1/2 in), con tuercas por fuera o con remaches no menores de 1.27 cm (1/2 in).
2.7.1.11.2. Plataforma de extremo.
2.7.1.11.2.1. Dimensiones.
2.7.1.11.2.1.1. Ancho mínimo de 25.40 cm (10 in).
2.7.1.11.2.1.2. Espesor mínimo de 4.44 cm (1 3/4 in).
2.7.1.11.2.2. Localización. Uno en cada extremo extendiéndose de lado a lado del carro a una distancia igual o mayor que cualquier parte del carro.
2.7.1.11.2.3. El borde exterior de la plataforma de extremo debe extenderse a no menos de 17.78 cm (7 in) sobre la parte cilíndrica del tonel y del barandal de seguridad.
2.7.1.11.2.4. Instalación. Plataforma de extremo. Deben estar aseguradas correctamente al larguero central corto y prevenir su deformación.
2.7.1.11.3. Escalera y barandal de seguridad del domo.
2.7.1.11.3.1. Dimensiones escaleras. Largueros de escaleras de mano, 0.95 cm (3/8 in) por 5.08 cm (2 in), fabricados de hierro forjado o acero. Un tubo reforzado de 3.17 cm (1 1/4 in) debe considerarse como equivalente.
2.7.1.11.3.2. El diámetro mínimo de los peldaños de la escalera debe ser de 1.59 cm (5/8 in) de hierro forjado o acero. Longitud mínima de los peldaños de 35.56 cm (14 in). Espaciamiento máximo entre peldaños de 48.26 cm (19 in). Claro mínimo de peldaños y largueros, 5.08 cm (2 in), preferentemente de 6.35 cm (2 1/2 in). La plataforma de operación debe tener un ancho mínimo de 17.78 cm (7 in) y espesor mínimo de 4.44 cm (1 3/4 in) y barandales/pasamanos de 3.17 cm (1 1/4 in), de hierro forjado o tubo de acero.
2.7.1.11.3.3. La escalera debe estar localizada al centro en ambos lados del carro. El barandal/pasamanos debe rodear a la plataforma de operación, al pasillo y a los accesorios usados en la carga y descarga del tanque.
2.7.1.11.3.4. El barandal debe estar abierto únicamente en las escaleras en donde debe extenderse en dirección vertical hacia abajo, y debe sujetarse a la plataforma, con un máximo ancho de apertura de 60.96 cm (24 in).
2.7.1.11.3.5. Las escaleras de mano deben sujetarse firmemente a la plataforma de operación.
2.7.1.11.3.6. La parte inferior de la escalera debe sujetarse de forma tal que se prevenga cualquier movimiento. La plataforma de operación debe estar debidamente sujeta al tanque para prevenir deformaciones y proporcionar seguridad adicional. El barandal/pasamanos debe estar asegurada con cuatro postes de esquina, mismos que deben sujetarse al tanque o plataforma de operación.
2.7.1.11.4. Barandal/pasamanos de plataforma de extremo.
2.7.1.11.4.1. Dimensiones.
2.7.1.11.4.1.1. Diámetro mínimo de 2.22 cm (7/8 in) empleando hierro forjado, acero o tubería de 3.18 cm (1 1/4 in).
2.7.1.11.4.1.2. Claro mínimo de 6.35 cm (2 1/2 in).
2.7.1.11.4.2. Localización. El barandal/pasamanos debe extenderse horizontalmente de lado a lado del carro a no menos de 91.44 cm (36 in) ni más de 137.16 cm (54 in) arriba de la plataforma de extremo, y debe extenderse y proyectarse hacia abajo de la plataforma a una distancia de hasta 7.62 cm (3 in).
2.7.1.11.4.3. El barandal/pasamanos debe de estar localizado a no más de 15.24 cm (6 in) del borde interior de la plataforma.
2.7.1.11.4.4. Instalación. Deben estar sujetas en el centro del carro y en los extremos extendiéndose hacia abajo en los extremos y sujetándose a la plataforma.
2.7.1.11.5. Barandal lateral.
2.7.1.11.5.1. Dimensiones.
2.7.1.11.5.1.1. Sección tubular de 3.18 cm (1 1/4 in).
2.7.1.11.5.1.2. Claro mínimo de 6.35 cm (2 1/2 in).
2.7.1.11.5.2. Localización. Una en cada lado en toda la longitud del tanque a una distancia no menor de 129.54 cm (51 in) de la línea central del carro, excepto en donde haya escaleras laterales o gabinetes, el barandal lateral debe de estar sujeto firmemente a la escalera o al cuerpo del carro.
2.7.1.11.5.3. Instalación. Deben estar sujetos correctamente a la plataforma de extremo y sujetadas desde el carro a intervalos no mayores de 3.04 m (10 ft).
2.7.1.11.5.3.1. En tanques cubiertos con chaquetones, los refuerzos de metal deben asegurarse al cuerpo para sujetarse debidamente a los soportes asegurando los aditamentos de seguridad (con excepción de los soportes de las plataformas de operación), pueden ser asegurados a los chaquetones con refuerzos de metal en los puntos de sujeción; los refuerzos deben extenderse cuando menos a 5.08 cm (2 in) desde la línea central de los barrenos de los remaches.
2.7.1.11.5.3.2. Los soportes de las plataformas de operación deben asegurarse al chaquetón reforzándolo con cinchos.
2.7.1.11.5.3.3. Cuando los aditamentos de seguridad se instalen en el chaquetón que cubre el tanque, el chaquetón debe asegurarse para evitar su movimiento.
2.7.1.12. Carros de construcción especial
2.7.1.12.1. Los carros de construcción especial no considerados en la sección anterior de esta Norma, en relación con pasamanos, repisas, escaleras, frenos de mano y estribos pueden considerarse de construcción especial, pero deberán tener, en la medida de lo posible, el mismo complemento de pasamanos, repisas, escaleras, frenos de mano y estribos según requiera para los carros del tipo aproximado más homólogo.
2.8. Estencilado de los carros
2.8.1. Las marcas de estencilado deben aparecer en forma legible, tal como se muestra en la Fig. 16.
2.8.2. Las iniciales de la empresa ferroviaria o propietario del carro y el número del carro deben estar marcados (estencilados), de tamaño no menor a 17.78 cm (7 in) de alto en los costados y 10.16 cm (4 in) de alto en los extremos del carro. La fecha de construcción solo debe marcarse en los costados del carro con letras y números que no deben ser menores a 2.54 cm (1 in) de alto, tal como se muestra en la Fig. 16.
2.8.3. Los números y leyendas para indicar la tara y el límite de carga en un carro deberá marcarse en la forma como se indica en el esquema inferior de la Fig. 16.
2.8.4. El límite de carga de un carro no debe ser excedido bajo ningún motivo.
2.8.5. El estilado se debe realizar siempre que no exista una clara distinción de los símbolos y letras que lo componen o cuando se vea afectado por las siguientes condiciones:
2.8.5.1. Cuando alguna de las letras o símbolos no sea legible.
2.8.5.2. Cuando tenga símbolos incompletos.
2.8.5.3. Cuando esté cubierto de rayones o manchas (óxido, pintura, etc.).
2.8.5.4. Cuando presente pintura desprendida o desgastada.

Fig. 16 Estencilado.
2.9. Expediente de descripción del mantenimiento
2.9.1. El concesionario, asignatario o permisionario debe contar con un expediente de mantenimiento por cada ejecución de su programa de mantenimiento a cada carro, que describa la manera y el registro en que se llevan a cabo las tareas de mantenimiento, las cuales incluyen inspecciones, controles, mediciones, sustituciones, ajustes y reparaciones, entre otros aspectos técnicos.
2.9.2. El concesionario, asignatario o permisionario debe guardar el histórico de los expedientes de mantenimiento de cada carro de su propiedad por al menos 6 años.
2.9.3. Para los carros que no sean propios, deberá conservar por 6 años el historial de reparaciones hechas en patio y taller.
2.9.4. El expediente de mantenimiento debe contener lo siguiente:
2.9.4.1. Una lista de todos los elementos sujetos a las disposiciones de esta NOM que pertenecen al Equipo Ferroviario de Arrastre.
2.9.4.2. Una lista de piezas que requieran reemplazo, con sus descripciones técnicas y funcionales, y causas de remplazo. Se debe adjuntar documentación de adquisición de refacciones, con fotografías de la pieza que fue sustituida y de la refacción de todos aquellos carros reparados en una vía de reparación o en un taller ya sea propio o de contrato (externo).
2.9.4.3. Para cada elemento se deben especificar los valores permisibles de servicio y las restricciones de funcionamiento de acuerdo con el manual de mantenimiento del fabricante.
2.9.4.4. Programa de mantenimiento, es decir, el conjunto estructurado de tareas para efectuar el mantenimiento, incluidas las actividades, los procedimientos y los materiales para llevar a cabo las ejecuciones de éste. La descripción de este conjunto de tareas incluye:
2.9.4.4.1. Instrucciones y diagramas necesarios para la correcta reparación, así como para el correcto montaje y desmontaje de las piezas sustituibles.
2.9.4.4.2. Criterios de mantenimiento.
2.9.4.4.3. Materiales, máquinas y herramientas necesarios para la tarea.
2.9.4.4.4. Medidas y equipos para la seguridad y protección personal.
2.9.4.4.5. Fecha de su último servicio y de su próximo servicio de mantenimiento.
2.9.5. En el expediente de mantenimiento deben verse reflejadas las operaciones que demuestren que se ejecutan a plena cabalidad todas las disposiciones establecidas en esta NOM, por lo que deben estar marcadas y señaladas para su eficaz consulta durante la Evaluación de la Conformidad.
2.9.6. La inspección será realizada por personal del servicio ferroviario calificado
2.9.7. El equipo ferroviario de arrastre o de trabajo que no reúna los requisitos de seguridad establecidos en la presente NOM, sólo podrá ser movido para su reparación.
2.9.7.1. En este supuesto, las unidades de arrastre que se encuentren vacías no deberán colocarse para ser cargadas.
2.9.7.2. Las unidades cargadas no serán movidas para su descarga a menos que:
2.9.7.2.1. Estén consignadas para un destino en la vía férrea del concesionario que las esté moviendo entre el sitio en donde fueron encontradas defectuosas y el lugar en el que la reparación será realizada
2.9.7.2.2. La descarga sea necesaria para repararlas con la debida seguridad, o lo solicite el usuario y sea posible efectuar las maniobras de descarga en forma segura.
2.9.7.3. Por cada Inspección que se realice deberá hacerse un reporte que contendrá, cuando menos, el nombre del inspector y del concesionario, asignatario o permisionario, según corresponda, la matrícula del Equipo Ferroviario, el lugar, fecha y hora de la Inspección, la descripción, en su caso, de los defectos o fallas detectadas y la firma del inspector que la practicó.
2.9.7.4. Las inspecciones a que se refiere el presente capítulo se realizarán sin perjuicio de las obligaciones de conservación y mantenimiento que establezcan las Normas correspondientes.
2.10. Avance tecnológico
El avance tecnológico podría exigir nuevas especificaciones y/o nuevos métodos de evaluación. Para los carros con nuevos diseños se deberán ejecutar las disposiciones de esta NOM para los elementos que aplique; y para aquellos elementos del carro con nuevo diseño que no se contemplen, el concesionario, asignatario o permisionario deberá ejecutar las operaciones de mantenimiento a los carros de acuerdo con lo establecido en los manuales del fabricante, con el fin de salvaguardar la integridad de los carros, por lo cual, tales ejecuciones se deberán considerar, ejecutar, justificar y registrar en el expediente de mantenimiento como se detalla en el inciso 2.9.
3. Procedimiento de Evaluación de la Conformidad
3.1. Directrices
3.1.1. La Evaluación de la Conformidad del cumplimiento de la presente Norma Oficial Mexicana se llevará a cabo en términos de lo establecido en ésta y en la Ley de Infraestructura de la Calidad.
3.1.2. En todo tren que sea ofrecido para servicio se deberá cumplir con las disposiciones indicadas en este documento.
3.1.3. Para efectos del presente PEC, se entenderá como "Conformidad" al cumplimiento de las disposiciones establecidas en la presente Norma Oficial Mexicana; mientras que "No Conformidad" al incumplimiento de las disposiciones establecidas en ésta. La "Conformidad" tendrá una vigencia de 2 años.
3.1.4. Para obtener una "Conformidad" para esta Norma Oficial Mexicana el Sujeto Obligado deberá cumplir cabalmente con lo establecido en 3.1.5, en caso contrario, obtendrá una "No Conformidad".
3.1.5. El proceso de evaluación se determinará mediante muestreo, evaluando aleatoriamente la cantidad de trenes que se considere razonable en función del registro de ofrecimiento y programa de salidas y llegadas.
3.1.5.1. Etapa de evaluación A
3.1.5.1.1. En la fecha de realización de la Evaluación de la Conformidad el Sujeto Obligado deberá demostrar a la Unidad de Inspección que cuenta con una carpeta de evidencias con la que compruebe el cumplimiento de las disposiciones de la presente NOM para las disposiciones de seguridad del equipo de arrastre en 2 tantos y en electrónico mediante dispositivo USB. El contenido de la carpeta de evidencias se detalla en la Tabla 3.
Sección
Contenido
1
Portada, firmada por el representante legal del Sujeto Obligado con los siguientes datos:
-      Denominación o Razón social del Sujeto Obligado.
-      Datos de identificación fiscal de las personas (física o moral) responsables de la ejecución de las disposiciones de esta NOM.
-      Documento que acredite que posee conocimientos teóricos y prácticos en la presente NOM con una vigencia no mayor de 2 años.
-      Fecha y lugar donde se está llevando a cabo la Evaluación de la Conformidad.
2
-      Registro de ofrecimiento del tren y programa de salidas y llegadas.
-      Por cada tren inspeccionado previamente a su salida y aprobado para su movimiento por personal calificado se elaborará un documento, mismo que será entregado al personal responsable del tren y contendrá cuando menos:
o    Nombre y firma del inspector.
o    Identificación del tren.
o    Lugar, fecha y hora.
o    Descripción de los defectos encontrados y que no tiene riesgo para su manejo y evidencia de unidades de arrastre retirados de la formación del tren.
o    Marcas de identificación de los carros que forman el tren.
o    Checklist (lista de verificación) con el que se demuestre que fueron ejecutadas las disposiciones especificadas para esta etapa de evaluación.
3
-      Memoria fotográfica que acompañe a las evidencias documentales de la sección 2 de esta tabla. Cada fotografía debe cumplir las siguientes características: Tamaño 10x15 centímetros, resolución mínima de 720 ppp (pixeles por pulgada), a color, sin retoques, formato .jpg. Cada fotografía deberá contener rotulado el nombre de actividad, lugar, georreferenciación en cualquier sistema de referencia, hora y fecha.
       Ejemplo: (Inspección del tren T3; Terminal Pantaco Ferrovalle; 482251.45, 2153240.82, 14Q; 14:45; 04/05/2021). Para lo anterior se permite el empleo de cualquier software.
-      El nombre de cada fotografía debe ser guardada especificando:
"Tipo de prueba_número de identificación del tren.jpg"
Tabla 3. Contenido que debe cumplir la carpeta de evidencias para la etapa de evaluación A.
3.1.5.2. Etapa de evaluación B
3.1.5.2.1. Una vez se demuestre que el Sujeto Obligado cuenta con las carpetas y los registros indicados en la etapa de evaluación A, la Unidad de Inspección, ejecutará la evaluación in situ, de los trenes que sean ofrecidos para servicio según lo indicado en 3.1.5.
3.1.5.2.1.1. Ubicado en el sitio de la salida de tren, se procederá a evaluar las condiciones de seguridad de acuerdo con la presente NOM:
1.     Antes de iniciar con la inspección/verificación, se debe tomar las medidas necesarias de seguridad, hacer de conocimiento del representante del concesionario, asignatario o permisionario, después de tener la certeza de estar en un área segura, en el entendido que de ser necesario el abanderamiento por medio de señalamiento de Bandera Azul, se realizará.
2.     Por cuestiones de tiempo, y para no contribuir a la demora de un tren (ya sea de inicio o en un punto intermedio) de ser necesario se realizará el análisis del cumplimiento de la presente norma por medio de un muestreo:
a)   Una vez seleccionado el tamaño de la muestra, y teniendo la lista de la formación del Tren, se analizará el cumplimiento de acuerdo a la presente NOM.
b)   Ninguna unidad de arrastre debe salir con defectos indicados en la presente NOM, de ser el caso serán retirados inmediatamente de la formación.
3.1.6. Los resultados de la evaluación ejecutada in situ deberán ser asentados en un acta circunstanciada de hechos, la cual debe estar acompañada por fotografías bajo las características especificadas en la sección 3 de la Tabla 3 y videograbación. Esta acta debe ser firmada por la Unidad de Inspección, los responsables del Sujeto Obligado de acompañar a ésta y dos testigos presentes en la ejecución de la evaluación.
3.1.7. Si se detecta que entre los responsables y sujetos obligados participantes de este PEC se ejercen malas prácticas de Evaluación de la Conformidad, y existe un conflicto de interés o una afectación a los objetivos legítimos de interés público que persigue esta Norma Oficial Mexicana, se procederá con las sanciones conforme a lo establecido en las leyes aplicables.
3.1.8. La Entidad de Acreditación y los Organismos de Evaluación de la Conformidad deben cumplir con las disposiciones en términos de la Ley de Infraestructura de la Calidad, para poder participar en la Evaluación de la Conformidad de esta Norma Oficial Mexicana.
3.1.8.1. Las Unidades de Inspección que realicen la Evaluación de la Conformidad referida en 3.1.5 deben ser del Tipo A, B o C de acuerdo con la NMX-EC-17020- IMNC "Requisitos para el funcionamiento de diferentes tipos de unidades (organismos) que realizan la verificación (inspección)" o la vigente que la sustituya.
3.1.8.2. Los equipos e instrumentos calibrados deben contar con trazabilidad a los patrones en términos de la Ley de Infraestructura de la Calidad.
3.1.9. Bajo justificación técnica y en situaciones particulares, se podrán emplear disposiciones que no hayan sido consideradas al momento de emisión de la presente Norma Oficial Mexicana, siempre y cuando se protejan los objetivos legítimos y de interés público perseguidos, y previa consulta de la Agencia.
4. Verificación y vigilancia
4.1. Aplicación de la verificación y la vigilancia
4.1.1. La verificación y vigilancia del cumplimiento de lo dispuesto en la presente Norma Oficial Mexicana está a cargo de la Agencia, conforme a sus respectivas atribuciones.
4.1.2. La verificación de la presente Norma Oficial Mexicana se llevará a cabo por la Agencia en el momento en que ésta lo considere pertinente conforme a lo establecido en el Procedimiento de Evaluación de la Conformidad de esta Norma Oficial Mexicana.
4.1.3. La Agencia podrá suspender o cancelar la aprobación y sancionar a la Unidad de Inspección y a la Entidad de Acreditación que emitió las acreditaciones a dicha Unidad, cuando se detecten irregularidades bajo lo dispuesto en los artículos 58 y 59 de la Ley de Infraestructura de la Calidad y otras disposiciones aplicables.
5. Sanción
El incumplimiento a las disposiciones contenidas en la presente Norma Oficial Mexicana será sancionado por la Agencia conforme a lo establecido en la Ley de Infraestructura de la Calidad y demás ordenamientos que resulten aplicables, sin perjuicio de las que impongan otras autoridades en el ejercicio de sus atribuciones o de la responsabilidad civil o penal que resulte.
6. Referencias a estándares para su implementación
·  Norma Mexicana NMX-EC-17011-IMNC-2018.
·  Norma Mexicana NMX-EC-17020-IMNC-2014.
7. Concordancia con normas internacionales
Esta Norma Oficial Mexicana no es equivalente (NEQ) con alguna Norma Internacional, por no existir ésta última al momento de su elaboración.
8. Bibliografía
·  Regulaciones Federales (Code of Federal Regulations) CFR 49 Parte 215.- Estándares de Seguridad para Carros de Carga (Railroad Freight Car Safety Standards), impreso y publicado por la Administración Federal de Ferrocarriles (Federal Railroad Administration), perteneciente al Departamento de Transportes (Departament of Transportation) de los Estados Unidos de América.
·  Regulaciones Federales (Code of Federal Regulations) CFR 49 Parte 231.- Estándares de Seguridad para Carros de Carga (Railroad Freight Car Safety Standards), impreso y publicado por la Administración Federal de Ferrocarriles (Federal Railroad Administration), perteneciente al Departamento de Transportes (Departament of Transportation) de los Estados Unidos de América.
·  Manual de Campo Reglas de Intercambio, vigente; editado por A.A.R.
·  ARTF. (2021). Anuario Estadístico 2020. Ciudad de México: Dirección de Estadística Ferroviaria.
·  COFEMER. (2014). Guía para Evaluar el Impacto de la Regulación. Ciudad de México: COFEMER.
·  Ferrocarril Mexicano. (2018). Reporte anual 2017. Ciudad de México: Ferromex.
·  Ferrocarril Mexicano. (2018). Reporte Anual 2018. Ciudad de México: Ferromex.
·  Ferrocarril Mexicano. (2019). Reporte Anual 2019. Ciudad de México: Ferromex.
·  Ferrocarril Mexicano. (2020). Reporte Anual 2020. Ciudad de México: Ferromex.
9. Clasificación
NOM-006-ARTF-2023, Sistema Ferroviario-Operación-Equipo de arrastre ferroviario al servicio de carga-Disposiciones de seguridad.
TRANSITORIOS
PRIMERO. La presente Norma Oficial Mexicana, una vez que sea publicado en el Diario Oficial de la Federación como norma definitiva, entrará en vigor a los 180 días naturales contados a partir del día natural inmediato siguiente al día de su publicación.
SEGUNDO. A la entrada en vigor de la presente Norma Oficial Mexicana se abroga la Norma Oficial Mexicana NOM-025-SCT2-2016, Disposiciones de seguridad para el equipo de arrastre ferroviario al servicio de carga.
TERCERO. Con fundamento en lo establecido en el artículo 78 de la Ley General de Mejora Regulatoria la información aplicable para dar cumplimiento al Procedimiento de Evaluación de la Conformidad podrá ser presentada a través de los medios electrónicos que establezca la Agencia.
Ciudad de México, a 28 de enero de 2024.- El Titular de la Agencia Reguladora de Transporte Ferroviario y Presidente del Comité Consultivo Nacional de Normalización de Transporte Ferroviario, Evaristo Iván Ángeles Zermeño.- Rúbrica.