PROYECTO de Norma Oficial Mexicana PROY-NOM-001-ARTF-2023, Sistema ferroviario-Infraestructura-Durmientes monolíticos-Especificaciones y métodos de prueba.

Al margen un sello con el Escudo Nacional, que dice: Estados Unidos Mexicanos.- COMUNICACIONES.- Secretaría de Infraestructura, Comunicaciones y Transportes.- Agencia Reguladora del Transporte Ferroviario.

EVARISTO IVÁN ÁNGELES ZERMEÑO, Titular de la Agencia Reguladora del Transporte Ferroviario y Presidente del Comité Consultivo Nacional de Normalización de Transporte Ferroviario (CCNN-TF), con fundamento en los artículos 17, 36 fracciones VII, VIII, XII y XXVII de la Ley Orgánica de la Administración Pública Federal; 4 de la Ley Federal de Procedimiento Administrativo; 3, fracciones VII, VIII y IX, 4, fracción XVI, 10, fracciones VII, XI, XII y XV, 24, 25, 30 y 35 de la Ley de Infraestructura de la Calidad; 6 Bis, fracciones I y XIX de la Ley Reglamentaria del Servicio Ferroviario; 40 del Reglamento Interior de la Secretaría de Comunicaciones y Transportes, y Segundo del Decreto por el que se crea la Agencia Reguladora del Transporte Ferroviario, como un órgano desconcentrado de la Secretaría de Comunicaciones y Transportes, y
CONSIDERANDO
Que conforme al artículo 28, párrafos cuarto y quinto, de la Constitución Política de los Estados Unidos Mexicanos, los ferrocarriles son un área prioritaria para el desarrollo nacional en términos del artículo 25 del ordenamiento en mención y que el Estado, al ejercer en ella su rectoría, protegerá la seguridad y la soberanía de la Nación, y al otorgar concesiones o permisos mantendrá o establecerá el dominio de las respectivas vías de comunicación de acuerdo con las leyes de la materia.
Que el 26 de enero de 2015, se publicó en el Diario Oficial de la Federación el Decreto por el que se reforman y adicionan diversas disposiciones de la Ley Reglamentaria del Servicio Ferroviario, el cual señala en los artículos 2, fracción I y Transitorio Segundo, la creación de la Agencia Reguladora del Transporte Ferroviario, como un órgano desconcentrado de la Secretaría de Comunicaciones y Transportes.
Que con fecha 18 de agosto de 2016, se publicó en el Diario Oficial de la Federación el Decreto por el que se crea la Agencia Reguladora del Transporte Ferroviario como un órgano desconcentrado de la Secretaría de Comunicaciones y Transportes (DECRETO), ahora Secretaría de Infraestructura, Comunicaciones y Transportes.
Que la Agencia Reguladora del Transporte Ferroviario tiene dentro de su objeto, establecido en el artículo SEGUNDO del DECRETO, el de regular, promover, vigilar y verificar la construcción, operación, explotación, conservación, mantenimiento de la infraestructura ferroviaria.
Que en la Ley Reglamentaria del Servicio Ferroviario en su artículo 6 Bis, fracciones I, II y XVI establecen la atribución de la Agencia Reguladora del Transporte Ferroviario para determinar las características y especificaciones técnicas de las vías férreas, verificar que las mismas cumplan con las disposiciones aplicables y emitir disposiciones de observancia obligatoria para los concesionarios, permisionarios y usuarios de los servicios ferroviarios.
Que el transporte ferroviario en nuestro país ha presentado un desarrollo considerable en los últimos años, lo que significa un aumento en la infraestructura ferroviaria, y los elementos que la conforman tales como los durmientes de concreto cobran una gran importancia, ya que, constituyen el medio que soportará las cargas estáticas y dinámicas del equipo ferroviario, razón por la que es necesario contar con los más altos estándares regulatorios para diseñar y fabricar dichos elementos.
Que se requiere de mecanismos que dicten los parámetros de diseño y fabricación de durmientes de concreto que sean adecuados con el fin de evitar en la medida de lo posible problemas de seguridad asociados con la calidad de su diseño, de sus agregados y demás componentes, así como de su proceso de fabricación, asegurando de este modo que estos elementos estructurales cumplan con los más altos estándares de calidad.
Que el durmiente de concreto es uno de los elementos más importantes de la superestructura de la vía en conjunto con los elementos de sujeción y de apoyo, por lo que es necesario que los mismos se encuentren en condiciones óptimas para su desempeño.
Que el durmiente de concreto debe contar con parámetros que cumplan satisfactoriamente con las funciones de mantener el escantillón de la vía, la transmisión de las cargas y los esfuerzos del riel al balasto durante su vida útil.
Que las normas internacionales, en lo referente al diseño y fabricación de durmientes de concreto han efectuado algunos cambios en los parámetros y criterios de aceptación, por lo que es pertinente que la regulación vigente se modifique con la finalidad de tener una Norma Oficial Mexicana actualizada y alineada a esos estándares y prácticas internacionales, aplicable a los proyectos prioritarios de desarrollo en materia ferroviaria que se llevan a cabo en nuestro país.
Que el Comité Consultivo Nacional de Normalización de Transporte Ferroviario (CCNN-FT), en su Segunda Sesión Extraordinaria del 2023, celebrada el día 4 de mayo de 2023, aprobó el Proyecto de Norma Oficial Mexicana PROY-NOM-001-ARTF-2023, Sistema Ferroviario - Infraestructura - Durmientes Monolíticos -Especificaciones y Métodos de Prueba, a efecto de que en un plazo de 60 días naturales contados a partir de su fecha de publicación, los interesados presenten sus comentarios ante el CCNN-TF, ubicado en Avenida Universidad número 1738, Edificio B Planta baja, Colonia Barrio Santa Catarina, Alcaldía Coyoacán, C.P. 04010, CDMX, teléfono 55-5723-9300, extensión 73463, o bien a los correos electrónicos: artf.ccnntf@sct.gob.mx, miguel.ramirezs@sct.gob.mx y martha.zapata@sct.gob.mx, para que en los términos de la ley de la materia se consideren en el seno del Comité que lo propuso, toda vez que la Plataforma Tecnológica Integral de Infraestructura de la Calidad a que se refiere el artículo 35 de la Ley de Infraestructura de la Calidad se encuentra en desarrollo.
En virtud de lo anterior, en cumplimiento a lo que dispone el artículo 35, fracción V y 38 de la Ley de Infraestructura de la Calidad, he tenido a bien ordenar la publicación en el Diario Oficial de la Federación del Proyecto de Norma Oficial Mexicana PROY-NOM-001-ARTF-2023, Sistema Ferroviario-Infraestructura-Durmientes Monolíticos-Especificaciones y Métodos de Prueba, para que, en un plazo de 60 días naturales contados a partir de su fecha de publicación, los interesados presenten sus comentarios ante el Comité Consultivo Nacional de Normalización de Transporte Ferroviario.
Ciudad de México, a 25 de mayo de 2023.- El Titular de la Agencia Reguladora del Transporte Ferroviario y Presidente del Comité Consultivo Nacional de Normalización de Transporte Ferroviario, Evaristo Iván Ángeles Zermeño.- Rúbrica.
PROYECTO DE NORMA OFICIAL MEXICANA PROY-NOM-001-ARTF-2023, SISTEMA FERROVIARIO-
INFRAESTRUCTURA-DURMIENTES MONOLÍTICOS-ESPECIFICACIONES Y MÉTODOS DE PRUEBA
PREFACIO
La elaboración del presente Proyecto de Norma Oficial Mexicana es competencia del Comité Consultivo Nacional de Normalización de Transporte Ferroviario (CCNN-TF) integrado por:
·  Administradora de la Vía Corta Tijuana-Tecate
·  Agencia de Seguridad, Energía y Ambiente
·  Agencia Reguladora del Transporte Ferroviario
·  Asociación Mexicana de Agentes de Carga, A.C.
·  Asociación Mexicana de Distribuidores de Gas Licuado y Empresas Conexas, A.C.
·  Asociación Mexicana de Ferrocarriles, A.C.
·  Asociación Nacional de la Industria Química, A.C.
·  Cámara Mexicana de la Industria de la Construcción
·  Cámara Nacional de la Industria del Hierro y el Acero
·  Cámara Nacional de la Industria Molinera de Trigo
·  Cámara Nacional de las Industrias Azucarera y Alcoholera
·  Cámara Nacional del Maíz Industrializado
·  Centro Nacional para la Prevención de Desastres
·  Colegio de Ingenieros Civiles de México, A.C.
·  Colegio de Ingenieros Mecánicos y Electricistas, A.C.
·  Colegio Nacional de Educación Profesional Técnica
·  Comisión Ambiental de la Megalópolis (CAMe)
·  Comisión Nacional de Hidrocarburos
 
·  Comisión Reguladora de Energía
·  Confederación de Cámaras Industriales de los Estados Unidos Mexicanos
·  Consejo Nacional Agropecuario
·  Consejo Nacional de Normalización y Certificación de Competencias Laborales
·  Dirección General de Autotransporte Federal
·  Dirección General de Desarrollo Ferroviario y Multimodal
·  Dirección General de Servicios Técnicos
·  Ferrocarril del Istmo de Tehuantepec, S.A. de C.V. (Corredor Interoceánico del Istmo de Tehuantepec).
·  Ferrocarril Mexicano, S.A. de C.V.
·  Ferrocarril Suburbano, S.A.P.I. de C.V.
·  Ferrosur, S.A. de C.V.
·  FONATUR Tren Maya, S.A. de C.V.
·  Instituto Mexicano de Normalización y Certificación, A.C.
·  Instituto Mexicano del Transporte
·  Instituto Politécnico Nacional
·  Kansas City Southern de México, S.A. de C.V.
·  Línea Coahuila Durango, S.A. de C.V.
·  Mexicana de Acreditación, MAAC, A.C.
·  Organismo Nacional de Normalización y Certificación de la Construcción y Edificación, S.C.
·  Procuraduría Federal del Consumidor
·  Secretaría de Agricultura y Desarrollo Rural
·  Secretaría de Economía
·  Secretaría de Gobernación
·  Secretaría de Medio Ambiente y Recursos Naturales
·  Secretaría de Salud
·  Secretaría de Turismo
·  Secretaría del Trabajo y Previsión Social
·  Servicio de Administración Tributaria
·  Sociedad Internacional de Acreditación, A.C.
·  Universidad Autónoma de Nuevo León
·  Universidad Autónoma del Estado de México
·  Universidad Nacional Autónoma de México
·  Universidad Tecnológica de San Juan del Río
Con el objeto de elaborar el presente Proyecto de Norma Oficial Mexicana, se constituyó un Grupo de Trabajo con la participación voluntaria de los siguientes actores:
·  Instituto Mexicano del Transporte
·  Dirección General de Servicios Técnicos
·  Dirección General de Desarrollo Ferroviario y Multimodal
·  Instituto Mexicano del Cemento y del Concreto, A.C.
·  Impulsora Tlaxcalteca de Industrias, S.A. de C.V.
·  Asociación Mexicana de Ferrocarriles, A.C.
·  Ferrocarril del Istmo de Tehuantepec, S.A. de C.V.
·  Línea Coahuila - Durango, S.A. de C.V.
·  Administradora de la Vía Corta Tijuana Tecate
·  Ferrocarriles Suburbanos, S.A. de C.V.
·  Tren Maya, S.A. de C.V.
·  Ciba Group
·  Universidad Autónoma de Chihuahua
·  Agencia Reguladora del Transporte Ferroviario
·  Instituto Estatal de Capacitación
·  Ferrocarril Mexicano, S.A. de C.V.
·  Ferrosur, S.A. de C.V.
·  Kansas City Southern de México, S.A. de C.V.
·  RCTI de México, S. de R.L. de C.V.
·  Unidad Profesional Interdisciplinaria de Ingeniería Campus Palenque UPIIP
·  Cal y Mayor
·  Instituto Politécnico Nacional
·  Universidad Autónoma del Estado de México
·  Ferrocarril y Terminal del Valle de México, S.A. de C.V.
ÍNDICE
PREFACIO
ÍNDICE
INTRODUCCIÓN
1.     Objetivos, campo de aplicación, objetivos legítimos de interés público
2.     Términos y definiciones
3.     Especificaciones
4.     Procedimiento de Evaluación de la Conformidad
5.     Verificación y vigilancia
6.     Sanción
7.     Referencia a estándares para su implementación
8.     Bibliografía
9.     Clasificación
10.   Concordancia con normas internacionales
11.   Transitorios
12.   Apéndices
INTRODUCCIÓN
En cumplimiento de las disposiciones contenidas en la Ley de Infraestructura de la Calidad, en la presente Norma Oficial Mexicana se establecen de forma integral las disposiciones y parámetros para los materiales, diseño, producción, pruebas a aplicar, inspección de los durmientes de concreto diseñados, fabricados e instalados para el servicio de carga y pasajeros en el Sistema Ferroviario Mexicano.
El durmiente de concreto es la estructura física que sustenta las vías férreas, es soporte estructural del riel donde giran las ruedas de los ferrocarriles. Al durmiente se transmiten los esfuerzos físicos de los trenes que circulan a diario transportando millones de toneladas de carga que incluyen materiales peligrosos, combustibles, materiales de construcción, bienes y productos agropecuarios que constituyen los medios de alimentación de los mexicanos. Esta Norma Oficial Mexicana establece los mecanismos, modos, instrumentos y procedimientos mediante los cuales la autoridad, que cuenta con las atribuciones para verificar la seguridad de la infraestructura ferroviaria, se cerciorará que los durmientes cumplen con la calidad de diseño requerida para su adecuado desempeño, con la finalidad de evitar descarrilamientos u otros accidentes y prevenir daños materiales y humanos.
1. Objetivos, campo de aplicación, objetivos legítimos de interés público
1.1. Objetivo
La presente Norma Oficial Mexicana tiene por objetivo establecer las especificaciones de los materiales y pruebas de control de calidad que deben cumplir los durmientes de concreto para instalarse en las vías generales de comunicación ferroviaria del Sistema Ferroviario Mexicano.
1.2. Campo de aplicación
Esta Norma Oficial Mexicana es aplicable dentro del territorio de los Estados Unidos Mexicanos y los sujetos obligados a su cumplimiento son todas las personas físicas y morales que participan directa o indirectamente dentro del Sistema Ferroviario Mexicano, incluyendo sin limitación a los concesionarios, asignatarios y permisionarios.
1.3. Objetivos legítimos de interés público
Los objetivos legítimos de interés público que persigue esta Norma Oficial Mexicana son:
·  La seguridad nacional.
·  Las obras y servicios públicos.
·  La seguridad vial.
2. Términos y definiciones
Los términos, definiciones y términos abreviados serán los establecidos en la Ley de Infraestructura de la Calidad (LIC), la Ley Reglamentaria del Servicio Ferroviario (LRSF), el Reglamento del Servicio Ferroviario (RSF) y los siguientes:
2.1. ACI
Instituto Estadounidense del Concreto, por sus siglas en inglés American Concrete Institute.
2.2. AREMA
Asociación Estadounidense de Ingeniería y Mantenimiento de Vías Férreas, por sus siglas en inglés American Railway Engineering and Maintenance of Way Association.
2.3. ARTF o Agencia
Agencia Reguladora del Transporte Ferroviario.
2.4. Asiento de riel
El área del durmiente sobre la que descansa el riel.
2.5. ASTM
Sociedad Estadounidense para Pruebas y Materiales, por sus siglas en inglés American Society for Testing and Materials.
2.6. Balasto
Material pétreo seleccionado, producto de la trituración de piedra, que se coloca sobre el sub-balasto, debajo de los durmientes y entre ellos, cuya función es soportar las cargas rodantes y transmitirlas a las terracerías, distribuyéndolas, en la forma que no se produzcan deformaciones perjudiciales en éstas.
2.7. Durmiente
Componente transversal de la vía cuya función es mantener el escantillón y transmitir las cargas del riel al balasto.
2.8. Fijación
Componente o grupo de componentes de un sistema de vía que fija el riel a los durmientes.
2.9. Flexión Positiva
Flexión que produce tensión o reduce la compresión en la superficie inferior del durmiente.
2.10. Flexión Negativa
Flexión que produce tensión o reduce la compresión en la superficie superior del durmiente.
2.11. NMX
Normas Mexicanas, elaboradas por un organismo nacional de normalización, o por la Secretaría de Economía. Establecen los requisitos mínimos de calidad de los productos y servicios, con el objetivo de proteger y orientar a los consumidores.
2.12. NOM
Norma Oficial Mexicana.
2.13. Peralte
Pendiente trasversal que se da en una curva de la vía para evitar que el vehículo sea expelido hacia la parte exterior de la curva por efecto de la fuerza centrífuga.
2.14. Postensado
Método para pretensar concreto armado, en el cual el acero de presfuerzo se tensiona una vez que el concreto ha endurecido.
2.15. Pretensado
Método para pretensar concreto armado, que consiste en tensionar el acero de presfuerzo antes que el concreto endurezca.
2.16. Procedimiento de Evaluación de la Conformidad (PEC)
Conjunto de acciones especificadas que tienen por objeto comprobar que el bien, producto, proceso o servicio cumple con una Norma Oficial Mexicana o Estándar, a través de los medios que para ello se definan en la Ley de Infraestructura de la Calidad y en el Reglamento de la Ley Federal sobre Metrología y Normalización.
3. Especificaciones
3.1. Generalidades
Las siguientes especificaciones aplican a durmientes entre 236 cm (7 ft-9 in) y 274 cm (9 ft) de largo, y entre 20 cm (8 in) y 33 cm (3 in) de ancho en su superficie inferior.
Las prácticas para envío, manejo, aplicaciones para cambios de vía, cruces a nivel u otra sin importar su etapa que emane de lo establecido en los objetivos de la presente NOM, deberán complementarse y ajustarse a lo especificado en las prácticas recomendadas y aplicables sin que éstas afecten las especificaciones de diseño y fabricación.
3.1.1. Espaciado entre durmientes
Estas especificaciones cubren a durmientes con espaciamiento de centro a centro entre 510 mm (20 in) y 760 mm (30 in).
3.1.2. Cargas Laterales
La estabilidad lateral de la vía puede incrementarse disminuyendo el espacio entre durmientes de dimensiones similares, incrementando la masa de los durmientes, incrementando el área de rodamiento final de los durmientes por unidad de longitud de vía, y aumentando la resistencia por fricción entre durmientes y balasto.
Estas especificaciones cubren fijaciones capaces de restringir las cargas laterales individuales de la rueda a riel de hasta 63 kN (14 kips) por 305 mm (1 ft) de vía cuando estas cargas laterales están acompañadas por cargas verticales de magnitud similar.
3.1.3. Rieles
La mayoría de las secciones de riel son capaces de soportar cargas de rueda actuales en espacios entre durmientes de hasta 760 mm (30 in) con un soporte de balasto sin problemas. Se recomienda realizar el cálculo de la tensión máxima de flexión para secciones de riel de menos de 49.6 kg/m (100 lb/yd), en el Apéndice A se ejemplifica un cálculo de ello.
3.1.3.1. Juntas del riel
 
Para lograr los máximos beneficios y economía del uso de durmientes de concreto, se recomienda que, en la vía principal, se utilicen junto un largo de riel soldado. Si los durmientes de concreto son usados en vías atornilladas convencionales o en los extremos de un riel soldado, no se permite que la junta de dos rieles se realice sobre un durmiente de concreto.
3.2.  Materiales
Las siguientes especificaciones deben cumplirse sin importar su etapa de ejecución, debiendo prestar la máxima atención a las propiedades del concreto que afecten a la durabilidad, tales como la reacción álcali agregado, aire incluido, uso de aditivos, reacciones con sulfato, reacción álcali-sílice (ASR) y formación retardada de etringita (DEF).
Los estándares internacionales, métodos de prueba sus equivalencias en Territorio Nacional aquí referidos, se aceptarán para avalar la calidad de los materiales. A manera indicativa, mas no limitativa, en el Apéndice B se enlistan algunas NMX indicando las equivalencias mencionadas; se recomienda emplear la versión indicada o la vigente que la sustituya.
3.2.1. Concreto
La resistencia mínima de diseño a la compresión del concreto a los 28 días será de 48 MPa (7000 psi) según ASTM C 39. Los cilindros de prueba se fabricarán y almacenarán como se especifica de acuerdo con la ASTM C 31.
3.2.1.1. Cemento
El cemento será del tipo portland y cumplirá con los requisitos de la especificación ASTM C 150. El contenido de álcali de cemento de Na2O equivalente (Na2O + 0.658 K2O) debe ser lo más bajo posible y como máximo de 0.6 %.
3.2.1.2. Agregados
Todos los agregados deben cumplir con las especificaciones de ASTM C 33 y con la Clase 4S de la Tabla 3 del ASTM citado.
El análisis petrográfico de acuerdo con la normativa ASTM C 295 deberá realizarse en cada nueva fuente de agregado por explotar, nuevos frentes o estratos en canteras existentes. En el caso de fuentes de agregados en explotación y producción se deberá realizar en intervalos de 6 meses.
El agregado grueso deberá presentar como máximo el 40% en pérdida de peso según la prueba de abrasión de Los Ángeles de acuerdo con ASTM C 131.
En el caso de los ciclos de congelación y descongelación, las muestras de concreto deben tener un factor de durabilidad como mínimo de 90% después de 300 ciclos, de acuerdo con el ASTM C 666.
3.2.1.3. Agua para mezcla
El agua para mezcla debe cumplir con los requisitos de ASTM C 1602.
3.2.1.4. Aditivos
Los aditivos químicos para concreto deben cumplir con el ASTM C 494. Cuando los durmientes vayan a estar expuestos a condiciones de congelación - descongelación(1), se utilizará un agente de arrastre que deberá cumplir con las especificaciones de ASTM C 260.
3.2.1.5. Curado
El concreto debe ser curado por un método o procedimiento establecido para su control de calidad(2), considerando lo siguiente:
a)    Después de colocar y consolidar el concreto, la superficie expuesta se cubrirá con lonas impermeables. El concreto no debe colocarse en formas cuyas temperaturas sean inferiores a 4.44 °C (40°F) y no se permitirá que la temperatura del concreto caiga por debajo de 10°C (50°F) entre el colado y la transferencia del presfuerzo.
b)    Durante el periodo preestablecido, la temperatura del concreto no debe exceder los 32°C (90 °F) durante las primeras 3 horas y 40 °C (105 °F) durante las primeras 4 horas. Con el curado térmico acelerado, la velocidad de calentamiento no debe exceder los 19.4 °C (35 °F) por hora. La temperatura de curado dentro del concreto no debe exceder los 70 °C (158 °F).
c)    El método de curado utilizado deberá ser tal que todos los durmientes producidos para un molde determinado estén a una temperatura similar. Durante el curado, se registrará la temperatura en el centro de la sección transversal del asiento del riel de un durmiente en cada cama.
3.2.1.5.1. Reactividad álcali-agregado
Las pruebas de materiales y los métodos de mitigación necesarios para reducir el riesgo de reacción de sílica álcali(3) y carbonato alcalino deben seguir el enfoque basado en el rendimiento o prescriptivo del ASTM C 1778. Cuando se utilizan los métodos de mitigación prescriptivos, se recomienda la clase de estructura SC3.
3.2.1.6. Formación retardada de etringita (DEF)
El método de prueba ASTM C 856 se utilizará para detectar la presencia de DEF en concreto endurecido. Para evitar el DEF se debe utilizar lo especificado en el inciso 3.2.1.5.
3.2.1.7. Calidad de vacío de aire
El factor de separación de vacío de aire de concreto endurecido de acuerdo con el estándar ASTM C 457 debe ser inferior a 0.23 mm (0.009 in) para relaciones A/C (aire/concreto) mayores o iguales a 0.36, y menos de 0.25 mm (0.010 in) para relaciones A/C inferiores a 0.36.
3.3. Dimensiones, peso y acabado
3.3.1. Peso
Para facilitar el manejo, el peso de los durmientes no debe exceder los 363 kg (800 lb).
3.3.2. Longitud(4)
La longitud nominal total de los durmientes de concreto pretensado no excederá de 2.74 m (9 ft), excluyendo los torones del presfuerzo.
La longitud nominal no será inferior a 2.36 m (7 ft-9 in) y 2.440 m (8 ft) para durmientes de concreto postensado y pretensado, respectivamente.
Se permite una tolerancia de ±6.4 mm (±1/4 in) de longitud nominal.
3.3.3. Ancho
El ancho mínimo del área de apoyo del durmiente (zona de contacto de balasto) no debe ser inferior a 200 mm (8 in).
El ancho del durmiente en la cara superior desde el área del asiento del riel hasta el final del durmiente no debe ser inferior a 150 mm (6 in).
El ancho máximo no debe exceder los 330 mm (13 in).
Se permite una tolerancia de 3.2 mm (±1/8 in) desde el ancho nominal.
3.3.4. Peralte mínimo
El peralte mínimo de cualquier sección del durmiente no debe ser inferior a 150 mm (6 in).
Se permite una tolerancia de +6.4 mm (+1/4 in) y -3.2 mm (-1/8 in).
3.3.5. Peralte máximo
El peralte máximo en cualquier sección del durmiente no debe ser superior a 250 mm (10 in).
Se permite una tolerancia de fabricación de +6.4 mm (+1/4 in) y -3.2 mm (-1/8 in).
3.3.6. Ancho de vía
Los hombros/insertos de los durmientes de concreto deben medirse para lograr un calibre nominal con una tolerancia total de 3.2 mm (1/8 in), así como 1.6 mm (±1/16 in) para el calibre de hombro/inserto de lado campo a campo. Para la medición adyacente del hombro o inserto, se debe seguir la recomendación del fabricante de la fijación.
3.3.7. Peralte ferroviario (inclinación del asiento del riel)
La inclinación del asiento del riel deberá proporcionar un peralte de 1:40 ±5 hacia el centro del durmiente.
3.3.8. Plano del asiento del riel (superficie de apoyo)
El asiento del riel debe ser una superficie plana y lisa, 0.8 mm (± 1/32 in).
3.3.9. Inclinación diferencial de los asientos de riel.
Una inclinación diferencial en la dirección del riel, de un asiento de riel al otro, no debe exceder en un ancho de 152.4 mm (6 in) a 1.6 mm (1/16 in).
 
3.3.10. Exposición de los torones de presfuerzo
Los filamentos o alambres no deben proyectarse más de 6.4 mm (1/4 in) más allá de los extremos de los durmientes.
3.3.10.1. Acabado de los torones de presfuerzo
Para proteger contra la corrosión, los extremos de los torones de postensado no sobresaldrán más allá de los extremos de los durmientes y se cubrirán en la medida especificada en 3.3.10.2 con concreto o lechada epóxica.
3.3.10.2. Recubrimiento de concreto para la protección contra la corrosión
El recubrimiento mínimo de concreto, torones de presfuerzo, ductos o accesorios de extremo de presfuerzo(5) será la siguiente(6):
a)    Cuando se utiliza en durmientes pretensados o postensados: 19 mm (3/4 in).
b)    Cuando se utiliza en otro tipo de durmientes: Cumplir con especificaciones ACI 318.
3.3.10.3. Tolerancias para la colocación del refuerzo
a)    La tolerancia de colocación para el acero de refuerzo es importante para garantizar que se logren la resistencia a la flexión, recubrimiento mínimo y los requisitos eléctricos.
La tolerancia para la profundidad de colocación del acero de refuerzo convencional será de ± 3.2 mm (± 1/8 in).
La tolerancia para la colocación del acero pretensado será de ± 3.2 mm (± 1/8 in) vertical y ± 6.4 mm (± 1/4 in) horizontal.
Se permiten tolerancias mayores, siempre que se pueda demostrar que el durmiente tiene una resistencia a la flexión adecuada (con una distribución uniforme de los torones), que la cubierta mínima no se vea comprometida y que no haya cortocircuitos eléctricos.
b)    La tolerancia para la colocación longitudinal de las curvas en barras de refuerzo será de 50 mm (±2 in).
c)    La tolerancia para la colocación de los extremos de las barras de refuerzo será de ±13 mm (±1/2 in).
3.3.11. Acabado superficial
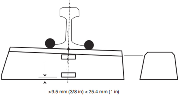
Las superficies superior y lateral de los durmientes deberán presentar un aspecto liso y uniforme. Una dispersión aleatoria de los huecos superficiales no será motivo de rechazo. Las grandes concentraciones de huecos superficiales o la evidencia de mezcla, vibración o curado inadecuados serán causa de rechazo, no se permite ningún tipo de manipulación o tratamiento una vez realizado el desmoldeo que dificulte la presencia fallas de este tipo.
Puede producirse desprendimiento ocasional de una pequeña porción de los hombros de los asientos del riel durante la operación de desmoldeo. Tal desprendimiento no será motivo de rechazo a menos que involucre la parte de un hombro contra la cual se apoya el talón del clip de fijación del riel.
Los durmientes de concreto o los componentes colados deben marcarse con letras o números con sangría o relieve para identificar el fabricante, el tipo de durmiente, la forma, la cavidad, el año, mes y día de fabricación. Si los durmientes están destinados a ser utilizados con paneles de cruces a nivel, sólo se permitirán letras o números con sangría para que esas áreas estén en contacto con los paneles.
3.4. Resistencia a la flexión de durmientes de concreto
De manera indicativa mas no limitativa, se enlistan las siguientes pruebas para asegurar la calidad de los durmientes. A continuación, se presenta una breve descripción del proceso de análisis, las particularidades del mismo se describen en los Apéndices de la presente NOM:
(1)   Calcular la carga de diseño del asiento del riel.
(2)   Calcular los momentos flexionantes no factorizados, positivo en el asiento del riel, negativo en el asiento del riel, negativo al centro y positivo al centro.
(3)   Calcular los momentos flexionantes de diseño factorizados, multiplicando los momentos flexionantes no factorizados por factores de velocidad y tonelaje.
Estos valores de diseño no consideran pérdidas de presfuerzo. Durante la fabricación se diseñarán durmientes para alcanzar estos valores de flexión después de que se hayan producido pérdidas en el momento de ejecución de la prueba.
3.4.1. Consideraciones de diseño
La precompresión máxima después de todas las pérdidas en cualquier punto de los durmientes no excederá los 17.2 MPa (2500 psi).
Debe haber una precompresión mínima en cualquier sección transversal a través del área del asiento del riel de 3.5 MPa (500 psi), después de todas las pérdidas y sin ninguna carga aplicada.
3.4.1.1. Pruebas de diseño
3.4.1.1.1. Secuencia de pruebas de diseño (Durmiente "1")
La secuencia de las pruebas de calidad del diseño utilizando el Durmiente "1" será la siguiente:
1.     Prueba de carga vertical en el asiento del riel. Se realizará en un asiento de riel, en lo sucesivo denominado asiento de riel A. (Inciso 12.5.1)
2.     Prueba de momento flexionante negativo al centro del durmiente. (Inciso 12.5.3)
3.     Prueba de momento flexionante positivo en el centro del durmiente. (Inciso 12.5.4)
4.     Prueba de carga vertical en el asiento del riel. Se realizará en el otro asiento de riel, en lo sucesivo denominado asiento de riel B. (Inciso 12.5.1)
5.     Prueba de carga repetida del asiento del riel. Se realizará en el asiento de riel B. (Inciso 12.5.2)
6.     Prueba del desarrollo de adherencia, anclaje de presfuerzo (tendones) y carga última. Se realizará en el asiento de riel A. (Inciso 12.5.5)
3.4.1.2. Secuencia de pruebas de diseño (Durmiente "2")
La secuencia de las pruebas de calidad del diseño utilizando el Durmiente "2" será la siguiente:
1.     Prueba de insertos de la fijación. Se realizará en todos los insertos. (Inciso 12.5.6)
2.     Prueba de levantamiento de fijación. Se realizará en un asiento de riel. (Inciso 12.5.7)
3.     Prueba de impedancia eléctrica de la fijación. (Inciso 12.5.11)
3.4.1.3. Secuencia de pruebas de diseño (Bloque de Durmiente)
La secuencia de pruebas de funcionamiento del diseño utilizando el bloque de unión será la siguiente:
1.     Prueba de integridad de la almohadilla de riel(7). (Inciso 12.5.12)
2.     Prueba de levantamiento de la fijación, parte A. (Inciso 12.5.7)
3.     Prueba de restricción longitudinal de fijación. (Inciso 12.5.9)
4.     Prueba de carga repetida de la fijación. (Inciso 12.5.8)
5.     Prueba de restricción longitudinal de fijación. (Inciso 12.5.9)
6.     Prueba de levantamiento de la fijación, parte A. (Inciso 12.5.7)
7.     Prueba de restricción lateral de fijación. (Inciso 12.5.10)
8.     Prueba de integridad de la almohadilla de riel. (Inciso 12.5.12)
3.4.2. Control de calidad de la producción
Después de que el sistema de fijación del durmiente y el riel haya superado las pruebas establecidas en el inciso 3.4.1, la producción adicional de estos elementos puede continuar sin más pruebas de diseño.
3.4.2.1. Pruebas diarias de control de calidad de la producción
De un durmiente seleccionado al azar de cada 200 durmientes o fracción de la producción diaria se efectuarán las siguientes pruebas de control de calidad de la producción:
a.     Se deberá verificar que el asiento del riel y la ubicación de los insertos cumplan con los requerimientos de los incisos 3.3.8 y 3.3.9.
b.    Se realizará la prueba de carga vertical positiva del asiento del riel, como se especifica en el inciso 12.5.1. La carga se aplicará a una velocidad de al menos 22.25 kN (5 kips) por minuto y se mantendrá durante al menos 1 minuto.
c.     La prueba del inserto de fijación, establecida en el inciso 12.5.6, se realizará en todos los insertos por durmiente cuando se utilice el proceso de desmoldeo instantáneo.
 
3.4.2.1.1. Pruebas adicionales de control de calidad
Para garantizar que la producción de durmientes y las fijaciones de riel cumplan estas especificaciones, el fabricante establecerá cualquier prueba adicional de control de calidad, incluidas las pruebas de resistencia a la compresión del concreto (inciso 3.2.1), que se consideren necesarias.
3.4.2.2. Control de calidad del desarrollo de la adherencia o del anclaje de tendones.
Un durmiente seleccionado al azar de cada 2000 durmientes producidos se someterá a la prueba de desarrollo de adherencia o anclaje del presfuerzo. Se aplicará una velocidad de carga superior a 22.25 kN (5 kips) por minuto. El durmiente deberá cumplir los requisitos establecidos en esta NOM.
3.5. Inspección
3.5.1. Estándares de Seguridad
Los estándares de seguridad que deberán cumplir los durmientes de concreto serán los descritos en el capítulo correspondiente de la NOM-003-ARTF-2019 o la vigente que la sustituya, para vías construidas con durmientes de concreto.
4. Procedimiento de Evaluación de la Conformidad
4.1. Directrices.
4.1.1. La Evaluación de la Conformidad de la presente NOM se llevará a cabo en términos de lo establecido en ésta y en la Ley de Infraestructura de la Calidad.
4.1.2. Para todo durmiente de concreto que se comercialice o se pretenda instalar en el Sistema Ferroviario Mexicano, se deberá contar obligatoriamente con la Evaluación de la Conformidad indicada en este documento.
4.1.3. Para efectos del presente PEC, se entenderá como "Conformidad" al cumplimiento de las disposiciones establecidas en la presente NOM, mientras que "No Conformidad" al incumplimiento de las disposiciones establecidas en ésta. La "Conformidad" tendrá una vigencia de 2 años.
4.1.4. El concesionario y asignatario deberán asegurar el cumplimiento de las Conformidades establecidas en el inciso 4.1.5 para los durmientes que pretenda instalar en vía, de lo contrario, se emitirá una "No Conformidad".
4.1.5. Para emitir una "Conformidad" para esta NOM se deberá entregar, para cada proyecto ya sea de construcción, de conservación o mantenimiento, lo siguiente:
a)    Los durmientes deberán cumplir con los requisitos de calidad de los materiales y resistencia a la flexión con las pruebas de laboratorio respectivos, por lo cual se entregará la documentación que ampare el cumplimiento de los requerimientos indicados en los incisos 3.1, 3.2, 3.3 y 3.4.
4.1.5.1. El Organismo de Evaluación de la Conformidad realizará una evaluación bianual de acuerdo con lo siguiente:
a)    Deberá solicitar la información documental establecida en el inciso 4.1.5., de al menos 1% de la cantidad de durmientes del tramo a evaluar.
b)    En virtud de lo anterior, se deberá evaluar una cantidad que se considere razonable de durmientes de manera física en sitio.
4.1.5.2. En caso de que se emita una "No Conformidad" no se podrán distribuir los durmientes para ser instalados en las vías. Además, como resultado de la mala calidad de los durmientes instalados en vía, se ordenará el retiro de los durmientes que se consideren necesarios.
4.1.6. Si se detecta que entre los responsables y sujetos obligados participantes de este PEC se ejercen malas prácticas de Evaluación de la Conformidad, y existe un conflicto de interés o una afectación a los objetivos legítimos de interés público que persigue esta NOM, se procederá con las sanciones conforme a lo establecido en las leyes aplicables
4.1.7. La Entidad de Acreditación y los Organismos de Evaluación de la Conformidad deben cumplir con las disposiciones en términos de la Ley de Infraestructura de la Calidad, para poder participar en la Evaluación de la Conformidad de esta NOM.
4.1.7.1. Las Unidades de Inspección que realicen la Evaluación de la Conformidad referida en el inciso 4.1.5 deben ser del Tipo A, B o C de acuerdo con la NMX-EC-17020-IMNC-2014 "Evaluación de la conformidad - Requisitos para el funcionamiento de diferentes tipos de unidades (organismos) que realizan la verificación (inspección)", o la que la sustituya.
4.1.7.2. El laboratorio que participe en cualquiera de los procesos de esta NOM debe contar como mínimo con los equipos e instrumentos calibrados con trazabilidad a los patrones, en términos de la Ley de Infraestructura de la Calidad.
4.1.8. Bajo justificación técnica y en situaciones particulares, se podrán emplear disposiciones que no hayan sido consideradas al momento de la emisión de la presente NOM, siempre y cuando se protejan los objetivos legítimos y de interés público perseguidos, y previa consulta de la Agencia.
5. Verificación y vigilancia
5.1. Aplicación de la verificación y la vigilancia
5.1.1. La verificación y vigilancia del cumplimiento de lo dispuesto en la presente Norma Oficial Mexicana está a cargo de la Agencia, conforme a sus respectivas atribuciones.
5.1.2. La verificación de la presente Norma Oficial Mexicana se llevará a cabo por la Agencia en el momento en que ésta lo considere pertinente conforme a lo establecido en el Procedimiento de Evaluación de la Conformidad de esta NOM.
5.1.3. La Agencia podrá retirar la aprobación y sancionar al Organismo de Evaluación de la Conformidad y a la Entidad de Acreditación que emitió las acreditaciones a dichos organismos, cuando se detecten irregularidades bajo lo dispuesto en los artículos 58 y 59 de la Ley de Infraestructura de la Calidad y otras disposiciones aplicables.
6. Sanción
6.1. El incumplimiento a las disposiciones contenidas en la presente NOM será sancionado por la Agencia, conforme a lo establecido en la Ley de Infraestructura de la Calidad y demás ordenamientos que resulten aplicables, sin perjuicio de las sanciones que impongan otras autoridades en el ejercicio de sus atribuciones o de la responsabilidad civil o penal que resulte.
7. Referencia a estándares para su implementación
·  American Railway Engineering and Maintenance of-Way Association. Manual for Railway Engineering. (AREMA).
·  American Society for Testing Materials (ASTM).
·  Code of Federal Regulations, Tittle 49 Transportation, Parts 200 to 299. (CFR).
·  The American Concrete Institute (ACI).
·  Normas Mexicanas (NMX).
8. Bibliografía
·  ACI. (1995). Requerimientos del código de construcción para concreto estructural y comentarios. ACI.
·  Agencia Reguladora de Transporte Ferroviario. (2019). NOM-003-ARTF-2019 Sistema ferroviario-Seguridad-Clasificación y especificaciones de vía. Ciudad de México: DOF.
·  Agencia Reguladora del Transporte Ferroviario. (2019). NOM-001-ARTF-2019, Sistema Ferroviario-Infraestructura-Durmientes Monolíticos-Especificaciones y Métodos de Prueba. Ciudad de México: DOF.
·  American Railway Engineering and Maintenance of-Way Association. (2021). Manual for Railway Engineering. AREMA.
·  ASTM C 260. (2016). Especificación estándar para aditivos inclusores de aire para concreto. ASTM.
·  ASTM C 666. (2016). Método de prueba estándar para la resistencia del concreto a la congelación y descongelación rápida. ASTM.
·  ASTMC 496. (2017). Método de prueba estándar para dividir la resistencia a la tracción de especímenes cilíndricos de concreto. ASTM.
·  ASTM C 457. (2017). Método de prueba estándar para la determinación microscópica de parámetros del sistema Air-Void en concreto endurecido. ASTM.
·  ASTM C 33. (2018). Especificación estándar para agregados de cemento. ASTM.
·  ASTM C 295. (2019). Guía estándar para examinación petrográfico de agregados para concreto. ASTM.
·  ASTM C 779. (2019). Método de prueba estándar para la resistencia a la abrasión de superficies
horizontales de concreto. ASTM.
·  ASTM C 131. (2020). Método de prueba estándar para la resistencia a la degradación de agregados gruesos de tamaño pequeño por abrasión e impacto en la máquina Los Ángeles. ASTM.
·  ASTM C 856. (2020). Práctica estándar para la examinación petrográfica del concreto endurecido. ASTM.
·  ASTM E 2309. (2020). Prácticas estándar para la verificación de sistemas y dispositivos de medición de desplazamiento utilizados en máquinas de ensayo de materiales. ASTM.
·  ASTM C 778. (2021). Especificación estándar para arena estándar. ASTM.
·  ASTM C 39. (2021). Método de prueba estándar para la resistencia a la compresión de probetas cilíndricas de concreto. ASTM.
·  ASTM D 2240. (2021). Método de prueba estándar para las propiedades del caucho: dureza del durómetro. ASTM.
·  ASTM C 494. (2022). Especificación estándar para aditivos químicos para concreto. ASTM.
·  ASTM C 150. (2022). Especificación estándar para cemento Portland. ASTM.
·  ASTM C 160. (2022). Especificación estándar para el agua de mezcla utilizada en la producción de concreto de cemento hidráulico. ASTM.
·  ASTM C 1778. (2022). Guía estándar para reducir el riesgo de reacciones nocivas de agregados alcalinos en el concreto. ASTM.
·  ASTM C 31. (2022). Práctica de prueba estándar para hacer y curar especímenes de prueba de concreto en el campo. ASTM.
·  Congreso General de los Estados Unidos Mexicanos. (2020). Ley de Infraestructura de la Calidad. Ciudad de México: DOF.
·  National Archives and Records Administration. (2021). Code of Federal Regulations, Tittle 49 Transportation, Parts 200 to 299. Washington: U.S. Goverment Publishing Office.
·  NMX-C-061-ONNCCE-2015. Industria de la Construcción-Cementantes Hidráulicos-Determinación de la Resistencia a la Compresión de Cementantes Hidráulicos. NMX.
·  NMX-C-083-ONNCCE-2014. Industria de la Construcción-Concreto-Determinación de la Resistencia a la Compresión de Especímenes-Método de Ensayo. NMX.
·  NMX-C-111-ONNCCE-2018. Industria de la Construcción-Agregados para concreto hidráulico-Especificaciones y métodos de ensayo. NMX.
·  NMX-C-159-ONNCCE-2016. Industria de la Construcción-Concreto-Elaboración y Curado de Especímenes de Ensayo. NMX.
·  NMX-C-196-ONNCCE-2010. Industria de la construcción-Agregados-Resistencia a la degradación por abrasión e impacto del agregado grueso usando la máquina de los ángeles-Método de prueba. NMX.
·  NMX-C-255-ONNCCE-2013. Industria de la construcción-Aditivos químicos para concreto-Especificaciones y métodos de ensayo. NMX.
·  NMX-C-265-ONNCCE-2010. Industria de la Construcción-Agregados para Concreto Hidráulico-Examen Petrográfico-Método de Ensayo. NMX.
·  NMX-EC-17020-IMNC-2018. Requisitos para el funcionamiento de diferentes tipos de unidades (organismos) que realizan la verificación (inspección) NMX.
·  PCI. (2022). Manual de Control de Calidad para Plantas y Producción de Productos Prefabricados de Concreto Estructural, 5ª Edición. PCI.
9. Clasificación
NOM-001-ARTF-2023 Sistema Ferroviario-Infraestructura-Durmientes Monolíticos-Especificaciones y Métodos de Prueba
10. Concordancia con normas internacionales
10.1. Esta Norma Oficial Mexicana no es equivalente (NEQ) con alguna Norma Internacional, por no existir esta última al momento de su elaboración.
11. Transitorios
PRIMERO. La presente Norma Oficial Mexicana, una vez que sea publicada en el Diario Oficial de la Federación como norma definitiva, entrará en vigor a los 180 días naturales contados a partir del día natural inmediato siguiente al día de su publicación.
SEGUNDO. La presente Norma Oficial Mexicana, una vez que sea publicada en el Diario Oficial de la Federación como norma definitiva abroga a la Norma Oficial Mexicana NOM-001-ARTF-2019, Sistema ferroviario-Infraestructura-Durmientes Monolíticos-Especificaciones y métodos de prueba.
Ciudad de México, a 25 de mayo de 2023.- El Titular de la Agencia Reguladora del Transporte Ferroviario y Presidente del Comité Consultivo Nacional de Normalización de Transporte Ferroviario, Evaristo Iván Ángeles Zermeño.- Rúbrica.
12. Apéndices
12.1. Apéndice A
Cálculo del esfuerzo de tensión en el riel (A.R.E.M.A.) (Normativo)
Se emplea la siguiente ecuación para el cálculo:
Ecuación 1

Donde:
S=Máximo esfuerzo de tensión en riel, MPa (psi)
c=Distancia desde el eje neutro hasta el borde exterior de la base o cabeza, mm (in)
I=Momento de inercia de las secciones de riel, mm4 (in4)
E=Módulo de elasticidad del hierro, MPa (psi)
m=Módulo de vía, MPa (psi)
EP=Fuerza de la rueda, N (lb)
12.1.1. Ejemplo(8)
Dado el módulo de la vía de 3000 lb/in/in y 90 lb RA-A y con I=1615 cm4 (38.7 in4) y C=65 mm (2.54 in) determine el esfuerzo de tensión si se desarrolla bajo una carga de rueda de 13608 kgf (30000 lb).

12.2. Apéndice B
Equivalencias de NMX - ASTM (Informativo)
 
 
Agregados, cemento, agua, aditivo y concreto.
 
NMX
ASTM
NMX-C-061-ONNCCE-2015.
Industria de la construcción-Cementantes hidráulicos-Determinación de la resistencia a la compresión de cementantes hidráulicos.
Nota:
Parcialmente equivalente.
ASTM C 39 / C 39 M-18.
Método de prueba normalizado para la resistencia a la compresión de especímenes cilíndricos de concreto.
NMX-C-083-ONNCCE-2014.
Industria de la construcción-Concreto-Determinación de la resistencia a la compresión de especímenes-método de ensayo.
ASTM C39 / C39M - 18.
Método de prueba normalizado para la resistencia a la compresión de especímenes cilíndricos de concreto.
NMX-C-111-ONNCCE-2018.
Industria de la construcción-Agregados para concreto hidráulico-Especificaciones y métodos de ensayo.
Nota:
Parcialmente equivalente
ASTM C 33 / C33M-18.
Especificación normalizada para agregados para concreto.
NMX-C-159-ONNCCE-2016.
Industria de la construcción-Concreto-Elaboración y curado de especímenes de ensayo.
Nota:
(Parcialmente equivalente con: ASTM C 31 / C 31M-18a, ASTM C 192 / C 192M-16a).
ASTM C 31 / C 31M-119.
Práctica estándar para la elaboración y curado de especímenes de prueba de concreto en campo.
ASTM C 192 / C 192M-18.
Práctica estándar para la elaboración y curado de especímenes de prueba de concreto en el laboratorio.
NMX-C-196-ONNCCE-2010.
Industria de la construcción-Agregados-Determinación de la resistencia a la degradación por abrasión e impacto de agregados gruesos usando la máquina de los ángeles.
ASTM C 131 / C 131M-14.
Método de prueba estándar para la resistencia la degradación de agregado grueso de tamaño pequeño por abrasión e impacto en la máquina los ángeles.
ASTM C 535-16.
Método de prueba estándar para la resistencia a la degradación de agregado grueso de tamaño grande por abrasión e impacto en la máquina los ángeles.
NMX-C-255-ONNCCE-2013.
Industria de la construcción - Aditivos químicos para concreto-Especificaciones y métodos de ensayo.
ASTM C 494 / C 494M - 17.
Especificación normalizada para aditivos químicos para concreto.
NMX-C-265-ONNCCE-2010.
Industria de la construcción-Agregados para concreto hidráulico-Examen petrográfico-Método de ensayo.
ASTM C 295 / C 295M-18a.
Guía normalizada para examen petrográfico de agregados para concreto.
 
12.3. Apéndice C
Cálculo de la presión del Balasto - Sub-balasto (A.R.E.M.A.) (Normativo)
Mientras la presión del durmiente al balasto no sea uniformemente distribuida a través o a lo largo de la parte inferior de un durmiente, se puede hacer un cálculo aproximado de la presión "promedio" en la parte inferior del durmiente. El promedio de presión en el fondo del durmiente es la carga por eje, multiplicado por los factores de impacto y distribución, y dividido por el área de rodamiento del durmiente:
Ecuación 2

Donde:
P=Carga de la rueda en kN (lb)
IF=Factor de Impacto en porcentaje
DF=Factor de Distribución en porcentaje (De la Figura 1)
A=Área de carga del balasto en mm2 (in2)
La presión recomendada del balasto no deberá exceder los 0.586 MPa (85 psi) para una alta calidad de balasto resistente a la abrasión. Si se utilizan materiales de balasto de baja calidad, la presión de balasto deberá ser reducida en consecuencia.
12.3.1. Ejemplo 1(9)
Dados los durmientes de concreto de 259 cm (8 in-6 ft) de largo por 28 cm (11 in) de ancho, cuál es valor calculado de presión de rodamiento para un carro de carbón con una carga de rueda de 173 kN (39000 lb) si los durmientes deben estar espaciados a 610 mm (24 in).

Nota: Este ejemplo usa un factor de impacto de 125%. El factor de impacto real debe determinarse con base en las condiciones de operación y no es el mismo factor de impacto que el que se usa para un diseño de flexión de durmiente.
12.3.2. Presión del Subsuelo
La presión ejercida por el balasto sobre el subsuelo depende de la presión de durmiente a balasto, el patrón de la distribución de la carga a través del balasto, y de la profundidad su profundidad.
12.4. Apéndice D
Momentos Flexionantes de Diseño (A.R.E.M.A.) (Normativo)
12.4.1. Momentos flexionantes
Los requisitos para los valores de diseño a la flexión factorizados se obtienen mediante el método descrito a continuación. Es importante mencionar que estos valores de diseño no consideran las pérdidas de presfuerzo; por tanto, los fabricantes deben diseñar los durmientes para alcanzar estos valores después de ocurridas las pérdidas de presfuerzo.
12.4.2. Valores de diseño factorizado a la flexión para sistemas de cargas y pasajeros
12.4.2.1. Determinar la carga por eje
La carga estática por eje depende del tipo de operación ferroviaria. La carga estática por eje se puede encontrar dividiendo el peso estático del Equipo Ferroviario por el número de ejes. Si las cargas por eje no
son todas iguales, se debe utilizar el diagrama del fabricante. Se recomienda una carga por eje de 37 t (82 kips) para durmientes diseñados para el transporte de carga, la cual debe ser definida por el comprador.
Una referencia de las cargas por eje se presenta en la Tabla 1 a manera de ejemplo.
Tipo de tráfico
Carga por eje t (kips)
Carga
32 - 37 (71.5 - 82)
Sistema metro y ligeros
9 - 15 (20 - 32)
Regionales de pasajeros
11 - 14 (25 - 30)
Tabla 1 Cargas por eje típicas para diferentes líneas ferroviarias.
12.4.2.2. Cálculo de la carga de diseño en el asiento del riel
La carga del asiento del riel es la parte de la carga del eje que se transmite del riel al asiento del riel del durmiente. La carga del eje se dividirá entre dos para obtener la carga por rueda, posteriormente se multiplicará por el factor de distribución en el asiento del riel dado en la Figura 1 y por el factor de impacto. Si el factor de impacto(10) no se proporciona se utilizará un factor 200%. La carga calculada en el asiento del riel está dada por la Ecuación 3.
Ecuación 3:

Donde:
R=carga de diseño en el asiento del riel, kips
AL=carga por eje, kips
DF=factor de distribución, adimensional
IF=factor de impacto, adimensional

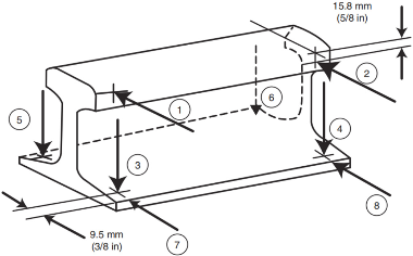
Figura 1 Porcentaje de carga por eje soportada por un solo durmiente.
En la Figura 2 se muestran las condiciones de soporte supuestas para durmientes con ancho de base constante, utilizadas para los momentos flexionantes de diseño positivos para el asiento de riel y los momentos de diseño flexionantes negativos para el centro del durmiente. El factor de soporte o de reacción en el centro, "alfa = a", se utiliza en cada ecuación. Se proporcionan valores mínimos para "a" en la Tabla 2.
 

Figura 2 - Condiciones de carga y de apoyo supuestas para la determinación de momentos flexionantes de
diseño con sus respectivos diagramas de cortante y momento (para durmientes de 2590 mm [8 ft-6in] o
menos).
Longitud de los durmientes
Factor de soporte ()
2.360 m (7 ft-9 in)
0.66
2.440 m (8 ft-0 in)
0.68
2.520 m (8 ft-3 in)
0.74
2.590 m (8 ft-6 in)
0.84
Nota:
Estos factores derivaron de la ecuación para el cálculo del momento flexionante de diseño en el centro, los cuales son 20% mayores a las recomendaciones de años anteriores.
Tabla 2 Factores de soporte central mínimos a utilizar para el cálculo del momento flexionante negativo de
diseño no factorizado en el centro del durmiente.
12.4.2.3. Determinar el momento flexionante positivo de diseño no factorizado en el asiento del riel:
El momento flexionante positivo de diseño no factorizado en el asiento de riel se calcula usando la Ecuación 4. Este análisis recomienda un factor de soporte en el centro de 0 (cero) para todas las longitudes de durmiente, el cual de manera real se encontrará debajo de una vía perfectamente calzada. Se considera que la carga en el asiento de riel actúa sobre todo el ancho del patín o base del riel. Para durmientes de más de 2.590 m (8 in-6 ft) y 610 mm (24 in) de espacio entre durmientes, el momento flexionante positivo de diseño no factorizado en el asiento del riel debe ser de 3400 kN-cm (300 kip-in) (que debe escalarse proporcionalmente para cargas por eje y espacios de durmiente diferentes a 37 t (82 kips) y 60 cm (24 in), respectivamente).
Ecuación 4:

Donde:
BRS+=momento flexionante positivo de diseño no factorizado en el asiento del riel, kip-in
R=carga de diseño en el asiento del riel, kips
L=longitud del durmiente, in
G=separación entre centros de rieles (recomendado: 1.524 m [60 in] para escantillón estándar, in)
C=2g-L=sección de reducción central, in
s=ancho del asiento del riel o ancho de la base del riel, in
a =factor de soporte central, (=0 recomendado)
12.4.2.4. Determinar el momento flexionante negativo de diseño no factorizado en el asiento del riel:
Para todas las longitudes de durmiente, el momento flexionante negativo de diseño no factorizado en el asiento del riel debe ser de 1810 kN-cm (160 kip-in) (que debe escalarse proporcionalmente para cargas por eje diferentes a 37 t [82 kips]). Se aplica la Ecuación 5:
Ecuación 5

Donde:
BRS-=momento flexionante negativo de diseño no factorizado en el asiento del riel, kip-in
AL=carga por eje, en kips
12.4.2.5. Determinar el momento flexionante negativo de diseño no factorizado en el centro del durmiente:
El momento flexionante negativo de diseño no factorizado en el centro del durmiente se calcula con la Ecuación 6. Se deberán utilizar como mínimo los factores de soporte que aparecen en la Tabla 2, a menos que el comprador indique lo contrario.
Ecuación 6

 
Donde:
Bc-=momento flexionante negativo de diseño no factorizado en el centro, kip-in
R=carga de diseño en el asiento del riel, kips
L=longitud del durmiente, in
g=separación entre centros de rieles (recomendado: 1.524 m [60 in] para escantillón estándar, in)
c=2g-L=sección de reducción central, in
a=factor de soporte central, adimensional
Para durmientes de más de 2.59 m (8 ft-6 in) el requisito para el momento flexionante negativo de diseño no factorizado en el centro del durmiente debe ser de 2260 kN-cm (200 kip-in) (que debe escalarse proporcionalmente para cargas por eje diferentes a 37 t [82 kips]). Se aplica la Ecuación 7:
Ecuación 7

Donde:
AL=carga por eje, en kips
12.4.2.6. Determinar el momento flexionante positivo de diseño no factorizado en el centro del durmiente:
Para todas las longitudes del durmiente, el momento flexionante positivo de diseño no factorizado en el centro del durmiente debe ser de 1243 kN-cm (110 kip-in) (que debe escalarse proporcionalmente para cargas por eje diferentes a 37 t [82 kips]). Se aplica la Ecuación 8:
Ecuación 8

Donde:
Bc+=momento flexionante positivo de diseño no factorizado en el centro, kip-in
AL=carga por eje, kips
12.4.2.7. Determinar los momentos flexionantes de diseño factorizados:
Para todo tipo de tráfico en vías balastadas y para tomar en cuenta la influencia de la velocidad y toneladas que transitan al año sobre dichas vías, los momentos flexionantes de diseño factorizados se pueden calcular como lo indica la Ecuación 9:
Ecuación 9

Donde:
M=Los momentos flexionantes de diseño factorizados (MRS+, MRS-, MC+, MC-).
B=Los momentos flexionantes no factorizados calculados anteriormente (BRS+, BRS-, BC-, BC+), kip-in
V=Factor de velocidad obtenido de la Figura 3 y la Figura 4.
T=El factor de toneladas transportadas al año de la Figura 3 y la Figura 4.
Los factores de velocidad y de tonelaje deberán ser tomados de acuerdo con la Figura 3 y la Figura 4, según las condiciones de tráfico, y nunca deberán ser inferiores al límite bajo de la Figura 3.
Para diseños de durmientes que tienen un ancho inferior reducido en el centro, el momento positivo en el asiento del riel aumentará y el momento negativo en el centro del durmiente disminuirá en comparación con un durmiente con un ancho inferior uniforme, para una presión de balasto dada. En vista de esta condición, los requisitos de flexión exigidos para los durmientes con reducción al centro se modificarán con base en la geometría de la superficie inferior del durmiente.

Figura 3 Límite bajo para factores de tonelaje y velocidad.

Figura 4 Factores de tonelaje y velocidad.
12.5. Apéndice E
 
Descripción de los métodos de prueba. (Normativo)
12.5.1. Prueba de carga vertical en el asiento del riel.
1.     Con el durmiente apoyado y cargado como se muestra en la Figura 5, se aplica la carga continuamente y sin impacto, se aplicará la carga aumentando a una velocidad no mayor de 2,2 toneladas por minuto, hasta obtener la carga (P) requerida para producir el momento negativo especificado del asiento del riel (ver Apéndice D). Esta carga se mantendrá durante no menos de 3 minutos, tiempo durante el cual se realizará una inspección para determinar si se produce agrietamiento estructural.
2.     De la misma manera, el durmiente debe apoyarse y cargarse como se muestra en la Figura 6 con la finalidad de producir el momento positivo requerido del asiento del riel (ver Apéndice D).
Se debe usar una lupa iluminada de 5 aumentos para localizar grietas. Si no se produce agrietamiento estructural, se habrán cumplido los requisitos de cada parte de esta prueba.

Figura 5 Prueba de momento negativo del Asiento de Riel

Figura 6 Prueba de momento positivo del Asiento de Riel
12.5.2. Prueba de carga repetida en el asiento del riel
1.     Tras la prueba de carga vertical para el momento positivo en el asiento B del riel (ver Apéndice D), la carga se aumentará continuamente y sin impacto hasta que el durmiente se agriete desde su superficie inferior hasta el nivel de la capa inferior del presfuerzo. Esta carga se registrará como carga de agrietamiento. La velocidad de carga debe reducirse una vez que la carga se acerca a la carga de agrietamiento esperada para capturar correctamente dicha carga. La carga de agrietamiento se muestra en la Figura 7.

Figura 7 Carga repetida en el asiento del riel.
2.     Después de retirar la carga estática del asiento del riel necesaria para producir el agrietamiento estructural del asiento de riel, sustituir los apoyos de neopreno utilizados en la carga estática, por apoyos de triplay de 6,35 mm (1/4 in) de espesor con el ancho y largo de los apoyos de neopreno, el durmiente debe someterse a 3 millones de ciclos de carga repetida con cada ciclo variando uniformemente desde 17.8 kN (4 kips) hasta el valor de 1.1P. La carga repetida no debe exceder los 600 ciclos por minuto. Si después de la aplicación de los 3 millones de ciclos, el durmiente soporta una carga del asiento del riel de 1.5P durante 3 minutos sin deslizamiento del preesfuerzo de más de 0.02 mm (0.001 in), y si no se produce una falla por compresión, no se producen grietas por cortante o no se produce una falla del presfuerzo, entonces se habrán cumplido los requisitos de esta prueba.
12.5.3. Prueba de momento flexionante negativo en el centro del durmiente
Con el durmiente apoyado y cargado como se muestra en la Figura 8, se aplicará una carga que aumente a una velocidad no superior a 22.24 kN (5 kips) por minuto hasta que se obtenga la carga requerida para producir el momento de diseño negativo al centro (ver Apéndice D). La carga debe mantenerse al menos 3 minutos, tiempo durante el cual se debe realizar una inspección para determinar si se produce un agrietamiento estructural. Se debe usar una lupa iluminada de 5 aumentos para localizar grietas. Si no se produce el agrietamiento estructural, se habrán cumplido los requisitos de esta prueba.

Figura 8 Prueba de momento negativo del centro del durmiente
12.5.4. Prueba de momento flexionante positivo en el centro del durmiente
Con el durmiente apoyado y cargado como se muestra en la Figura 9, se aplicará la carga continuamente y sin impacto hasta que se obtenga la carga requerida para producir el momento de diseño del centro positivo (ver Apéndice D). La carga debe mantenerse al menos 3 minutos, tiempo durante el cual se debe realizar una inspección para determinar si se produce agrietamiento estructural. Se debe usar una lupa iluminada de 5 aumentos para localizar grietas. Si no se produce agrietamiento estructural, se habrán cumplido los requisitos de esta prueba.

Figura 9 Prueba de momento positivo del centro del durmiente
12.5.5. Desarrollo de adherencia, anclaje de tendones y carga última
Los durmientes de concreto pretensado se probarán para el desarrollo de adherencia y la resistencia a la carga última como se especifica a continuación:
1.     Con el durmiente apoyado y cargado en el asiento del riel A, como se muestra en la Figura 6, se aplica la carga continuamente y sin impacto hasta obtener una carga igual a 1.5P (la carga P será la determinada en "Prueba de carga vertical del asiento del riel" para el momento positivo (Apéndice E)) y se debe mantener esta carga durante un periodo no inferior a 3 minutos.
2.     Si no hay más de 0.02 mm (0.001 in) de deslizamiento del torón determinado por una lectura extensómetro a 1/400 mm (1/10,000 in), se habrán cumplido los requisitos de esta prueba. La medición debe hacerse en los torones más alejados de la capa inferior. La carga debe aumentarse a no más de 44 kN por minuto (10 kips /min) hasta que se produzca la falla mientras se continúa midiendo el deslizamiento del torón. La carga a la que se produce el deslizamiento del torón, la carga máxima obtenida y el motivo de falla a la carga máxima deben documentarse como deslizamiento del torón, rotura del torón o falla por compresión del concreto.
Los durmientes de concreto postensado se probarán para determinar el anclaje postensado y la resistencia a la carga última como se especifica a continuación:
1.     Con el durmiente apoyado y cargado como se muestra en la Figura 6, aplique la carga continuamente y sin impacto hasta obtener una carga total igual a 1.5P. Si el durmiente puede soportar esta carga durante un periodo de 3 minutos, se habrán cumplido los requisitos de esta prueba. La carga debe aumentarse hasta que se produzca la falla final del durmiente, y se debe registrar la carga máxima obtenida.
12.5.6. Prueba de insertos de la fijación
Los insertos de fijación se someterán a una prueba de extracción y a una prueba de torsión, según se indica a continuación.
1.     La prueba de extracción deberá realizarse en cada inserto, como se muestra en la Figura 10. Se aplicará una carga axial de 53.4 kN (12 kips) a cada inserto por separado y se mantendrá al menos 3 minutos, tiempo durante el cual se realizará una inspección para determinar si hay algún deslizamiento del inserto o cualquier agrietamiento del concreto.
Nota:
El agrietamiento del concreto en las proximidades del inserto no es una causa de falla. Si se producen fallas, no se habrán cumplido los requisitos de esta prueba. La incapacidad del inserto para resistir la carga de 53.4 kN (12 kips) sin deformación permanente también constituirá un criterio de falla de esta prueba.
2.     Una vez superada con éxito la prueba de extracción del inserto, se realizará la prueba de torque en cada inserto. Se aplicará un torque de 339 N-m (250 ft-lb) sobre el eje vertical del inserto por medio de una llave dinamométrica calibrada y un accesorio adecuado al inserto. El torque se mantendrá durante no menos de 3 minutos. La capacidad del inserto para resistir este par sin rotación, agrietamiento del concreto o deformación permanente constituirá la aprobación de esta prueba.

Figura 10 Prueba de Extracción del Inserto
12.5.7. Prueba de levantamiento de la fijación
12.5.7.1. Propósito de la prueba
Parte A: Determina la fuerza del sistema de fijación de riel al durmiente.
Parte B: Determina la capacidad mínima de sobrecarga de los dispositivos del sistema de fijación.
12.5.7.2. Frecuencia de prueba
Sólo pruebas de calificación inicial.
12.5.7.3. Procedimiento de prueba / Configuración:

Figura 11. Prueba de levantamiento de la fijación
12.5.7.3.1. Parte A (Prueba de fuerza de fijación del sistema):
1.     Una pieza de riel de 457 mm-508 mm (18 in - 20 in) debe asegurarse a un asiento de riel utilizando un conjunto completo de fijación del riel (es decir, almohadilla, pernos, clips y software asociado según lo recomendado por el fabricante del sistema de fijación del riel).
2.     Se aplicará una carga de tracción creciente normal y centrada en el asiento del riel para levantar el riel de manera uniforme hasta que haya espacio suficiente para permitir la inserción de cuatro cuñas de acero de 0.2 mm-0.3 mm (0.006 in - 0.010 in) debajo del riel, una en cada esquina del asiento del riel. Reducir la carga a cero.
3.     De acuerdo con el diagrama de carga mostrado anteriormente, se aplicará una carga a una velocidad no superior a 4.45 kN por minuto (1 kip/min) al riel.
4.     La carga P perpendicular de la base del riel a la cual sólo es posible retirar todas las cuñas a mano deberá ser registrada. Si el desplazamiento medido por cualquiera de los instrumentos difiere del desplazamiento promedio en > 20% del desplazamiento máximo, se debe repetir el ciclo de carga asegurándose de que la fuerza se aplique centralmente a la plataforma del riel.
12.5.7.3.2. Parte B (Prueba de capacidad de sobrecarga):
1.     La carga deberá ser completamente liberada.
2.     A continuación, se aplicará una carga de 1.5P (que no exceda de 44.5 kN [10 kips]) y se medirá el espacio de separación.
3.     Liberar la carga.
4.     Volver a cargar el espacio de separación y registrar la carga "P2" para compararla por conjunto permanente
12.5.7.3.3. Criterios de aceptación o rechazo de la prueba:
Para todos los durmientes de concreto que utilicen fijaciones elásticas, los insertos no deben extraerse ni aflojarse en el concreto y ningún componente del sistema de fijación deberá fracturarse o liberarse el riel.
12.5.8. Prueba de carga repetida de la fijación
12.5.8.1. Propósito de la prueba:
Determina la capacidad del sistema de fijación para soportar cargas verticales y laterales.
12.5.8.2. Frecuencia de prueba:
Solo prueba de calificación inicial.
12.5.8.3. Procedimiento de prueba / Configuración:
 

Figura 12. Prueba de Sujeción Carga Repetida
(1)   Una pieza de riel de 457 mm a 508 mm (18 in a 20 in) se asegurará a un asiento de riel utilizando un conjunto completo de fijación de riel (es decir, almohadilla, pernos, clips y hardware asociado según lo recomendado por el fabricante del sistema de sujeción de riel).
(2)   Se determina la carga P que sólo causará la separación del riel de la almohadilla del asiento del riel o la almohadilla del asiento del riel, lo que ocurra primero. Esta carga podrá determinarse durante la prueba de "Levantamiento de la fijación" del inciso 12.5.7, en cuyo caso se utilizará un nuevo juego de clips de sujeción para la prueba de carga repetida.
(3)   De conformidad con el diagrama de carga anterior, las cargas alternas hacia abajo y hacia arriba se aplicarán en un ángulo de 20 grados con respecto al eje vertical del carril durante 3 millones de ciclos. La frecuencia de carga no excederá de 300 ciclos por minuto. El riel deberá poder girar libremente bajo las cargas aplicadas. Un ciclo consistirá tanto en una carga descendente como en una ascendente.
(4)   La magnitud de la carga ascendente será 0.6P, donde P es la carga determinada en el párrafo (2). Si se utilizan muelles para generar la carga ascendente, la carga descendente será de 133.5 kN (30 kips) más 0.6P. Si se utiliza un ariete hidráulico de doble efecto para generar tanto la carga ascendente como la descendente, la carga descendente será de 133.5 kN (30 kips).
(5)   Esta prueba de carga repetida puede generar calor en las almohadillas de asiento de riel elastomérico. No se debe permitir que la acumulación de calor en dichas almohadillas exceda los 71 ° C (140 ° F). La acumulación de calor se puede controlar reduciendo la frecuencia de aplicación de la carga o proporcionando periodos de descanso para permitir que se produzca el enfriamiento de la almohadilla.
(6)   No se permitirá la retorsión de elementos roscados antes de completar 500000 ciclos de carga sin la aprobación del fabricante.
12.5.8.4. Criterios de aceptación y/o rechazo de la prueba
El fallo por rotura de cualquier componente del sistema de fijación constituirá la no aprobación.
12.5.9. Prueba de restricción longitudinal de la fijación
12.5.9.1. Propósito de la prueba
Determina la capacidad del sistema de fijación para resistir el movimiento longitudinal del carril.
12.5.9.2. Frecuencia de prueba
Sólo prueba de calificación inicial.
12.5.9.3. Procedimiento de prueba / Configuración:

Figura 13. Prueba de Restricción longitudinal de la fijación.
(1)   Esta prueba se realizará tanto antes como después de la prueba de carga repetida de la fijación (inciso 12.5.8). Esta prueba se realizará sin perturbar en modo alguno el conjunto del riel.
(2)   Se aplicará una carga de tracción longitudinal (Figura 13) en incrementos de 1.8 kN (0.4 kips) con lecturas tomadas del desplazamiento longitudinal del riel después de cada incremento. La carga se aplicará en una dirección que coincida con el eje longitudinal del riel.
(3)   Las lecturas de desplazamiento del riel serán el promedio de dos lecturas del indicador de dial medidas a 0.03 mm (0.001 in). Los indicadores de dial se colocarán a cada lado del carril con émbolos paralelos al eje longitudinal del riel.
(4)   La carga se incrementará gradualmente hasta alcanzar una carga de 10.7 kN (2.4 kips). Esta carga se mantendrá durante no menos de 15 minutos.
12.5.9.4. Criterios de aceptación y/o rechazo de la prueba
El riel no debe moverse más de 5 mm (0.20 in) durante la carga y el periodo inicial de 3 minutos. No debe haber más de 0.3 mm (0.01 in) de movimiento después de los primeros 3 minutos.
 
La fijación deberá ser capaz de cumplir los requisitos de esta prueba en cualquier dirección.
12.5.10. Prueba de restricción de carga lateral de la fijación
12.5.10.1. Propósito de la prueba
Determina la capacidad del sistema de sujeción para resistir cargas laterales.
12.5.10.2. Frecuencia de prueba
Sólo prueba de calificación inicial.
12.5.10.3. Procedimiento de prueba / Configuración
(1)   Se asegurará una longitud adecuada de riel nuevo (del tamaño que se utilizará en vía) a un asiento de riel utilizando un conjunto completo de fijación (es decir, almohadilla, pernos, clips y hardware asociado según lo recomendado por el fabricante del sistema de fijación de riel).
(2)   Todo el conjunto se apoya y carga de acuerdo con el diagrama de carga anterior. El cabezal de carga debe fijarse contra traslación y rotación. El bloque de madera debe ser de 254 mm x 254 mm x 19 mm (10 in x 10 in x 3/4 in) de espesor 5 capas, madera contrachapada de grado exterior.
(3)   Se aplicará una precarga de 89 kN (20 kips) al riel para sujetarlo en el cierre. Al soltar la precarga, se debe tomar una lectura cero en los indicadores de esfera que miden la traslación ferroviaria.
(4)   La carga debe aplicarse a una velocidad que no exceda de 22.2 kN (5 kips) por minuto hasta que se hayan aplicado 182.4 kN (41 kips) o la base del riel haya traducido 3 mm (1/8 in), lo que ocurra primero.
(5)   Con toda la carga retirada del riel, se coloca un nido de rodillos entre el cabezal de carga fijo y el bloque de madera en el cabezal del riel. El nido de rodillos no deberá ofrecer resistencia al movimiento lateral de la cabeza del riel.
(6)   Después de la lectura cero de los indicadores de la esfera (que miden el ensanchamiento del ancho de medición y la traslación del carril), se aplicará una carga de 91.2 kN (20.5 kips) a una velocidad que no exceda de 22.2kN (5 kips) por minuto.
12.5.10.4. Criterios de aceptación y/o rechazo de la prueba:
La incapacidad del sistema de fijación para transportar la carga de 182.4 kN (41 kip) con 3 mm (1/8 in) o menos de traslación del riel constituirá falla.
La falla completa de cualquier componente del durmiente o fijación es causa de rechazo.
La rotación del riel (es decir, el ensanchamiento del medidor menos la traslación del riel) superior a 6 mm (1/4 in) constituirá un rechazo de esta prueba.
12.5.11. Prueba de impedancia eléctrica de la fijación
12.5.11.1. Propósito de la prueba
Determina la capacidad del sistema de durmiente y cierre para resistir las corrientes eléctricas de conducción en condiciones húmedas.
12.5.11.2. Frecuencia de prueba:
Se requieren pruebas de calificación inicial y pruebas de rutina.
12.5.11.3. Procedimiento de prueba / configuración:
(1)   Se asegurarán dos longitudes adecuadas de riel (mayores que el ancho de la atadura) a los dos asientos de riel utilizando un conjunto completo de fijación (es decir, almohadilla, pernos, clips y hardware asociado según lo recomendado por el fabricante del sistema de fijación del riel).
(1)   El conjunto completo de durmiente y riel se sumergirá en agua durante un mínimo de 6 horas. Al comienzo de cada prueba, el agua deberá presentar un valor de resistividad eléctrica entre 1000 y 1500 Ohms - cm (394 Ohms - in y 591 Ohms - in). Alternativamente, se puede medir la conductividad del agua y debe estar entre 67 ms/m y 100 ms/m (20 ms/ft y 30 ms/ft).
(2)   Retirar el conjunto de durmiente y riel del agua y realice el resto del procedimiento de prueba a temperatura ambiente dentro de 1 hora.
(3)   Limpiar el punto de contacto en cada riel, asegurándose de que los puntos de contacto estén libres de óxido u otros contaminantes, y conectar los cables de prueba.
(4)   Aplicar 10 V de CA a 60 Hz de potencial entre los dos rieles de rodadura durante un periodo de 15 minutos.
(5)   Medir el flujo de corriente entre los dos rieles.
(6)   Calcular la impedancia dividiendo los 10 V aplicados por el flujo de corriente en amperios.
12.5.11.4. Criterios de aceptación y/o rechazo de la prueba:
Deberán haberse cumplido los requisitos de esta prueba, si se ha medido un valor mínimo de impedancia de 20000 Ohms.
12.5.12. Prueba de integridad de la almohadilla de riel
12.5.12.1. Propósito de la prueba
Determina si la almohadilla del riel mantiene características aceptables de deflexión de carga después de la prueba de carga repetida.
12.5.12.2. Frecuencia de prueba:
Solo pruebas de calificación iniciales.
12.5.12.3. Configuración de la prueba:

Figura 14 - Prueba de integridad de la almohadilla de riel.
(1)   De un lote de 10 almohadillas, se seleccionará una para la prueba. La almohadilla del riel debe probarse como instalada en un sistema de fijación a una temperatura de 21 ± 2.8 ºC (70 ± 5 ºF) y llevarse a cabo sin alterar el conjunto de ninguna manera.
(1)   Los componentes del conjunto de sujeción serán los que se proponga utilizar en vía junto con una longitud suficiente de riel de la sección apropiada requerida para el sistema de fijación. La atadura o bloque de concreto debe realizarse sin modificación para la prueba.
(2)   El lazo, completo con el conjunto de fijación y el riel, se montará en un soporte rígido de tal manera que el actuador pueda aplicar carga a la línea central de la cabeza del riel y por encima de la línea central longitudinal del lazo. La fuerza se aplicará normalmente al pie de carril.
(3)   Una carga cíclica que varíe de 18 a 133 kN (4 a 30 kips) se aplicará continuamente a una velocidad de 4 a 6 ciclos por segundo para un total de 1000 ciclos.
(4)   Se aplicará una carga creciente, a una velocidad comprendida entre 13.3 a 26.7 kN/min (3 y 6 kips/min) hasta un máximo de 223 kN (50 kips). La deflexión vertical de la almohadilla se medirá con una frecuencia mínima de una vez por 4.45 kN (1 kip) hasta la más cercana 0.003 mm (0.0001 in). La carga se liberará a una velocidad mínima de 102 kN/s (23 kips/s), para completar la curva de
descarga.
(5)   El desplazamiento vertical del riel se registrará utilizando transductores ASTM E 2309 Clase A colocados en relación con las cuatro esquinas del asiento del carril. Si el desplazamiento registrado por cualquiera de los transductores individuales varía en un porcentaje mayor al 20% del promedio de los transductores, la prueba debe volver a realizarse. Si esto ocurre, compruebe que el actuador se está cargando perpendicular al asiento del riel.
(6)   Los valores registrados para la carga vertical frente a la deformación se trazarán en un gráfico.
(7)   La velocidad del muelle se calculará por la pendiente de la línea que conecta los puntos que representan las deflexiones de las pastillas a:
a)    107 y 196 kN (24 y 44 kips) para carga por ejes de carga
b)    18 y 89 kN (4 y 20 kips) para la carga por eje de pasajeros.
12.5.12.4. Criterios de aceptación y/o rechazo de la prueba
Los requisitos de esta prueba se habrán cumplido si los valores de la tasa de resorte determinados a partir de ambas pruebas de almohadilla, realizadas como parte de las pruebas de rendimiento de diseño especificadas en 3.4.1.3, no varían en más del 25%.
12.5.13. Prueba de atenuación de impacto
12.5.13.1. Propósito de la prueba
La prueba se utiliza para comparar la atenuación de las cargas de impacto en las uniones de diferentes almohadillas de rieles. La prueba es aplicable a la vía con balasto y al sistema de fijación completo.
12.5.13.2. Frecuencia de prueba
Sólo prueba de calificación inicial.
12.5.13.3. Configuración de la prueba:
Esta prueba compara las propiedades de atenuación de los diseños de almohadillas con una almohadilla plana Amtrak EVA de 5 mm (1/5 in) de referencia fabricada con Dupont Elvax 660 (o equivalente) con una rigidez relativa de la almohadilla que no sea inferior a 494 kN/mm (2850 kip/in). Si la almohadilla que se va a ensayar tiene un grosor distinto de 5 mm (1/5 in), la diferencia se compensará mediante el uso de una placa de aluminio, que se colocará entre el riel y la almohadilla.
Se utilizará un durmiente de concreto sin fisurar, realizado sin modificaciones para esta prueba, de las dimensiones correctas del asiento del carril para el sistema de sujeción. Se registrará la masa del durmiente. El durmiente debe tener dos galgas extensométricas de resistencia de 102 mm a 121 mm (4 in a 4 ¾ in) de longitud de calibre unidas al durmiente en la línea central del asiento del riel. Las galgas extensométricas estarán orientadas paralelamente a la base del durmiente. Un calibre debe estar lo más cerca posible del asiento del riel pero evitando cualquier chaflán o radio de borde, y el segundo debe estar al menos 10 mm (3/8 in) pero no más de 25.4 mm (1 in) por encima de la base del durmiente. Ver Figura 15.

Figura 15. Prueba de Atenuación de Impacto
Antes de proceder a la prueba de atenuación, el durmiente debería haberse sometido previamente a una prueba de momento flexionante positiva del asiento del riel, tal como se describe en el Apéndice D. Los valores de las galgas extensométricas superior e inferior a la carga P, tal como se definen, deberán registrarse como deformaciones estáticas de durmiente. Estos valores se utilizarán posteriormente a efectos de la validación de la integridad de la prueba. Es aceptable reutilizar estos valores de deformación estática en el caso de que se realicen varias pruebas en el mismo durmiente.
El soporte de durmiente debe consistir en un lecho de piedra triturada con un tamaño de partícula de 5 mm a 15 mm (0.2 in a 0.6 in) contenido en un tanque. El soporte debe permitir una deflexión vertical del durmiente de 0.1 mm a 0.5 mm (0.004 in a 0.02 in) cuando el durmiente está sujeto a un aumento en la carga estática de 50 kN a 60 kN (11200 a 13500 lb) en un asiento de riel. Si no se cumple la especificación, el balasto debe reemplazarse y el proceso de calibración debe llevarse a cabo antes de realizar cualquier prueba adicional. Alternativamente, el soporte puede consistir en una estera de goma sobre una base firme que exhiba las mismas propiedades de deflexión vertical que se definieron anteriormente.
Se utilizará un riel de 305 mm (12 in) de longitud de la sección apropiada requerida para el sistema de fijación que se va a probar.
La combinación de masa de gota y altura de gota debe ser tal que el impacto aplicado sea inferior al 80% de la tensión estática del durmiente, como se registró anteriormente. El intervalo de tiempo para la salida de galgas extensométricas del primer impulso de carga debe ser de 1 a 5 ms. Si no se alcanzan estos parámetros, la masa de gota y la altura de gota deben ajustarse para garantizar el cumplimiento.
La rigidez estática de una almohadilla de referencia EVA de 5 mm (1/5 in) de espesor debe medirse para garantizar que la almohadilla de referencia que se utilizará tenga una rigidez no inferior a 494 kN/mm (2.850 kip/in).
12.5.13.4. Procedimiento de prueba
El sistema de fijación que se va a probar debe construirse utilizando la almohadilla de referencia EVA previamente probada para la rigidez estática. El sistema de fijación debe someterse a un total de diez impactos, y los valores de galgas extensométricas superior e inferior deben promediarse y registrarse como la tensión máxima media. Se calculará un valor medio para las deformaciones medias de los diez impactos.
La prueba en la almohadilla EVA debe llevarse a cabo nuevamente, y el resultado debe compararse con el que se calculó anteriormente. Si este resultado está dentro del ±10% del valor medio, entonces el resultado puede ser aceptado y utilizado en la medición del sistema de fijación a probar.
Si el resultado no está dentro del límite del 10%, las condiciones de prueba deben ajustarse y repetirse la prueba hasta que se cumpla este criterio.
La almohadilla EVA debe reemplazarse con la nueva almohadilla de prueba.
El sistema de fijación con la nueva plataforma de prueba debe someterse a cinco impactos, cuyos resultados deben descartarse. A continuación, el sistema de fijación debe estar sujeto a otros tres impactos con los valores máximos de galgas extensométricas registrados para cada impacto.
La atenuación del impacto en la parte superior e inferior del durmiente se calculará para la plataforma de prueba en relación con la almohadilla de referencia para cada uno de los tres impactos medidos. Se utilizará el método siguiente, de acuerdo con las siguientes denotaciones:
         Atenuación del impacto; reducción de la deformación del durmiente de la almohadilla de prueba frente a la almohadilla de referencia
        Porcentaje de atenuación en la parte superior del durmiente
        Porcentaje de atenuación en la parte inferior del durmiente
        Primera deformación máxima en la parte superior del durmiente; almohadilla de prueba
       Primera cepa máxima en la parte inferior del durmiente; almohadilla de prueba
      Primera tensión máxima media en la parte superior del durmiente; Almohadilla de referencia
      Primera tensión máxima media en la parte inferior del durmiente; Almohadilla de referencia
 

Figura 16 - cálculo de atenuación de impacto
El resultado de la prueba se informará como el valor medio de atenuación de los tres impactos registrados utilizando la plataforma de prueba.
12.5.13.5. Validación de la prueba (condición de durmiente)
Para aceptar los resultados de la prueba, se debe calcular la relación entre las galgas extensométricas superior e inferior para las muestras de prueba. Esta relación debe compararse con la relación estática detallada anteriormente. Si la relación entre las galgas extensométricas superior e inferior durante las pruebas dinámicas está dentro del 10% del valor registrado para la prueba estática, los resultados pueden ser aceptados. Si no se cumplen estos criterios, los resultados deben ser rechazados y no deben ser reportados.
En este caso, se debe reemplazar el durmiente y llevar a cabo el procedimiento de aceptación del durmiente para verificar el nuevo durmiente. A continuación, debe repetirse la prueba del sistema de fijación.
12.5.14. Prueba de desgaste/abrasión del sistema de durmiente y fijación
12.5.14.1. Propósito de la prueba
Prueba de fatiga para determinar el deterioro del asiento del riel y el rendimiento del sistema de fijación en entornos de carga pesada por eje (peso bruto del vagón entre 130000 kg (286000 lb) y 143000 kg (315000 lb) debido a cargas repetidas.
12.5.14.2. Frecuencia de prueba
Pruebas iniciales de calificación del sistema de fijación y durmiente o para evaluaciones de componentes según sea necesario. Si se cambia o modifica algún componente individual que comprenda el sistema, se recomienda repetir esta prueba.
12.5.14.3. Procedimiento de prueba / configuración
Este aparato y procedimiento de prueba se recomienda para evaluar el rendimiento de todos los tipos de sistemas de durmiente y fijación.
(1)   Para esta prueba se utilizará un riel nuevo 141RE. La longitud del riel será de 457 mm (18 in) (152 mm [+/-6 in]). El riel debe estar centrado en el sistema de sujeción.
(2)   Se exigirán lugares de medición de deflexión en los puntos 1, 2, 7, 8 (lado del indicador) y también podrán colocarse en los puntos 3 a 6 según sea necesario. Los puntos de medición de deflexión se establecerán 127 mm (5 in) a cada lado de la línea central del sistema de fijación.

Figura 17. Ejemplo de prueba
(3)   La máquina de prueba consiste en un bastidor de carga con un actuador hidráulico de doble acción servocontrolado. La carga se distribuye a través de dos brazos de carga colocados en un ángulo de 27.5 grados desde la vertical. La carga se transmite por igual a cada cabeza de riel de una atadura completa utilizando el sistema de fijación adecuado. Alternativamente, se puede utilizar un solo asiento de riel, vea la Figura 18.

Figura 18. Diagrama de Carga
(4)   La carga aplicada a través del actuador para simular condiciones para curvas tangentes o poco
profundas es de 22700 kg (50000 lb). Con base en esta carga, la distribución de carga por asiento de riel es de 11350 kg (25000 lb), vertical y 5902 kg (13000 lb) lateral (con relación L/V = 0.52).
(5)   La carga aplicada a través del actuador para simular condiciones para pruebas de servicio severas (es decir, curvas mayores de 5 grados) es de 30000 kg (65000 lb). Con base en esta carga, la distribución de carga por asiento de riel es de 14800 kg (32500 lb) vertical y 7700 kg (16900 lb) lateral (con relación L/V = 0.52).
(6)   Se debe aplicar una carga de acción lateral inversa de 454 kg (1000 lb) (en cada riel individual) a los rieles en la base del lado del campo del riel con el uso de un dispositivo para maximizar el recorrido repetido de la base del riel para simular las condiciones reales del campo.
(7)   También debe simularse un ambiente abrasivo en cada asiento de riel. Las boquillas de goteo de agua se colocan sobre los lados del campo y del medidor de cada asiento de riel. La arena limpia y seca se extiende a ambos lados del asiento del riel. Aplique arena por encima del aislante (que está por encima del clip). El agua debe transportar la arena entre el aislante y el riel y el aislante y el hombro. (Nota: Para los durmientes de concreto, la carga cíclica simulará la acción hidráulica que atrae el agua cargada de abrasivo debajo de la almohadilla para introducir el medio abrasivo).
a)    La arena debe ser Ottawa White Sand que consta de 99.5% mínimo de SiO2, 7 Mohs de dureza, gravedad específica de 2.65 y densidad aparente de 100 lb / ft3 (ASTM C 778) especificaciones. Aplique un mínimo de 2 cucharaditas (9 g [0.333 oz]) por asiento de riel (50% por lado) diariamente, pero dentro de un rango entre 170000 - 260000 ciclos.
b)    Agua: 36 ml (1.25 oz) (+/- 7 ml [0.25 oz]) de grifo (agua potable) por punto de acceso por hora por goteo continuo. Se necesitan dos puntos de goteo por asiento de riel. Cada punto de agua está por encima del aislante para acceder a la base del riel y al aislante. Esto se repite para cada lado del riel.
(8)   Los ambientes de temperatura se simularán en cada asiento de riel. Mida la temperatura debajo de la base del riel adyacente a la plataforma del riel.
a)    Para baja temperatura: se construye una pequeña cámara alrededor del asiento del riel. La cámara está llena de hielo seco. La temperatura del componente se controla con termopares. (Nota: Por lo general, se permite que la temperatura baje a -40 °C [-40 °F] mientras se ejecuta la prueba de fatiga. Cuando los componentes alcanzan -40 °C [-40 °F], el hielo seco se retira de la cámara, lo que permitirá que los componentes vuelvan a la temperatura ambiente). Repita diariamente dentro de un rango entre 170000 y 260000 ciclos. Opere a un mínimo de una hora a temperatura ambiente antes de pasar a la etapa de calefacción.
b)    Para la temperatura superior, permita que los componentes vuelvan a la temperatura ambiente, aplique calor según sea necesario para permitir que la almohadilla alcance 57 °C ± 3 °C (135 ± 5 °F) durante una hora. Use una lámpara de calor radiado si es necesario. Retire la fuente de calor y vuelva a la temperatura normal de prueba. Repita diariamente dentro de un rango entre 170000 - 260000 ciclos.
c)    Los componentes se comprueban visualmente sin desmontar para detectar cualquier signo de daño que pueda haber resultado de los efectos combinados de la carga de fatiga y la temperatura extrema.
d)    Se puede seguir la siguiente carga del ciclo de temperatura:
1.     Día 1 - No se introducen ciclos de temperatura para garantizar que la prueba y los componentes se asienten correctamente y no se produzcan fallas prematuras.
2.     Día 2 - Aplique el ciclo de frío, luego la temperatura ambiente (definida como 21 °C +/- 11 °C [70 °F +/- 20 °F]) durante una hora, el ciclo de calor y la temperatura ambiente durante una hora.
3.     Día 3 - Temperatura ambiente.
4.     Día 4 - Repita los ciclos de frío y calor como en 2.
5.     Día 5, 6, 7 - Temperatura ambiente.
6.     Día 8 Repita los ciclos de frío y calor como en 2.
7.     Continúe la rotación hasta que se completen las pruebas.
(9)   Véase el dibujo de medición de deflexión anterior. Para medir los desplazamientos de la carga estática y dinámica durante la prueba, se coloca un transductor de desplazamiento detrás de la cabeza del riel en cada asiento del riel. Las deflexiones se monitorean a intervalos regulares (500000 ciclos como mínimo) y se rastrean durante toda la prueba para garantizar que no haya un movimiento excesivo para rastrear las tendencias de desplazamiento (es decir, mediciones consistentes de deflexión de la cabeza que exceden 5 mm [0.2 in]). Se pueden tomar mediciones de deflexión adicionales (por ejemplo, base vertical, base lateral, lado del indicador vertical) agregando transductores al conjunto.
(10)  Fije todos los durmientes de prueba mediante fijación directa a la base del conjunto de prueba. Esto se puede hacer con material cementoso.
(11)  Para los conjuntos de durmientes de concreto, se deben realizar los siguientes procedimientos previos a la prueba:
(a)   Antes del ensamblaje, el área del asiento del riel de la unión de prueba se limpia para garantizar que nada interfiera con el conjunto de la fijación. Como referencia, el asiento del riel está fotografiado en la condición previamente probada. El asiento del riel también se inspecciona en busca de orificios de aire, crestas o superficies irregulares. Si se observa alguna anomalía durante esta inspección, se notifica al ingeniero y se recomienda un curso de acción. Esto generalmente implica reparaciones menores para rellenar agujeros de aire o para nivelar la superficie. Mida el perfil del asiento del riel para reflejar el contorno y proporcionar una base para referencia y desgaste. Utilice un instrumento de medición similar al que se muestra arriba y mida un mínimo de nueve puntos.

Figura 19. Instrumento de medición
(b)   Si el durmiente no puede repararse satisfactoriamente, se utiliza un durmiente alternativo.
 
(c)   Antes de la instalación, se inspeccionan los componentes que se instalarán en cada asiento. Las mediciones del grosor de la almohadilla se toman en tres ubicaciones a lo largo del borde del riel del lado del campo, a través del medio y en el borde del riel lateral del medidor de cada almohadilla. Cada aislador se mide en tres ubicaciones en el poste y una ubicación en el área del cojinete del clip. La posición de todos los componentes debe registrarse para orientación y mantenerse en la misma posición. Si un componente falla, informe de la falla a la parte que solicita la prueba y determine si la prueba debe continuar. Al probar sistemas de fijación, no se debe reemplazar ni invertir ningún componente. Cuando se realizan pruebas de desgaste de durmiente y la fijación no está bajo evaluación, los componentes pueden invertirse y reemplazarse. Informe todas las reversiones y reemplazos y en qué punto (X ciclos) durante el recuento de carga cíclica.
1.     Se recomienda que se seleccionen los componentes de tolerancia mediana. Informe la dimensión mediana frente a cada medición real. La parte que solicita la prueba debe comprender que los componentes de ajuste hermético funcionarán mejor que los componentes de ajuste suelto, pero se deben usar componentes medianos.
2.     Mida la distancia adyacente del hombro para el cumplimiento medio. Si usa todo el durmiente, mida hacia afuera. Si prueba sólo un asiento de riel, duplique el desplazamiento efectivo de ensanchamiento del ancho.
3.     Verifique la conicidad de la cara del hombro.
4.     Mida e informe la rotación angular (vista en planta) de cada hombro con respecto al eje longitudinal del durmiente.
5.     Informe la elevación del punto de reacción del clip del hombro y la altura mediana.
6.     Mida el ancho y el grosor del aislador (tanto en los extremos como en el medio).
7.     Mida el grosor de la almohadilla o el conjunto de la almohadilla del riel (grosor establecido) en nueve ubicaciones por asiento de riel. Estos emplazamientos se situarán aproximadamente en el mismo lugar que las medidas del asiento de riel indicadas en el punto 11, letra a).
8.     Durómetro(s) de componentes del ensamblaje de la almohadilla de medida (ASTM D 2240).
9.     Almohadillas - Temperatura récord de la almohadilla.
·      Determinar la temperatura. Asegúrese de que la temperatura no exceda los 60 °C (140 °F). Agregue un ventilador si es necesario para reducir la temperatura.
·      Tome la temperatura debajo de la base del riel adyacente a la plataforma del riel utilizando un termopar.
·      Si se está probando una almohadilla de riel de goma, asegúrese de que la temperatura de prueba del riel cumpla con la prueba del ciclo de calor anterior.
10.   El fabricante del aislador proporcionará aisladores adecuadamente y con las mismas condiciones. El laboratorio informará el peso de cada aislante y comparará ese peso con el peso recomendado por el fabricante.
11.   Carga del dedo del pie del clip medida e informada. Utilice un movimiento vertical de 0.15 mm (0.006 in) del riel para equiparar la carga de los dedos. (restar el peso del riel)
12.   El perfil de superficie del concreto se informará al comienzo de la prueba y al final de la prueba.
13.   El fabricante del durmiente comunicará al cliente la siguiente información relativa a las propiedades del concreto:
·      Resistencia a la compresión.
·      Tipo agregado - informe según ASTM C 295.
·      Fecha de reparto de durmiente.
·      Relación agua/contenido cementoso total.
·      Diseño de mezcla SSD por yarda.
·      División de la resistencia a la tracción ASTM C 496.
·      Resultados de ASTM C 779.
(a)   Si se utilizan placas de abrasión de acero sueltas o almohadillas de base equivalentes, deben inspeccionarse para detectar defectos o grietas que puedan influir en los resultados de la prueba. Luego se miden en los mismos lugares que las almohadillas y se colocan en cada asiento del riel.
(b)   Para completar el montaje, las almohadillas se colocan en cada asiento de riel y se comprueba su correcta posición. Los rieles de prueba se colocan en las almohadillas de rieles y los aisladores se colocan en las bases de rieles, adyacentes a los hombros. A continuación, se instalan los clips.
(12)  Después de completar los procedimientos previos a la prueba (es decir, el durmiente completamente ensamblado se configura en el marco de carga de fatiga), se toma una medición de deflexión de la cabeza bajo carga estática para establecer un punto de referencia. Al aplicar la carga máxima, compruebe el desplazamiento medido de la altura en los registradores de datos.
(13)  Después de completar la medición de carga estática, ejecute la prueba de desgaste / abrasión. Esta prueba debe ejecutarse durante al menos 3000000 de ciclos (o hasta el fallo) a una frecuencia de 2.5 Hz (± 20%). Esta carga repetida puede generar calor en las almohadillas de los asientos de riel elastoméricos o en los durmientes compuestos. No se debe permitir que la acumulación de calor en tales almohadillas o durmientes compuestos exceda los 60 °C (140 °F). Las temperaturas normales de prueba oscilan entre 2 °C y 38 °C (35 y 100 °F). La acumulación de calor se puede controlar reduciendo la tasa de aplicación de carga o proporcionando periodos de descanso para permitir que la almohadilla se enfríe. Se puede usar un ventilador para reducir la temperatura de prueba.
(14)  Antes y al finalizar la prueba de desgaste / deterioro, los conjuntos de asientos de riel deben ser examinados y fotografiados. Se debe repetir la prueba de deflexión de carga estática. Cualquier anomalía debe ser documentada. Los sistemas de fijación en cada asiento de riel deben desmontarse. Los componentes deben volver a medirse. Los componentes deben ser examinados para detectar signos de falla / daño. Deben medirse las profundidades máximas de deterioro del asiento del riel. El asiento del riel debe ser examinado para detectar signos de daño. Cualquier otra anomalía debe ser documentada.
12.5.14.4. Criterios de aceptación y/o rechazo de la prueba
La falla de la prueba ocurre cuando un componente individual se "rompe" o cuando las deflexiones del riel en cualquier punto de medición son mayores que 5 mm (0.20 in).
12.5.15. Prueba de empuje lateral simple del durmiente
12.5.15.1. Propósito de la prueba
Determinar la capacidad de un durmiente para resistir el movimiento perpendicular al riel (estabilidad lateral).
12.5.15.2. Frecuencia de prueba
Pruebas de rendimiento con fines de investigación y comparación.
12.5.15.3. Procedimiento de prueba / Configuración
(1)   La sección de prueba se seleccionará en un lugar de vía en el que se instalen consecutivamente de forma estándar un mínimo de tres durmientes del mismo tipo que se evalúen. La instalación debe incluir la sujeción completa, apisonar el balasto y regular/vestir el balasto en los extremos del durmiente y con un material limpio a 4 °C (40 °F) o más. La temperatura ambiente no será igual o superior a la temperatura neutra del riel.
(2)   El durmiente intermedio de los tres durmientes consecutivos será el durmiente que se pruebe.
(3)   El aparato de prueba será un pistón hidráulico y un soporte angular de acero (es decir, soporte de reacción) que se puede sujetar a la atadura. El pistón debe tener un tamaño suficiente para ejercer un mínimo de 44.5 kN (10000 lb). y tendrá una extensión mínima de 76 mm (3 in). El mecanismo hidráulico debe tener una lectura que muestre la lectura de carga máxima (es decir, libras de fuerza que se está aplicando).
(4)   El soporte de reacción se sujetará al durmiente. Para durmientes de concreto, se puede unir a los
hombros del durmiente.
(5)   El soporte de reacción debe colocarse de manera que el pistón en su estado no extendido encaje entre él y la banda del riel y proporcione un mínimo de 51 mm (2 in) de recorrido del pistón.
(6)   Una vez que se haya fijado el soporte de reacción, retire los sujetadores del riel para el durmiente de prueba y retire las placas de durmiente entre el riel y el durmiente de prueba.
(7)   Retire los cierres de varios durmientes (al menos 3 a 5) a cada lado del durmiente de prueba.
(8)   Utilizando gatos de cadena que se colocan a una cuna de distancia del durmiente de prueba, levante ambos rieles a una altura suficiente para asegurarse de que el durmiente de prueba no entre en contacto con los rieles cuando se empuje hacia afuera.
(9)   Coloque el pistón entre el soporte de reacción y la banda del riel y gate el pistón hasta que se realice el contacto inicial.
(10)  Coloque un dispositivo de medición de modo que se pueda registrar la distancia que mueve el durmiente de prueba.
(11)  Después de asegurarse de que se restablece la lectura de carga, continúe levantando el pistón de manera uniforme hasta que la carga permanezca constante o comience a caer.
(12)  Registre la fuerza máxima para empujar el durmiente de prueba (a los 222 N [50 lb] más cercanos). Registre la distancia aproximada recorrida por el durmiente de prueba cuando se alcanzó esta fuerza máxima, ancho registrado del hombro, tonelaje bruto anual desde la última perturbación del balasto, tipo de durmiente, edad y condición.
(13)  Prepare un gráfico de deflexión de carga para los resultados medidos.
(14)  Una vez que se completa la prueba, el durmiente de prueba debe empujarse de nuevo a su posición original.
12.5.15.4. Criterios de aceptación y/o rechazo de la prueba
NOTA: Los valores típicos para un durmiente de madera oscilarán entre un mínimo de aproximadamente 6.2 kN (1400 lb) en la instalación inicial a aproximadamente 16 kN (3500 lb) después de 10 MTB de tráfico. Debido a las muchas variables que podrían afectar los resultados de cualquier prueba individual dada, los resultados concluyentes no son posibles realizando una sola prueba. Si se desean resultados comparativos, entonces los diferentes tipos de durmientes deben instalarse en la misma vecindad general y han sido sometidos a una instalación, tráfico, tipo de material, ancho de cuna y ancho de hombro de lastre similar.
______________________________
 
1     La durabilidad por congelación-descongelación generalmente se puede obtener con un mínimo de 4.5% de aire en el concreto húmedo, un contenido mínimo de vacío de aire del 3.5% en el concreto endurecido y un factor de espaciado de vacío de aire que no exceda de 0.2 mm (0.008 in).
2     Se recomienda emplear cualquiera de los establecidos en el Manual PCI para el Control de Calidad (MNL116, última edición).
3     La primera área de preocupación es el concreto que falla debido a la expansión dentro de la matriz de concreto. La humedad y la incompatibilidad química deben estar presentes para que se produzca la expansión. Las causas conocidas actuales son la reactividad de sílice alcalina (ASR), la reactividad de carbonato alcalino (ACR) y la formación retardada de etringita (DEF).
4     Debido a la transferencia de adherencia, los durmientes de concreto pretensado deberán tener al menos 244 cm (8 ft) de largo, a menos que se tomen medidas adicionales para garantizar una transferencia de adherencia adecuada.
5     Esto no aplica a los extremos de los torones de pretensión que pueden sobresalir del extremo del durmiente.
6     Los durmientes pretensados, que han sido probados después de estar en servicio durante más de 40 años en condiciones ambientales extremas no muestran evidencia de corrosión en los tendones dentro de la superficie exterior del durmiente. No hay evidencia que sugiera que el tratamiento final sea necesario para proteger los tendones pretensados.
7     La prueba se realizará en tres almohadillas. Las dos almohadillas que proporcionen los valores de tasa de resorte más altos y bajos se descartarán y la almohadilla restante se utilizará para las pruebas de los incisos 3.4.1.3 de los ensayos 2 a 8.
8     Para fines de ejemplo, se emplea el sistema inglés de unidades de medida. Cada proyecto deberá realizar la equivalencia entre sistemas correspondiente.
9     Para fines de ejemplo, se emplea el sistema inglés de unidades de medida. Cada proyecto deberá realizar la equivalencia entre sistemas correspondiente.
10    El factor de impacto es un incremento en porcentaje sobre la carga vertical estática que intenta estimar el efecto dinámico de las ruedas, así como las irregularidades del riel.