PROYECTO de Norma Oficial Mexicana PROY-NOM-005-ARTF-2023, Sistema Ferroviario-Operación-Pruebas de frenos de aire para trenes de carga-Disposiciones de seguridad.
Al margen un sello con el Escudo Nacional, que dice: Estados Unidos Mexicanos.- COMUNICACIONES.- Secretaría de Infraestructura, Comunicaciones y Transportes.- Agencia Reguladora del Transporte Ferroviario.
EVARISTO IVÁN ÁNGELES ZERMEÑO, Titular de la Agencia Reguladora del Transporte Ferroviario y Presidente del Comité Consultivo Nacional de Normalización de Transporte Ferroviario (CCNN-TF), con fundamento en los artículos 17, 36 fracciones VII, VIII, XII y XXVII de la Ley Orgánica de la Administración Pública Federal; 39, fracciones V y XII, 40, fracción XVI y 47, fracción I de la Ley Federal sobre Metrología y Normalización; 28 y 33 del Reglamento de la Ley Federal sobre Metrología y Normalización; Tercero y Cuarto Transitorios del Decreto por el que se expide la Ley de Infraestructura de la Calidad y se abroga la Ley Federal sobre Metrología y Normalización; 6 Bis fracciones I y XIX de la Ley Reglamentaria del Servicio Ferroviario; 40 del Reglamento Interior de la Secretaría de Comunicaciones y Transportes y Segundo del Decreto por el que se crea la Agencia Reguladora del Transporte Ferroviario, como un órgano desconcentrado de la Secretaría de Comunicaciones y Transportes, y
CONSIDERANDO
Que el artículo 1º párrafo tercero, de la Constitución Política de los Estados Unidos Mexicanos, todas las autoridades, en el ámbito de sus competencias, tienen la obligación de promover, respetar, proteger y garantizar los derechos humanos de conformidad con los principios de universalidad, interdependencia, indivisibilidad y progresividad. En consecuencia, el Estado deberá prevenir, investigar, sancionar y reparar las violaciones a los derechos humanos, en los términos que establezca la ley.
Que conforme a lo dispuesto por el artículo 28, párrafos cuarto y quinto, de la Constitución Política de los Estados Unidos Mexicanos, los ferrocarriles son un área prioritaria para el desarrollo nacional en términos del artículo 25 del ordenamiento en mención y que el Estado, al ejercer en ella su rectoría, protegerá la seguridad y la soberanía de la Nación, y al otorgar concesiones o permisos mantendrá o establecerá el dominio de las respectivas vías de comunicación de acuerdo con las leyes de la materia.
Que la Ley de Infraestructura de la Calidad en su artículo 10 fracciones VII, XII y XV se establecen como objetivos legítimos de interés público, la seguridad nacional, la seguridad vial y cualquier otra necesidad pública, en términos de las disposiciones legales aplicables.
Que la Declaración Universal de Derechos Humanos en su artículo tercero señala el derecho de todo individuo a la vida, la libertad y a la seguridad de su persona.
Dicho artículo debe conceptualizarse en dos sentidos:
a) Como una obligación para el Estado de respetar la vida dentro del ejercicio de sus funciones;
b) Como una limitación al actuar de los particulares, para que ninguna persona prive de la vida a otra.
Que los frenos de aire de los ferrocarriles de carga son uno de los principales elementos de seguridad y su correcto funcionamiento comprobado a través de las pruebas que para ello los fabricantes de ferrocarriles han determinado, tomando en cuenta las mejores prácticas tecnológicas, garantiza el cumplimiento de los objetivos legítimos de interés público referentes a la seguridad vial y seguridad nacional y, por ende, la procuración del cuidado de la vida de las personas.
Que los trenes de carga deben cumplir con disposiciones de seguridad que garanticen una correcta operación durante las maniobras de traslado de mercancías por la vía nacional, teniendo en cuenta la vida útil y el mantenimiento de los frenos de aire que conforman el tren, para dar cumplimiento así a la obligación del Estado Mexicano y de los sujetos obligados de cuidar la vida de las personas a través de la implementación de regulaciones en materia de seguridad ferroviaria.
Que el Comité Consultivo Nacional de Normalización de Transporte Ferroviario (CCNN-FT), en su Primera Sesión Ordinaria del 2023 celebrada el día 22 de marzo de 2023, aprobó el Proyecto de Norma Oficial Mexicana PROY-NOM-005-ARTF-2023, Sistema Ferroviario Operación Pruebas de frenos de aire para trenes de carga Disposiciones de seguridad, a efecto de que en un plazo de 60 días naturales contados a partir de su fecha de publicación, los interesados presenten sus comentarios ante el CCNN-TF, ubicado en Avenida Universidad 1738 Edificio B Planta baja, Colonia Barrio Santa Catarina, Alcaldía Coyoacán, C.P. 04010, CDMX, teléfono 55-5723-9300, Ext. 73463, o bien a los correos electrónicos: artf.ccnntf@sct.gob.mx, miguel.ramirezs@sct.gob.mx y martha.zapata@sct.gob.mx, para que en los términos de la Ley de la materia se consideren en el seno del Comité que lo propuso, toda vez que la Plataforma Tecnológica Integral de Infraestructura de la Calidad a que se refiere el artículo 35 de la Ley de Infraestructura de la Calidad se encuentra en desarrollo.
En virtud de lo anterior, en cumplimiento a lo dispuesto en el artículo 35 fracción V y 38 de la Ley de Infraestructura de la Calidad, he tenido a bien ordenar la publicación en el Diario Oficial de la Federación del Proyecto de Norma Oficial Mexicana PROY-NOM-005-ARTF-2023, Sistema Ferroviario-Operación-Pruebas de frenos de aire para trenes de carga-Disposiciones de seguridad, para que, en un plazo de 60 días naturales contados a partir de su fecha de publicación, los interesados presenten sus comentarios ante el Comité Consultivo Nacional de Normalización de Transporte Ferroviario.
Ciudad de México, a 17 de abril de 2023.- El Titular de la Agencia Reguladora del Transporte Ferroviario y Presidente del Comité Consultivo Nacional de Normalización de Transporte Ferroviario, Evaristo Iván Ángeles Zermeño.- Rúbrica.
PROYECTO DE NORMA OFICIAL MEXICANA PROY-NOM-005-ARTF-2023, SISTEMA FERROVIARIO-
OPERACIÓN-PRUEBAS DE FRENOS DE AIRE PARA TRENES DE CARGA-DISPOSICIONES DE
SEGURIDAD
PREFACIO
La elaboración la presente Norma Oficial Mexicana es competencia del Comité Consultivo Nacional de Normalización de Transporte Ferroviario (CCNN-TF) integrado por:
· Administradora de la Vía Corta Tijuana-Tecate
· Agencia de Seguridad, Energía y Ambiente
· Agencia Reguladora del Transporte Ferroviario
· Asociación Mexicana de Agentes de Carga, A.C.
· Asociación Mexicana de Distribuidores de Gas Licuado y Empresas Conexas, A.C.
· Asociación Mexicana de Ferrocarriles, A.C.
· Asociación Nacional de la Industria Química, A.C.
· Cámara Mexicana de la Industria de la Construcción
· Cámara Nacional de la Industria del Hierro y el Acero
· Cámara Nacional de la Industria Molinera de Trigo
· Cámara Nacional de las Industrias Azucarera y Alcoholera
· Cámara Nacional del Maíz Industrializado
· Centro Nacional para la Prevención de Desastres
· Colegio de Ingenieros Civiles de México, A.C.
· Colegio de Ingenieros Mecánicos y Electricistas, A.C.
· Colegio Nacional de Educación Profesional Técnica
· Comisión Ambiental de la Megalópolis (CAMe)
· Comisión Nacional de Hidrocarburos
· Comisión Reguladora de Energía
· Confederación de Cámaras Industriales de los Estados Unidos Mexicanos
· Consejo Nacional Agropecuario
· Consejo Nacional de Normalización y Certificación de Competencias Laborales
· Dirección General de Autotransporte Federal
· Dirección General de Desarrollo Ferroviario y Multimodal
· Dirección General de Servicios Técnicos
· Ferrocarril del Istmo de Tehuantepec, S.A. de C.V. (Corredor Interoceánico del Istmo de Tehuantepec)
· Ferrocarril Mexicano, S.A. de C.V.
· Ferrocarril Suburbano, S.A.P.I de C.V.
· Ferrosur, S.A. de C.V.
· FONATUR Tren Maya S.A. de C.V.
· Instituto Mexicano de Normalización y Certificación A.C
· Instituto Mexicano del Transporte
· Instituto Politécnico Nacional
· Kansas City Southern de México, S.A. de C.V.
· Línea Coahuila Durango, S.A. de C.V.
· Mexicana de Acreditación, MAAC, A.C.
· Organismo Nacional de Normalización y Certificación de la Construcción y Edificación, S.C.
· Procuraduría Federal del Consumidor
· Secretaría de Agricultura y Desarrollo Rural
· Secretaría de Economía
· Secretaría de Gobernación
· Secretaría de Medio Ambiente y Recursos Naturales
· Secretaría de Salud
· Secretaría de Turismo
· Secretaría del Trabajo y Previsión Social
· Servicio de Administración Tributaria
· Sociedad Internacional de Acreditación A.C.
· Universidad Autónoma de Nuevo León
· Universidad Autónoma del Estado de México
· Universidad Nacional Autónoma de México
· Universidad Tecnológica de San Juan del Río
Con el objetivo de elaborar el presente Proyecto de Norma Oficial Mexicana, se constituyó un Grupo de Trabajo con la participación voluntaria de los siguientes actores:
· Administradora de la Vía Corta Tijuana-Tecate.
· Agencia Reguladora del Transporte Ferroviario.
· Asociación Mexicana de Ferrocarriles, A.C.
· CIBA GROUP.
· Entidad Mexicana de Acreditación, A.C.
· Ferrocarril Mexicano, S.A. de C.V.
· Ferrosur, S.A. de C.V.
· Ferrocarril del Istmo de Tehuantepec, S.A de C.V. (Corredor Interoceánico del Istmo de Tehuantepec)
· Instituto Politécnico Nacional.
· Kansas City Southern de México, S.A. de C.V.
· Mexicana de Acreditación, MAAC, A.C.
· New York Air Brake LLC.
· Normalización y Certificación NYCE, S.C.
· Organismo Nacional de Normalización y Certificación de la Construcción y Edificación, S.C.
· Sociedad Internacional de Acreditación, A.C.
· Universidad Autónoma del Estado de México.
· Universidad Tecnológica de San Juan del Río.
· Siemens Mobility, S. de R.L. de C.V.
· Wabtec de México, S. de R.L. de C.V.
ÍNDICE DE CONTENIDO
PREFACIO
ÍNDICE DE CONTENIDO
INTRODUCCIÓN
1. Objetivo, campo de aplicación y objetivos legítimos de interés público
2. Especificaciones, características y disposiciones técnicas
3. Procedimiento de Evaluación de la Conformidad
4. Verificación y vigilancia
5. Sanción
6. Referencias a estándares para su implementación
7. Concordancia con normas internacionales
8. Bibliografía
9. Apéndice
10. Clasificación
TRANSITORIOS
INTRODUCCIÓN
Los elementos que conforman el sistema de frenos de aire son primordiales en la seguridad activa de los ferrocarriles. Su inadecuado funcionamiento incide directamente en la generación de problemas que implican costos por mantenimiento correctivo, costos por tiempos muertos, afectación de la logística, entre otros, siendo lo más grave, el desencadenamiento de consecuencias fatales en los seres humanos.
Con base en la legislación y reglamentación vigente en materia de transporte ferroviario y en cumplimiento a las disposiciones contenidas en la Ley de Infraestructura de la Calidad, en la presente Norma Oficial Mexicana, se establecen las disposiciones y parámetros para garantizar que se lleven a cabo las pruebas de frenos de aire, en sus diferentes clases, incluyendo lo referente a los dispositivos denominados Aparato de Fin de Tren y Aparato de Principio de Tren, para asegurar el buen funcionamiento y operación de los trenes de carga durante su recorrido.
1. Objetivo, campo de aplicación y objetivos legítimos de interés público
1.1. Objetivo
Esta Norma Oficial Mexicana tiene por objetivo establecer las disposiciones y parámetros para garantizar que se lleven a cabo las pruebas de freno de aire, en sus diferentes clases, incluyendo lo referente a los dispositivos denominados Aparato de Principio de Tren y Aparato de Fin de Tren, para asegurar el buen funcionamiento y la operación segura en su recorrido.
1.2. Campo de aplicación
Esta Norma Oficial Mexicana es de observancia general para todos los concesionarios, permisionarios y asignatarios que operan y explotan una vía general de comunicación ferroviaria.
1.3. Objetivos legítimos de interés público
Esta Norma Oficial Mexicana atiende a los siguientes objetivos legítimos de interés público:
· La seguridad nacional.
· La seguridad vial.
· Las obras y servicios públicos.
2. Especificaciones, características y disposiciones técnicas
2.1. Definiciones
Las definiciones de los términos que se utilizan para la interpretación de los aspectos técnicos de la presente Norma Oficial Mexicana son las establecidas en la Ley Reglamentaria del Servicio Ferroviario y el Reglamento del Servicio Ferroviario, en el conocimiento de que, a falta de definición en los ordenamientos citados, se utilizarán las definiciones que a continuación se indican:
2.1.1. Aplicación de emergencia
Descarga rápida y total de la presión del tubo del freno, con el objeto de que los frenos se apliquen rápidamente a su máxima presión.
2.1.2. Aplicación de servicio
Aplicación de los frenos en forma gradual y moderada, originada por una o más reducciones de servicio.
2.1.3. Aparato de Fin de Tren (AFT)
Transmisor / receptor telemétrico portátil que requiere acoplarse a la línea de aire del tubo del freno en la última unidad de arrastre de un tren. El AFT monitorea ciertas condiciones del estado del tren y transmite esta información a la pantalla de mensajes del APT. También proporciona frenado de emergencia al final del tren a través de una válvula controlada por medio de radio en la unidad AFT, éste tiene un botón de prueba que puede ser utilizado para verificar su operación, leer la presión del tubo del freno, la carga de batería y para el proceso de ensamblado.
2.1.4. Aparato de Principio de Tren (APT)
Transmisor / receptor telemétrico fijo instalado en la cabina de la locomotora, que recibe o trasmite datos relacionados con las funciones del tren.
2.1.5. Aparato de pruebas de patio
Dispositivo para probar los frenos de aire en una serie de unidades de arrastre antes de acoplarse a la locomotora.
2.1.6. Aparejo de frenos
Conjunto de palancas, varillas, retrancas, etc., por medio de las cuales el vástago del émbolo del cilindro del freno queda conectado a las zapatas, de tal manera que cuando la presión del aire desplaza dicho émbolo hacia fuera, las zapatas son forzadas contra la pisada de las ruedas, multiplicando la fuerza desarrollada en el cilindro. En otros sistemas de freno montados en el truck, el aparejo de frenos está constituido sólo por el vástago del émbolo del cilindro del freno y las retrancas.
2.1.7. Bloque sólido de carros
Acoplamiento de dos o más carros que pueden ser agregados o removidos de un tren como una sola unidad. Los carros que procedan de un solo tren anterior serán considerados un bloque sólido de carros si éstos son divididos en segmentos con el propósito de ajustarse a las vías disponibles, siempre y cuando sean acoplados nuevamente en el mismo orden como cuando fueron apartados del tren anterior.
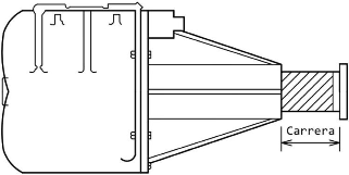
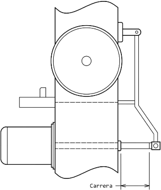
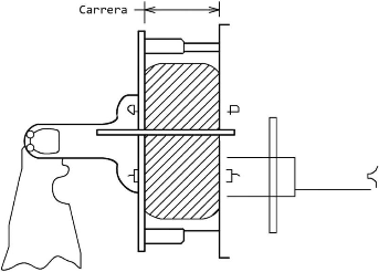
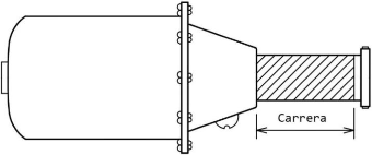
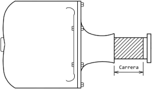
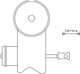
2.1.8. Carrera del pistón
Longitud recorrida por el vástago del cilindro del freno de aire.
2.1.9. Compresor para pruebas de patio
Aparato para reducir el volumen del aire por medio de la presión, generando aire comprimido.
2.1.10. Frenos de aire
Arreglo de dispositivos que operan mediante aire comprimido, por medio del cual, el movimiento de un carro o locomotora de ferrocarril es retardado o detenido.
2.1.11. Inspección
Actividad que realiza el Personal de Servicio Ferroviario calificado, para conservar y mantener en buen estado físico las Vías Férreas, las señales, las instalaciones y sistemas de telecomunicaciones utilizados en la concesión, Asignación o permiso, así como del Equipo Ferroviario, en términos del Reglamento del Servicio Ferroviario.
2.1.12. Locomotora
Vehículo ferroviario autopropulsado utilizado para el movimiento del equipo ferroviario.
2.1.13. Mancuerna
Es el conjunto en el que se encuentran acoplados las dos ruedas y el eje, denominando también conjunto eje-ruedas-baleros.
2.1.14. Mangueras neumáticas obsoletas
Se refiere a las mangueras que no cumple con el estándar de fabricación.
2.1.15. Mantenimiento
Actividad que realiza el personal de servicio ferroviario calificado para conservar en buen estado físico y funcional las vías férreas, señales, instalaciones y los sistemas de telecomunicaciones utilizados, así como del equipo ferroviario.
2.1.16. Manómetro
Instrumento que indica la presión de aire comprimido, expresado en libras por pulgada cuadrada (lb/in2 = psi) o en kilogramos por centímetro cuadrado (kg/cm2).
2.1.17. Personal de servicio ferroviario
Trabajador de un concesionario, asignatario o permisionario que participa en la construcción, mantenimiento, inspección y conservación de la infraestructura ferroviaria y del equipo ferroviario.
2.1.18. Radiofrecuencia
Sistema de comunicación radial con frecuencias que se encuentran entre el espectro electromagnético de los 10 kHz y los 10 THz.
2.1.19. Registro de control de formación de tren
Es el registro de control de cualquier grupo de vehículos ferroviarios que componen un tren o unidades múltiples de tren.
2.1.20. Sistema para pruebas de patio
Una red de tuberías instaladas en un patio para suministrar aire a presión desde un compresor, con el fin de cargar y hacer pruebas de fugas en los carros antes de acoplar las locomotoras.
2.1.21. Terminal inicial
Lugar donde un tren es formado originalmente.
2.1.22. Tren
Medio de transporte que circula sobre rieles, compuesto por uno o más vagones arrastrados por una locomotora.
2.1.23. Tren de recorrido corto (Train transfer)
Es un tren que viaja entre un punto de origen y un punto de destino final que no exceda los 32 km (20 millas). Dichos trenes pueden recoger o entregar equipos de carga mientras se dirigen al destino.
2.1.24. Truck
Estructura de acero montado sobre dos o más mancuernas que se utiliza para soportar el cuerpo del carro.
2.1.25. Tubo del freno
Sistema de tubería (incluyendo ramales del tubo del freno, llaves angulares, llaves de incomunicar,
colectores de polvo y mangueras) usado para conectar locomotoras y carros del ferrocarril, permitiendo el paso de aire comprimido.
2.1.26. Verificación
Actividad que realizan las autoridades competentes para constatar a través de visitas, requerimientos de información o documentación física o electrónica, que los bienes, productos, procesos y servicios cumplen o concuerdan con las Normas Oficiales Mexicanas o Estándares, en este último caso, cuando su aplicación sea obligatoria en términos de la Ley de Infraestructura de la Calidad.
2.1.27. Vigilancia
Acto por el cual las autoridades competentes revisan que las actividades de las Entidades de Acreditación y los Organismos de Evaluación de la Conformidad se realicen conforme a lo establecido en la Ley de Infraestructura de la Calidad.
2.2. Símbolos y abreviaturas
2.2.1. AAR
Asociación Americana de Ferrocarriles (Association of American Railroads).
2.2.2. AIR
Análisis de Impacto Regulatorio.
2.2.3. ARTF (Agencia)
Agencia Reguladora del Transporte Ferroviario.
2.2.4. NOM
Norma Oficial Mexicana.
2.2.5. OEC
Organismo de Evaluación de la Conformidad.
2.2.6. PEC
Procedimiento para la Evaluación de la Conformidad.
2.2.7. Sujeto Obligado
Concesionarios, permisionarios y asignatarios que prestan servicio ferroviario dentro de las vías generales de comunicación ferroviaria del Sistema Ferroviario Mexicano.
2.3. Clasificación de las pruebas de freno
2.3.1. Para los efectos de la presente Norma Oficial Mexicana, las pruebas de freno se clasifican tal como se menciona en la Tabla 1.
| Pruebas de freno | Descripción |
| Clase I | Revisión de terminal inicial |
| Clase IA | Revisión a los 1 600 km (1 000 millas) |
| Clase II | Revisión intermedia |
| Clase III | Revisión de continuidad de la línea de tren |
| De recorrido largo | Para trenes de recorrido (itinerario) largo |
| De recorrido corto | Para trenes transfer (de recorrido corto) |
| Con dispositivos | Utilizando dispositivos para pruebas en patio |
Tabla 1 Clasificación de las pruebas de freno.
2.4. Registro de pruebas de freno
2.4.1. Para cada una de las pruebas de frenos de aire mostrados en la Tabla 1, se debe realizar un registro escrito de las pruebas realizadas, el cual debe contar, por cada tren, con una carátula de identificación que contenga, al menos, los datos que se mencionan en la Tabla 2 y estar firmado por el personal responsable del tren.
2.4.2. Dichas pruebas serán realizadas por una persona designada por el Sujeto Obligado como calificado del servicio ferroviario.
2.4.3. Los Sujetos Obligados llevarán un control y registro del Personal de Servicio Ferroviario calificado designado como inspector y de las evidencias documentales consideradas para cada designación, las cuales deberán conservarse, actualizarse y mantenerlas a disposición de la Agencia para efectos de verificación.
2.4.4. Los Sujetos Obligados deberán conservar los reportes por lo menos cinco años a partir de la fecha en que se realice la Inspección y mantenerlos a disposición de la Agencia para efectos de verificación.
| Datos para el registro de las pruebas | Formato |
| Fecha | DD/MM/AAAA |
| Hora | HH:MM |
| Cantidad de carros de carga revisados | Número entero: |
| Identificación de la persona o personas calificadas realizando la prueba | Nombre, cargo: |
| Lugar en donde la prueba fue realizada | Lugar exacto: |
| Identificación del tren | Datos. |
Tabla 2 Datos para el registro de las pruebas.
2.5. Pruebas de frenos Clase I. Revisión de terminal inicial
2.5.1. Las condiciones en las cuales deben ser realizadas las pruebas de freno Clase I a un tren o a cada carro en el tren como se describe en el inciso 2.5.2 son las siguientes:
2.5.1.1. Cuando un tren sea formado de origen en una terminal inicial.
2.5.1.2. Cuando un tren o parte de un tren haya permanecido sin suministro de aire en el tubo del freno por más de 24 horas.
2.5.1.3. Cuando un tren haya viajado 4,800 km (3000 millas) o más, desde su última prueba Clase I.
2.5.1.4. Cuando el tren modifique su formación en camino exceptuando las siguientes condiciones:
2.5.1.4.1. Se añada un carro o un bloque de carros, exceptuando el caso descrito en el inciso 2.5.1.6.2.
2.5.1.4.2. Se remueva un carro o un bloque sólido de carros.
2.5.1.4.3. Se remuevan carros encontrados defectuosos.
2.5.1.4.4. Cualquier combinación de cambios descrita del inciso 2.5.1.4.1 al inciso 2.5.1.4.3.
2.5.1.5. Cuando un tren haya sido recibido en intercambio y la formación del tren cambie exceptuando las siguientes situaciones:
2.5.1.5.1. Se remueva un carro o un bloque sólido de carros.
2.5.1.5.2. Se agregue un carro o un bloque sólido de carros que hayan sido probados previamente.
2.5.1.5.3. Se haga cambio de locomotoras.
2.5.1.5.4. Se cambie o se remueva un cabús, si se usa.
2.5.1.5.5. Cualquier combinación de cambios descrita del inciso 2.5.1.5.1 al 2.5.1.5.4.
2.5.1.6. Cada carro o cada bloque sólido de carros agregados a un tren deben recibir una prueba de frenos Clase I como se describe en el inciso 2.5.2 en la ubicación donde sean agregados al tren exceptuando las siguientes situaciones:
2.5.1.6.1. El bloque sólido de carros se comprende de carros provenientes de un solo tren cuyos carros hayan recibido una prueba de frenos Clase I y hayan permanecido continua y consecutivamente acoplados juntos y la línea de tren haya permanecido conectada, excepto cuando se haya removido equipo defectuoso, desde que fueron removidos el tren anterior y no hayan permanecido sin aire por más de 24 horas.
2.5.1.6.2. El bloque sólido de carros se compone de carros provenientes de un solo tren, del cual, los carros hayan requerido ser separados en varios bloques sólidos de carros debido a falta de espacio o restricciones de vías en alguna ubicación determinada cuando fueron removidos del tren anterior, siempre y cuando los carros hayan recibido una prueba de frenos Clase I, no hayan permanecido sin aire por más de 24 horas, y los carros en cada uno de los múltiples bloques de carros hayan permanecido continuamente y consecutivamente acoplados juntos y la línea de tren haya permanecido conectada, excepto cuando se haya removido equipo defectuoso. Además, estos bloques múltiples de carros deben ser agregados a un tren en el mismo orden relativo (sin reclasificación) que cuando fueron removidos del tren anterior, excepto cuando se haya removido equipo defectuoso.
2.5.2. Procedimientos para los trabajos y requerimientos para realizar las pruebas de frenos Clase I
2.5.2.1. Prueba de fugas del tubo de frenos (revisión de fugas)
2.5.2.1.1. Se debe cargar el sistema de frenos de aire con la presión a la cual será operado el tren; la presión del extremo posterior del tren deberá estar dentro del intervalo de 15 psi con respecto a la presión a la cual el tren será operado, pero a no menos de 75 psi, indicada por un manómetro o por la lectura del aparato fin de tren colocado en el extremo posterior del tren.
2.5.2.1.2. Al recibir la indicación de aplicar los frenos para llevar a cabo la prueba, el maquinista debe hacer una reducción de servicio de 137.89 kPa (20 psi) a la presión del tubo del freno.
2.5.2.1.3. Si la locomotora utilizada para llevar a cabo la prueba está equipada con los medios para mantener en un nivel constante de la presión del tubo del freno durante una reducción de servicio de 137.89 kPa (20 psi), este dispositivo debe ser desconectado durante la prueba de fuga.
2.5.2.1.4. Con la válvula del freno en posición de recubrimiento y el dispositivo para mantener la presión constante desconectado (si así está equipada la locomotora); después de esperar de 45 a 60 segundos, se deben observar las fugas del tubo del freno en el manómetro del tubo del freno en la locomotora, cuya pérdida de presión no debe exceder de 34.47 kPa (5 psi) por minuto.
2.5.2.1.5. Se debe verificar, a lo largo del tren, de manera auditiva, si se detectan unidades con fugas, en cuyo caso deben ser reparadas.
2.5.2.1.6. El equipo de arrastre con freno inoperante debe ser retirado del tren y movido a instalaciones de reparación.
2.5.2.2. Prueba con el método de flujo de aire
2.5.2.2.1. Cuando una locomotora está equipada con una válvula de frenos 26-L o una válvula de frenos equivalente que mantenga la presión, un ferrocarril puede usar la Prueba del Método de Flujo de Aire como una alternativa a la prueba de fugas del tubo del freno. La Prueba del Método de Flujo de Aire deberá llevarse a cabo de la siguiente manera:
2.5.2.2.1.1. Se debe cargar el sistema de frenos de aire con la presión a la cual será operado el tren; la presión del extremo posterior del tren debe estar dentro del intervalo de 103.42 kPa (15 psi) con respecto a la presión a la cual el tren será operado, pero a no menos de 517.10 kPa (75 psi) indicada por un manómetro o por la lectura del aparato fin de tren colocado en el extremo posterior del tren.
2.5.2.2.1.2. Se debe medir el flujo del aire indicado por un medidor de flujo, el cual no deberá exceder de 1.69 metros cúbicos por minuto (60 pies cúbicos por minuto).
2.5.2.3. Revisión "a paso de tren"
2.5.2.3.1. El personal ferroviario se colocará a ambos lados del tren, con el fin de examinar y observar el funcionamiento de todas las partes móviles del sistema de freno en cada carro, para poder hacer las determinaciones y revisiones requeridas por esta sección.
2.5.2.3.2. Para propósito de este requisito, una inspección "a paso de tren" en el afloje del freno, según lo dispuesto en el apartado 2.5.2.9, no constituirá una inspección por cada lado del tren.
2.5.2.4. Revisión del sistema de freno del tren
2.5.2.4.1. Para realizar esta revisión, se debe cargar el sistema de frenos de aire con la presión a la cual será operado el tren; la presión del extremo posterior del tren debe estar dentro del intervalo de 103.42 kPa (15 psi) con respecto a la presión a la cual el tren será operado, pero a no menos de 517.10 kPa (75 psi), indicada por un manómetro o por la lectura del aparato fin de tren colocado en el extremo posterior del tren.
2.5.2.4.2. Las llaves angulares y llaves de incomunicar estarán colocadas en la posición apropiada (abierto o cerrado).
2.5.2.4.3. Las mangueras del tubo del freno estarán debidamente acopladas y en ningún caso deben estar torcidas, trabadas u obstruidas, ni en cualquier otra condición que pudiera restringir el flujo de aire.
2.5.2.4.4. Una revisión de fugas debe ser realizada, y de ser necesario se harán las reparaciones adecuadas para reducir las fugas al mínimo requerido.
2.5.2.4.5. Las válvulas de retención y sus tuberías deben ser revisadas para confirmar que estén en la posición apropiada (escape directo, alta presión, escape directo lento) para el servicio.
2.5.2.5. Revisión de respuesta de frenos
2.5.2.5.1. Los frenos en cada carro deben ser aplicados en respuesta a una reducción de servicio de 137.90 kPa (20 psi) al tubo del freno y deben permanecer aplicados hasta que un afloje de los frenos de aire haya sido iniciado desde la locomotora guía o con un aparato de pruebas de patio.
2.5.2.5.2. Los frenos no deben ser aplicados o aflojados, a menos que la señal apropiada haya sido dada.
2.5.2.5.3. Cualquier carro cuyo freno no aplica o no permanece aplicado puede ser probado nuevamente, si al aplicar la nueva prueba este freno indica una presión que esté dentro del intervalo de 103.42 kPa (15 psi) con respecto a la presión a la cual el tren será operado, entonces el carro puede continuar en formación. En caso contrario, debe valorarse si es posible que el carro puede ser reparado en ese lugar con apoyo de las unidades de mantenimiento móviles; en caso de que no sea esto posible, el carro debe ser arrastrado hasta el taller más cercano para que pueda ser reparado. El cilindro debe permanecer totalmente hermético.
2.5.2.5.4. De considerarlo, se puede realizar una nueva prueba desde la locomotora guía, o con un dispositivo de patio, el cual será colocado en un extremo del carro o carros que nuevamente están siendo probados, los frenos deberán permanecer aplicados, hasta que un afloje sea iniciado después de un periodo no menor de tres minutos.
2.5.2.5.5. Al realizar nuevamente la prueba, se debe asegurar que el aire comprimido en el carro o carros haya sido vaciado antes de desconectar las mangueras entre el carro o carros a probar nuevamente.
2.5.2.6. Revisión de carrera en los pistones
2.5.2.6.1. En carros equipados con cilindros del freno montados en el cuerpo de éste con un diámetro de 21.60 cm (8 ½ in) o 25.40 cm (10 in), la carrera del pistón debe estar dentro de 15.24 cm (6 in) a 22.86 cm (9 in).
2.5.2.6.2. Para carros equipados con cilindros del freno montados en el truck, la carrera del pistón debe estar dentro de lo estencilado o marcado para la carrera del pistón, en el carro, calcomanía o placa.
2.5.2.6.3. La carrera mínima del pistón del cilindro del freno montado en el truck debe ser suficiente para permitir una holgura apropiada, es decir, que no haya interferencias, para la zapata del freno cuando los frenos sean aflojados.
2.5.2.6.4. La carrera del pistón será revisada en cada carro de carga mientras los frenos están aplicados.
2.5.2.6.5. Todas las carreras de pistón se inspeccionarán de acuerdo con lo estipulado en el Apéndice 9.1., de acuerdo con su tipo.
2.5.2.6.6. Si se detectan carreras de pistones de cilindros de freno que no están de acuerdo con el Apéndice 9.1, el carro deberá ser retirado del tren para su reparación en taller.
2.5.2.7. Revisión de aparejos de frenos
2.5.2.7.1. Se debe comprobar que el aparejo del freno esté propiamente asegurado y en ningún caso debe estar trabado, obstruido o de cualquier otra forma que pueda afectar la correcta operación del sistema de freno.
2.5.2.8. Revisión de elementos de sujeción del sistema de frenos
2.5.2.8.1. Todas las partes del equipo del freno estarán propiamente aseguradas.
2.5.2.9. Revisión de aplicación y afloje de frenos
2.5.2.9.1. Cuando el afloje sea iniciado mediante la locomotora guía o aparato de pruebas de patio, los frenos en cada carro deben ser revisados para verificar que aflojaron; esto puede ser realizado mediante una revisión "a paso de tren".
2.5.2.9.2. Si una revisión del afloje de los frenos es realizada "a paso de tren", la velocidad del tren no
debe exceder de 15 km/h (10 m/h); el personal ferroviario que realice la revisión "a paso de tren", comunicará los resultados de la revisión al maquinista del tren.
2.5.2.9.3. El maquinista del tren debe anotar los resultados en el registro y anotar, sí es el caso, que el afloje de los frenos durante la revisión se ha completado de manera satisfactoria.
2.5.3. Información derivada de las pruebas de freno Clase I
2.5.3.1. El personal ferroviario que lleve a cabo la supervisión de las pruebas de freno Clase I, debe notificar al maquinista que éstas fueron realizadas satisfactoriamente y proporcionar la información derivada de las pruebas mediante un documento; adicionalmente, se debe registrar y mantener la información en la cabina de la locomotora guía después de la prueba.
2.5.3.2. El registro debe permanecer en la cabina de la locomotora guía hasta que el tren llegue a su destino; donde se debe archivar.
2.6. Pruebas de frenos Clase IA. Revisión a los 1,600 km (1,000 millas)
2.6.1.1. Se debe realizar cuando el recorrido de un tren haya alcanzado los 1,600 km (1,000 millas) o cuando un carro o bloque sólido de carros hayan recibido su última prueba del freno Clase I o Clase IA en un lugar que no esté a más de 1,600 km (1,000 millas).
2.6.1.2. Para esta prueba, las fugas del tubo del freno no deben exceder de 34.47 kPa por minuto (5 psi por minuto) (para la prueba de fugas), y el flujo de aire no debe exceder de 1.69 metros cúbicos por minuto (60 pies cúbicos por minuto) (para la prueba de flujo de aire).
2.6.1.3. Prueba de fugas del tubo de frenos (revisión de fugas)
2.6.1.3.1. De acuerdo con lo establecido en el inciso 2.5.2.1.
2.6.1.4. Prueba con el método de flujo de aire
2.6.1.4.1. De acuerdo con lo establecido en el inciso 2.5.2.2.
2.6.1.5. Revisión "a paso de tren"
2.6.1.5.1. De acuerdo con lo establecido en el inciso 2.5.2.3.
2.6.1.6. Revisión del sistema de freno del tren
2.6.1.6.1. De acuerdo con lo establecido en el inciso 2.5.2.4.
2.6.1.7. Revisión de respuesta de frenos
2.6.1.7.1. De acuerdo con lo establecido en el inciso 2.5.2.5.
2.6.1.8. Revisión de aparejos de frenos
2.6.1.8.1. De acuerdo con lo establecido en el inciso 2.5.2.7.
2.6.1.9. Revisión de elementos de sujeción del sistema de frenos
2.6.1.9.1. De acuerdo con lo establecido en el inciso 2.5.2.8.
2.7. Pruebas de frenos Clase II. Revisión intermedia
2.7.1. En una ubicación diferente a la terminal inicial, una prueba de frenos Clase II debe aplicarse al siguiente equipo cuando sea agregado a un tren:
2.7.1.1. Cada carro o bloque sólido de carros que no haya recibido previamente una prueba de frenado de Clase I o que haya estado sin suministro de aire durante más de 24 horas.
2.7.1.2. Cada bloque sólido de carros esté compuesto de carros de más de un tren previo.
2.7.1.3. Cada bloque sólido compuesto de carros de un solo tren previo que no hayan permanecido continua y consecutivamente acoplados, continuando la línea del tren conectada, desde que fueron retirados del otro tren; excepto para remover equipo defectuoso.
2.7.1.4. Cada bloque sólido de carros compuesto de carros de un solo tren anterior, los cuales, fueron separados en múltiples bloques de carros debido a restricción de espacio en una ubicación donde fueron retirados del tren anterior, si estos carros no son agregados en el mismo orden relativo que cuando fueron removidos del otro tren anterior, o bien, si los carros de cada uno de los múltiples bloques formados no permanecieron acoplados continua y consecutivamente con la línea de tren conectada, excepto para remover equipo defectuoso.
2.7.2. Trabajos y requerimientos para realizar las pruebas de frenos Clase II
2.7.2.1. Las fugas del tubo del freno no deben exceder de 5 psi por minuto o el flujo de aire no debe exceder de 60 pies cúbicos por minuto.
2.7.2.2. Prueba de fugas del tubo de frenos (revisión de fugas)
2.7.2.2.1. De acuerdo con lo establecido en el inciso 2.5.2.1.
2.7.2.3. Prueba con el método de flujo de aire
2.7.2.3.1. De acuerdo con lo establecido en el inciso 2.5.2.2.
2.7.2.4. Revisión del sistema de freno del tren
2.7.2.4.1. De acuerdo con lo establecido en el inciso 2.5.2.4.
2.7.2.5. Revisión de respuesta de frenos
2.7.2.5.1. De acuerdo con lo establecido en el inciso 2.5.2.5.
2.7.2.6. Revisión de aplicación y afloje de frenos
2.7.2.6.1. De acuerdo con lo establecido en el inciso 2.5.2.9 o, si se cuenta con un aparato de fin de tren, de la siguiente manera:
2.7.2.6.1.1. El maquinista debe determinar cuándo la presión en el tubo del freno está siendo reducida, y cuándo la presión en el tubo del freno está siendo restablecida, mediante la medición con un manómetro o aparato fin de tren en el último carro.
2.7.2.6.1.2. Cuando un aparato de fin de tren esté siendo usado para medir esta prueba, la frase "la presión en el tubo del freno del tren está siendo reducida" significa una reducción de la presión de por lo menos 34.47 kPa (5 psi), y la frase "la presión en el tubo del freno del tren está siendo restablecida" significa un incremento en la presión de por lo menos 34.47 kPa (5 psi).
2.7.2.6.1.3. Si un enlace de comunicación electrónica entre una locomotora guía y una locomotora controlada de manera remota acoplada en la parte posterior de un tren es utilizado para determinar la presión en el tubo del freno, el maquinista debe verificar primero que los frenos de aire en la locomotora controlada de manera remota funcionan satisfactoriamente.
2.7.2.7. Revisión de presión en el tubo de frenos
2.7.2.7.1. Antes de que el tren proceda con cualquier movimiento, el maquinista del tren debe verificar que la presión del tubo del freno en la parte posterior del tren está siendo restablecida, la cual, no debe ser menor a 517.10 kPa (75 psi).
2.8. Pruebas de frenos Clase III. Revisión de continuidad de la línea de tren
2.8.1. Una prueba de frenos Clase III se practicada en un tren para probar su sistema de frenos cuando la configuración de dicho tren haya cambiado de algunas formas. Particularmente la prueba de frenos Clase III debe ser realizada en la ubicación donde ocurra cualquiera de los siguientes cambios a la configuración del tren:
2.8.1.1. Cuando haya un cambio de locomotora o cabús.
2.8.1.2. Cuando se remueva un carro o un bloque sólido del tren y dicho carro o bloque sólido ya no sea reintegrado al mismo tren, mientras que el remanente del tren no sea cambiado (es decir, su formación permanezca intacta).
2.8.1.3. Cuando, en un lugar que no sea la terminal inicial para el tren, un bloque sólido de carros de un solo tren previo sea agregado a éste y los carros que lo componen cumplan con lo siguiente: (i) un bloque sólido de carros haya sido separado en varios bloques sólidos de carros debido a restricciones de espacios de vía al ser removidos del tren previo, (ii) hayan recibido previamente una prueba Clase I, (iii) no hayan estado sin suministro de aire por más de 24 horas, (iv) hayan permanecido continua y consecutivamente acoplados permaneciendo con la línea del tren conectada (excepto para cortar equipo defectuoso) y sean agregados en el mismo orden relativo, como cuando fueron retirados del otro tren (excepto para cortar equipo defectuoso).
2.8.1.4. Cuando, en un lugar que no sea la terminal inicial para el tren, un carro o un bloque sólido haya recibido una prueba del freno Clase I o Clase II en ese lugar, antes de haber sido agregado al tren, y que no hayan estado sin suministro de aire por más de 24 horas al ser agregados a un tren.
2.8.2. Trabajos y requerimientos para realizar las pruebas de frenos Clase III
2.8.2.1. Revisión del sistema de freno del tren
2.8.2.1.1. De acuerdo con lo establecido en el inciso 2.5.2.4. Para realizar esta revisión, el sistema requiere estar cargado a la presión a la cual será operado, se deberá medir con un manómetro o aparato fin de tren en la parte posterior del tren que la presión no sea menor a 60 psi.
2.8.2.2. Revisión de aplicación y afloje de frenos
2.8.2.2.1. De acuerdo con lo establecido en el inciso 2.5.2.9 o de acuerdo con el inciso 2.7.2.6. Se revisará que los frenos del último carro del tren respondan de manera correcta a una reducción de servicio de 20 psi al tubo del freno y permanecer aplicados hasta que el afloje de los frenos de aire haya sido iniciado mediante la locomotora guía. Así mismo, cuando el afloje sea iniciado, los frenos en el último carro del tren deben ser revisados para verificar que han aflojado.
2.8.2.3. Revisión de presión en el tubo de frenos
2.8.2.3.1. De acuerdo con el inciso 2.7.2.7.
2.9. Pruebas de frenos para trenes de recorrido (itinerario) largo
2.9.1. Si el Sujeto Obligado designa un tren como un tren de recorrido largo, éste tiene permitido recorrer hasta 2,400 km (1,500 millas) entre pruebas del freno y revisiones.
2.9.2. Para que un tren sea denominado como tren de recorrido largo, no se debe agregar ni cortar unidades más de una vez durante el recorrido, a menos que se detecten unidades defectuosas que deban ser cortadas del tren, a lo largo del recorrido.
2.9.3. Para que un tren tenga la clasificación de recorrido largo, el Sujeto Obligado debe reportar en el registro de control de formación de tren los datos que se muestran en la Tabla 3:
| Identificación para trenes de recorrido largo | Dato |
| La identificación del tren y su descripción | Tren / Descripción |
| El lugar de origen y destino del tren | Origen / Destino |
| El tipo o tipos de equipo que el tren remolcará | Equipo tractivo |
| Los lugares donde serán realizadas todas las revisiones mecánicas, así como las pruebas de frenos del tren | Descripción del lugar de las pruebas |
Tabla 3 Datos para trenes de recorrido largo.
2.9.4. Trabajos para realizar en prueba de frenos en trenes de recorrido largo
2.9.4.1. Pruebas del freno Clase I. De acuerdo con lo establecido en el inciso 2.5.
2.9.4.2. Revisión de llegada: En el lugar de destino, si está a una distancia menor de 2,400 km (1,500 millas) de la terminal inicial del tren, o en el lugar designado para el ferrocarril, que no exceda una distancia de 2,400 km (1,500 millas), se debe realizar una revisión a la llegada del tren por el personal ferroviario para identificar cualquier freno defectuoso, inoperante o inefectivo, o cualquier otra condición que no cumpla con esta Norma.
2.9.4.3. En caso de adición o corte de unidades
2.9.4.3.1. Los carros agregados al tren durante el recorrido deben ser revisados de acuerdo con los requerimientos contenidos en el inciso 2.5, en el lugar donde esos carros sean agregados al tren.
2.9.4.3.2. Los carros retirados del tren durante el recorrido deben ser revisados de acuerdo con los requerimientos contenidos en el inciso 2.9.4.4., en el lugar donde esos carros sean retirados del tren.
2.9.4.4. Pruebas en trenes con un recorrido de más de 2,400 km (1,500 millas): Para que un tren de recorrido largo pueda circular más de 2,400 km (1,500 millas), se debe realizar una prueba Clase I conforme al 2.5.
2.10. Pruebas de frenos para trenes de recorrido corto (trenes "transfer")
2.10.1. Para que un tren sea considerado como tren transfer, su recorrido debe ser menor o igual a 32 km (20 millas). En caso de que el recorrido sea mayor de esa distancia, el tren debe recibir una prueba de freno Clase I de acuerdo con lo establecido en el inciso 2.5.
2.10.2. Trabajos y requerimiento para verificar los frenos de trenes de recorrido corto
2.10.2.1. Verificación visual de las mangueras de tren
2.10.2.1.1. Las mangueras del freno de aire deben estar acopladas en todos los carros de carga.
2.10.2.2. Revisión de mangueras de extremo
2.10.2.3. Revisión del sistema de freno del tren
2.10.2.3.1. Para realizar esta revisión, el sistema debe estar cargado a por lo menos 60 psi, posteriormente se deberá aplicar una reducción 15 psi, se deberá de constatar esta reducción en la presión del tubo de freno por un manómetro o un aparato de fin de tren.
2.10.2.4. Revisión de aplicación y afloje de frenos
2.10.2.4.1. Se debe revisar que los frenos sean aplicados, y permanezcan aplicados en cada carro, hasta que el afloje sea iniciado mediante la locomotora guía.
2.10.2.4.2. Cada carro en el que se detecte que el freno no aplica o que no permanece aplicado, puede ser probado nuevamente y continuar en el tren. La nueva prueba debe ser realizada de conformidad con el inciso 2.5.2.5; en caso de no cumplir con los requerimientos del inciso antes mencionado, el personal ferroviario debe determinar que el equipo es defectuoso y ser removido del servicio
2.10.2.5. Revisión de carros adicionados a un tren transfer
2.10.2.5.1. Los carros agregados a trenes transfer durante el recorrido deben ser revisados de acuerdo con todos los requerimientos contenidos del inciso 2.10.2 al 2.10.2.4.2., en el lugar donde los carros sean acoplados al tren.
2.11. Pruebas de frenos utilizando dispositivos para pruebas en patio.
2.11.1. Los frenos del equipo tractivo y unidades de arrastre que se encuentren en un patio ferroviario pueden ser probados por medio de un sistema de pruebas en patio o por un compresor de patio, o cualquier otro dispositivo que cumpla con el objetivo de verificar el buen funcionamiento y operación de los frenos de aire del equipo ferroviario.
2.11.2. Cuando el sistema de freno de aire de un tren sea probado con un dispositivo para pruebas en patio, la válvula del freno del maquinista o el dispositivo de prueba apropiado debe ser usado para regular el incremento o reducción de la presión de aire del tubo del freno, a la misma o más baja velocidad de desfogue que la de la válvula del freno del maquinista.
2.11.3. El dispositivo para pruebas en patio debe ser conectado al extremo final del tren o bloque sólido que esté más cercano a la locomotora guía.
2.11.4. Si el Sujeto Obligado demuestra por medio de un documento certificado, que cumple con los procedimientos necesarios para asegurar que puede evitar la sobrecarga del sistema de freno, el dispositivo para pruebas en patio puede ser conectada a cualquier otro punto que no sea el extremo más cercano a la locomotora guía.
2.11.5. Cuando un dispositivo para pruebas en patio sea utilizado, el sistema de frenos de aire del tren debe ser cargado y probado como está prescrito en el inciso 2.5.2 y, cuando sea posible, el sistema de frenos debe permanecer cargado hasta que la locomotora sea acoplada al tren, posteriormente se debe realizar una prueba del freno Clase III según lo dispuesto en el inciso 2.8. Lo anterior se exceptúa en los tres casos siguientes:
2.11.5.1. Si los carros estuvieron sin suministro de aire por más de 24 horas, éstos deben ser probados nuevamente, según lo dispuesto en el inciso 2.5 (prueba de frenos Clase I).
2.11.5.2. Como mínimo, la presión de aire del dispositivo para pruebas en patio deberá ser de 413.68 kPa (60 psi) en el extremo del tren o bloque sólido al extremo opuesto a donde esté conectado el dispositivo para pruebas en patio, y debe estar a no más de 103.42 kPa (15 psi) de diferencia del valor ajustado en la válvula reguladora del dispositivo de pruebas de patio.
2.11.5.3. Si la presión de aire del dispositivo para pruebas en patio es menor a 551.58 kPa (80 psi), entonces una prueba de fugas del tubo del freno o prueba del flujo de aire debe ser realizada a la presión de operación del tren cuando la locomotora sea acoplada, de acuerdo con el inciso 2.5.2.1 o con el inciso 2.5.2.2.
2.12. Calibración de instrumentos de medición
2.12.1. Mecánicos. Los dispositivos para pruebas en patio y manómetros mecánicos deberán ser calibrados cada 92 días.
2.12.2. Electrónicos. Los dispositivos de pruebas en patio y manómetros electrónicos deberán ser calibrados anualmente. Estos instrumentos deberán de contar con una precisión dentro de un intervalo de ±
20.68 kPa (± 3 psi).
2.12.3. Los dispositivos e instrumentos tanto mecánicos como electrónicos deben ser calibrados de manera que tengan una precisión en un rango de ± 20.68 kPa (± 3 psi).
2.12.4. La calibración deberá ser realizada por los usuarios (personal ferroviario que utiliza los instrumentos de medición) exclusivamente mediante métodos avalados por la AAR, o bien, por establecimientos aprobados o certificados por la AAR. La utilización de los métodos de calibración deberá ser demostrable como parte de los procesos de verificación o Evaluación de la Conformidad.
2.13. Sistemas de Aparatos de Principio y Fin de Tren
2.13.1. Sistema Aparatos de Principio y Fin de Tren de una sola vía
2.13.1.1. Un sistema AFT de una sola vía debe estar conformado por un aparato telemétrico ubicado en la cabina de la locomotora guía del tren (Aparato de Principio de Tren) y un aparato telemétrico ubicado en el último carro del tren (Aparato Fin de Tren).
2.13.1.2. Aparato Fin de Tren en sistema de una sola vía
2.13.1.2.1. La unidad posterior debe determinar la presión en el tubo de freno del último carro y transmitir esa información al Aparato Principio de Tren para mostrarla al maquinista. La unidad AFT debe cumplir con las características mostradas en la Tabla 4.
| Aspecto | Características del Aparato de Fin de Tren |
| Presión | Ser capaz de medir la presión en el tubo del freno del último carro, con una precisión de ±20.67 kPa (±3 psi) y variaciones de la presión en el tubo del freno de ±6.89 kPa (±1 psi). |
| Equipamiento de descarga | Estar equipada con una "válvula de descarga" que permita purgar cualquier aire comprimido en la unidad AFT del tren o en las mangueras de aire asociadas, antes de desconectar la unidad AFT del tubo del freno. |
| Diseño contra fallas | Estar diseñada de manera que una falla interna no cause una aplicación de emergencia no deseada de los frenos de aire. |
| Equipamiento de medición | Estar equipada ya sea con un manómetro de aire o con un medio que despliegue visualmente la medición de la presión en el tubo del freno en el AFT. |
| Equipamiento de seguridad | Estar equipada con una válvula de seguridad para alivio de la presión. |
Tabla 4.Características que debe cumplir la unidad de Aparato de Fin de Tren.
2.13.1.2.2. La transmisión de los múltiples datos desde el AFT debe ocurrir inmediatamente después de una variación de la presión en el tubo del freno en el último carro de ±13.78 kPa (±2 psi) y en intervalos no mayores de 70 segundos cuando la variación de la presión en el tubo del freno en el último carro, durante el intervalo de 70 segundos, sea menor a ±13.78 kPa (±2 psi).
2.13.1.2.3. La unidad posterior debe estar diseñada para desempeñarse funcionalmente bajo las condiciones ambientales mostradas en la Tabla 5:
| Condición ambiental | Parámetros permisibles |
| Temperatura | -40°C hasta 60°C |
| A humedad relativa | 95% no condensable a 50°C. |
| A altitudes | Desde cero hasta 3657.6 m (12,000 ft) sobre el nivel del mar. |
| Intensidades y frecuencias | Durante vibraciones verticales y laterales de 1 a 15 Hz, con 0.5 g de pico a pico, y de 15 a 500 Hz, con 5 g de pico a pico. |
| Durante vibraciones longitudinales de 1 a 15 Hz, con 3 g de pico a pico, y de 15 a 500 Hz, con 5 g de pico a pico. |
| Durante un impacto de 10 g. de pico por 0.01 segundos en cualquier eje. |
Tabla 5. Condiciones ambientales bajo las cuales debe funcionar la unidad de Aparato de Fin de Tren.
2.13.1.2.4. Cada AFT debe tener un código de identificación único y permanente que es transmitido junto con el mensaje de la presión al APT. Dicho código deberá ser obtenido de la AAR o de la Oficina de Garantía de Seguridad y Cumplimiento (RRS-10), Administración Federal de Ferrocarriles (Office of Safety Assurance and Compliance (RRS-10), Federal Railroad Administration).
2.13.1.2.5. El radio transmisor en el AFT y el radio receptor en la APT deben cumplir con los requerimientos de la Norma Oficial Mexicana NOM-121-SCT1-2009, "Telecomunicaciones radiocomunicación - sistemas de radiocomunicación que emplean la técnica de espectro disperso-equipos de radiocomunicación por salto de frecuencia y por modulación digital a operar en las bandas 902-928 Mhz, 2400-2483.5 Mhz y 5725-5850 Mhz - especificaciones, límites y métodos de prueba", o la Norma Oficial Mexicana que la haya sustituido, y demás regulaciones aplicables, así como el uso de un formato de transmisión aceptado por las mismas regulaciones. Si la energía es suministrada mediante una o más baterías, la vida de operación debe ser mínimo de 36 horas a 0 °C. Si la energía es suministrada por un generador, una turbina de aire o tecnología alternativa, se requiere una batería de respaldo o un dispositivo de almacenamiento de energía similar con un mínimo de 12 horas de energía continua a 0 °C en caso de que el generador deje de funcionar como se esperaba.
2.13.1.3. Aparato Principio de Tren en un sistema de una sola vía
2.13.1.3.1. El APT debe estar diseñado para recibir los mensajes de datos desde el AFT y debe ser capaz de desplegar la presión en el tubo del freno del último carro en incrementos que no excedan de 6.90 kPa (1 psi).
2.13.1.3.2. La pantalla debe ser claramente visible y legible durante la luz de día o en la oscuridad, desde la posición normal de operación del maquinista.
2.13.1.3.3. El APT del tren debe tener medios para ingresar el código único de identificación del AFT que está siendo usado.
2.13.1.3.4. El APT debe estar diseñado de manera que despliegue un mensaje únicamente del AFT con el mismo código ingresado en el APT.
2.13.1.3.5. El APT debe estar diseñado para cumplir con los requerimientos funcionales bajo las condiciones ambientales mostradas en la Tabla 6.
| Condición ambiental | Parámetros permisibles |
| Temperatura | 0°C hasta 60°C |
| A humedad relativa | 95% no condensable a 50°C. |
| A altitudes | Desde cero hasta 3657.6 m (12,000 pies) sobre el nivel del mar. |
| Intensidades y frecuencias | Durante vibraciones verticales y laterales de 1 a 15 Hz, con 0.5 g de pico a pico, y de 15 a 500 Hz, con 5 g de pico a pico. |
| Durante vibraciones longitudinales de 1 a 15 Hz, con 3 g de pico a pico, y de 15 a 500 Hz, con 5 g de pico a pico. |
| Durante un impacto de 10 g de pico por 0.01 segundos en cualquier eje. |
Tabla 6. Condiciones ambientales bajo las cuales debe funcionar la unidad de Aparato de Principio de Tren.
2.13.2. Sistema Aparato de Fin de Tren de dos vías.
2.13.2.1. Los AFT de dos vías deben estar diseñados y desempeñarse con las características aplicables a los AFT de una vía descritos en el inciso 2.13.1.2. Además, un AFT de dos vías debe estar diseñado y desempeñarse con las características siguientes:
2.13.2.1.1. Un comando para aplicación del freno en emergencia desde el aparato de la unidad delantera debe activar la válvula de aire de emergencia en la unidad posterior del tren, dentro de un segundo.
2.13.2.1.2. La unidad posterior debe enviar un mensaje de reconocimiento a la unidad delantera inmediatamente después de recibir un comando para la aplicación del freno en emergencia. La unidad delantera estará pendiente del reconocimiento y repetirá el comando para aplicación del freno si el reconocimiento no es recibido correctamente.
2.13.2.1.3. La unidad posterior, al recibir un comando debidamente codificado, debe abrir una válvula en la línea del freno y mantenerla abierta por un mínimo de 15 segundos. Esta abertura de la válvula debe provocar que la línea del freno se descargue al exterior.
2.13.2.1.4. Las aberturas de la válvula deben tener un diámetro mínimo de 1.90 cm (¾ de pulgada) y el diámetro interno de la manguera debe ser de 1.58 cm (5/8 de pulgada) para efectuar la aplicación del freno de emergencia.
2.13.2.1.5. La unidad delantera debe tener un interruptor operado manualmente, el cual, cuando esté activado, debe iniciar una transmisión del comando del freno en emergencia a la unidad posterior (esta transmisión también puede hacerla la locomotora, la cual debe estar equipada con un interruptor operado manualmente en el pedestal de control del maquinista, diseñado para realizar la función equivalente). El interruptor debe estar etiquetado con la palabra "emergencia" y debe estar protegido de manera que no exista la posibilidad de activación accidental.
2.13.2.1.6. Todas las locomotoras solicitadas a partir del 1 de agosto del 2001 o puestas en servicio después del 1 de agosto de 2003 deben estar diseñadas para automáticamente activar el aparato al final de tren de dos vías para efectuar una aplicación del freno en emergencia, cuando le sea necesario al maquinista poner en emergencia los frenos de aire del tren.
2.13.2.1.7. La disponibilidad del enlace de comunicación de la parte delantera hacia la parte posterior debe verificarse automáticamente al menos cada 10 minutos.
2.13.3. Trenes exceptuados de los requerimientos para el uso de la AFT
2.13.3.1. Trenes con una locomotora o un grupo de locomotoras ubicado en la parte posterior del tren, que cuenten con la capacidad de efectuar una aplicación del freno en emergencia, a través de un comando activado a distancia, telemetría o mediante un miembro de la tripulación en contacto por radio con la locomotora guía.
2.13.3.2. Trenes que operan en modo empuje o con una maquina ayudadora, la cual pueda efectuar una aplicación del freno en emergencia desde la parte posterior del tren.
2.13.3.3. Trenes con un cabús operativo colocado en la parte posterior del tren, ocupado por uno o más miembros de la tripulación en contacto por radio con la locomotora guía, el cual está equipado con una válvula del freno de emergencia.
2.13.3.4. Trenes operando con un sistema de frenado totalmente independiente, secundario y capaz de detener con seguridad el tren en caso de falla del sistema primario.
2.13.3.5. Trenes que tienen que ser divididos en dos secciones, para poder superar una pendiente (por ejemplo, realizando doblete). Esta excepción únicamente aplica con respecto a lo requerido para superar la pendiente y sólo mientras el tren está dividido en dos partes para tal propósito.
2.13.3.6. Trenes que no operen sobre "pendientes pesadas" y que no excedan de 48.28 km por hora (30 millas por hora). "Pendiente pesada" significa lo siguiente: i) para un tren que opera con 4000 toneladas de arrastre (excluyendo Equipo Tractivo que esté generando potencia de propulsión durante el recorrido) o menos, una sección de vía con una pendiente promedio de 2% o mayor sobre una distancia de 3.21 kilómetros continuos (2 millas continuas); y ii) para un tren que opera con más de 4000 toneladas de arrastre, una sección de vía con una pendiente promedio de 1% o mayor sobre una distancia de 4.82 kilómetros continuos (tres millas continuas).
2.13.3.7. "Trenes locales" que no operen sobre pendientes pesadas. "Trenes locales" significa un tren asignado a realizar loteo durante el recorrido, el cual opera con 4,000 toneladas o menos de arrastre (excluyendo Equipo Tractivo que esté generando potencia de propulsión durante el recorrido) y su recorrido es entre un lugar de origen y un lugar de destino final, por una distancia no mayor a la que puede ser operada normalmente por una sola tripulación y durante una sola jornada.
2.13.3.8. "Trenes de trabajo" que no operen sobre pendientes pesadas. "Tren de trabajo" significa un tren que no genera ingresos, con 4,000 toneladas (excluyendo Equipo Tractivo que esté generando potencia de propulsión durante el recorrido) o menos, usado para la administración y mantenimiento del ferrocarril.
2.13.3.9. Trenes que operen exclusivamente en vías que no son parte del sistema de vías generales de comunicación ferroviaria.
2.13.4. Revisión y prueba de AFT
2.13.4.1. Después de cada instalación, ya sea de la unidad delantera o posterior de un AFT o ambas unidades en un tren, se deberá determinar lo siguiente:
2.13.4.1.1. Que el código de identificación ingresado en la unidad delantera sea idéntico al código único de identificación en la unidad posterior.
2.13.4.1.2. Se deberá de determinar la capacidad funcional del AFT, después de cargar el sistema de freno de aire del tren, comparando el valor cuantitativo mostrado en la unidad delantera con el valor cuantitativo mostrado en la unidad posterior o en un manómetro. El aparato al final de tren no debe ser utilizado si la diferencia entre las dos lecturas excede de tres libras por pulgada cuadrada.
2.13.4.1.3. Un aparato al final de tren de dos vías debe ser probado en la terminal inicial u otro lugar de instalación para asegurar que el aparato es capaz de iniciar una aplicación del freno de aire en emergencia desde la parte posterior del tren. Si esta prueba es realizada por una persona que no es miembro de la tripulación del tren, el personal responsable del tren debe ser informado mediante un documento que la prueba satisfactoria fue realizada. El registro escrito de la notificación debe ser mantenido en la cabina de la locomotora guía y debe incluir la fecha y hora de la prueba, el lugar donde la prueba fue realizada, identificación del tren, número de identificación del AFT y el nombre y firma de la persona que realiza la prueba.
2.14. Registro de incidencias en el equipo ferroviario
2.14.1.1. El Sujeto Obligado habrá de mantener el registro de todos los frenos defectuosos, inoperantes o inefectivos, así como de cualquier otra condición que no cumpla las condiciones adecuadas para que el equipo ferroviario opere de manera adecuada, se deben registrar las incidencias detectadas en cualquier momento durante el movimiento del tren.
2.14.1.2. Los Sujetos Obligados deberán conservar los reportes por lo menos cinco años a partir de la fecha en que se realice la inspección y mantenerlos a disposición de la Agencia para efectos de verificación.
2.15. Introducción de nuevas tecnologías a los sistemas de freno.
2.15.1. Para la aprobación de nuevos sistemas de frenos de aire o actualizaciones importantes en los sistemas existentes, será necesario presentar un Plan General de Pruebas de Seguridad ante la Agencia, el cual contenga los siguientes elementos:
2.15.1.1. Descripción general del sistema o actualización a implementar.
2.15.1.2. Identificación y descripción de cada elemento que componga el sistema, y se debe presentar la documentación que garantice la seguridad del elemento.
2.15.2. El avance tecnológico podría exigir nuevas especificaciones y nuevos métodos de evaluación. Para los carros con nuevos diseños en sus sistemas de frenos de aire se deberán ejecutar las disposiciones de la presente Norma Oficial Mexicana para los elementos que apliquen; y para aquellos elementos que no se contemplen, el Sujeto Obligado deberá ejecutar las operaciones de pruebas de frenos de acuerdo con lo establecido en los manuales del fabricante con el fin de salvaguardar la integridad en los equipos y proporcionar la debida seguridad en el servicio, por lo cual, tales ejecuciones se deberán considerar, ejecutar, justificar y registrar como se detalla en el inciso 2.15.1.
3. Procedimiento de Evaluación de la Conformidad
3.1. Directrices
3.1.1. La Evaluación de la Conformidad del cumplimiento de la presente Norma Oficial Mexicana se llevará a cabo en términos de lo establecido en ésta y en la Ley de Infraestructura de la Calidad.
3.1.2. En todo tren que sea ofrecido para servicio se deberá cumplir con las disposiciones indicadas en este documento.
3.1.3. Para efectos del presente PEC, se entenderá como "Conformidad" al cumplimiento de las disposiciones establecidas en la presente Norma Oficial Mexicana; mientras que "No Conformidad" al incumplimiento de las disposiciones establecidas en ésta. La "Conformidad" tendrá una vigencia de 2 años.
3.1.4. Para obtener una "Conformidad" para esta Norma Oficial Mexicana el Sujeto Obligado deberá cumplir cabalmente con lo establecido en 3.1.5, en caso contrario, obtendrá una "No Conformidad".
3.1.5. El proceso de evaluación se determinará mediante muestreo, evaluando aleatoriamente la cantidad de trenes que se considere razonable en función del registro de ofrecimiento y programa de salidas y llegadas.
3.1.5.1. Etapa de evaluación A
3.1.5.1.1. En la fecha de realización de la Evaluación de la Conformidad el Sujeto Obligado deberá demostrar a la Unidad de Inspección que cuenta con una carpeta de evidencias con la que compruebe el cumplimiento de las disposiciones de la presente NOM para las pruebas de frenos en 2 tantos y en electrónico mediante dispositivo USB. El contenido de la carpeta de evidencias se detalla en la Tabla 7.
| Sección | Contenido |
| 1 | Portada, firmada por el representante legal del Sujeto Obligado con los siguientes datos: - Denominación o Razón social del Sujeto Obligado. - Datos de identificación fiscal de las personas (física o moral) responsables de la ejecución de las disposiciones de esta NOM. - Documento que acredite que posee conocimientos teóricos y prácticos en la presente NOM con una vigencia no mayor de 2 años. - Fecha y lugar donde se está llevando a cabo la Evaluación de la Conformidad. |
| 2 | - Registro de ofrecimiento del tren y programa de salidas y llegadas. - Por cada tren inspeccionado previamente a su salida y aprobado para su movimiento por personal calificado se elaborará un documento, mismo que será entregado al personal responsable del tren y contendrá cuando menos: o Nombre y firma del inspector. o Identificación del tren. o Lugar, fecha y hora. o Descripción de los defectos encontrados y que no tiene riesgo para su manejo y evidencia de unidades de arrastre retirados de la formación del tren. o Marcas de identificación de los carros que forman el tren. o o Checklist (lista de verificación) con el que se demuestre que fueron ejecutadas las disposiciones especificadas para esta etapa de evaluación. |
| 3 | - Memoria fotográfica que acompañe a las evidencias documentales de la sección 2 de esta tabla. Cada fotografía debe cumplir las siguientes características: Tamaño 10x15 centímetros, resolución mínima de 720 ppp (pixeles por pulgada), a color, sin retoques, formato .jpg. Cada fotografía deberá contener rotulado el nombre de actividad, lugar, georreferenciación en cualquier sistema de referencia, hora y fecha. Ejemplo: (Inspección del tren T3; Terminal Pantaco Ferrovalle; 482251.45, 2153240.82, 14Q; 14:45; 04/05/2021). Para lo anterior se permite el empleo de cualquier software. - El nombre de cada fotografía debe ser guardada especificando: "Tipo de prueba_número de identificación del tren.jpg" |
Tabla 7. Contenido que debe cumplir la carpeta de evidencias para la etapa de evaluación A.
3.1.5.1.2. Adicionalmente a lo indicado en el inciso anterior (3.1.5.1.1) el Sujeto Obligado debe contar con copia de los registros de pruebas de frenos los cuales deben cumplir con lo establecido en el inciso 2.4 de la presente NOM. Estos registros podrán ser solicitados por la Unidad de Inspección en cualquier momento.
3.1.5.2. Etapa de evaluación B
3.1.5.2.1. Una vez se demuestre que el Sujeto Obligado cuenta con las carpetas y los registros indicados en la etapa de evaluación A, la Unidad de Inspección, ejecutará la evaluación in situ, de los trenes que sean ofrecidos para servicio según lo indicado en 3.1.5.
3.1.5.2.1.1. Ubicado en el sitio de la salida de tren, se procederá a evaluar las condiciones de seguridad de acuerdo con la presente NOM:
3.1.5.2.1.1.1. Antes de iniciar con la inspección, se debe tomar las medidas necesarias de seguridad, hacer de conocimiento del representante del concesionario, asignatario o permisionario, después de tener la certeza de estar en un área segura, en el entendido que de ser necesario se realizará el abanderamiento por medio de señalamiento de Bandera Azul.
3.1.5.2.1.2. Prueba de emergencia en el AFT:
1. AFT de batería. Cerrar la llave angular donde está colocado el AFT, solicitar emergencia.
2. AFT de turbina (ATX). Recorrerse tres carros hacia enfrente y cerrar la llave angular, solicitar emergencia.
3. AFT de batería y Turbina. Colocar el AFT en posición de batería, solicitar emergencia.
4. Para cada una de las pruebas anteriores, si ésta funciona adecuadamente, la prueba se da válida.
3.1.5.2.1.3. Prueba de fugas en todo el tren:
1. Con el sistema cargado a no menos de 75 libras /pulgada cuadrada, realizar una reducción de aire en la línea de tren.
2. Después de reducir el aire, esperar un minuto para la estabilización de éste en el tubo del freno.
3. Medir la presión en el tubo del freno. Con reloj en mano, realizar prueba y verificar que no exista una pérdida de presión mayor a 5 libras en un minuto.
4. Realizar un muestreo con la finalidad de checar la efectividad del frenado, para lo cual, se deberá tomar un mínimo de 10 por ciento de carros en cualquier ubicación en el tren.
5. Verificar la aplicación del cilindro del freno. No se permite el relevo de ningún cilindro. Se considerará efectiva la prueba, si el 100 por ciento del muestreo se mantiene aplicado hasta que se realice el relevo desde la locomotora.
3.1.5.3. Adicionalmente, a las lo establecido en 3.1.5.1 y 3.1.5.2, la Unidad de Inspección podrá revisar el funcionamiento de otros elementos del sistema de aire que considere importantes para la seguridad.
3.1.6. Los resultados de la evaluación ejecutada in situ deberán ser asentados en un acta circunstanciada de hechos, la cual debe estar acompañada por fotografías bajo las características especificadas en la sección 3 de la Tabla 7 y videograbación. Esta acta debe ser firmada por la Unidad de Inspección, los responsables del Sujeto Obligado de acompañar a ésta y dos testigos presentes en la ejecución de la evaluación.
3.1.7. Si se detecta que entre los responsables y sujetos obligados participantes de este PEC se ejercen malas prácticas de Evaluación de la Conformidad, y existe un conflicto de interés o una afectación a los objetivos legítimos de interés público que persigue esta Norma Oficial Mexicana, se procederá con las sanciones conforme a lo establecido en las leyes aplicables.
3.1.8. La Entidad de Acreditación y los Organismos de Evaluación de la Conformidad deben cumplir con las disposiciones en términos de la Ley de Infraestructura de la Calidad, para poder participar en la Evaluación de la Conformidad de esta Norma Oficial Mexicana.
3.1.8.1. Las Unidades de Inspección que realicen la Evaluación de la Conformidad referida en 3.1.5 deben ser del Tipo A, B o C de acuerdo con la NMX-EC-17020- IMNC "Requisitos para el funcionamiento de diferentes tipos de unidades (organismos) que realizan la inspección" o la vigente que la sustituya.
3.1.8.2. Los equipos e instrumentos calibrados deben contar con trazabilidad a los patrones en términos de la Ley de Infraestructura de la Calidad.
3.1.9. Bajo justificación técnica y en situaciones particulares, se podrán emplear disposiciones que no hayan sido consideradas al momento de emisión de la presente Norma Oficial Mexicana, siempre y cuando se protejan los objetivos legítimos y de interés público perseguidos, y previa consulta de la Agencia.
4. Verificación y vigilancia
4.1. Aplicación de la verificación y la vigilancia
4.1.1. La verificación y vigilancia del cumplimiento de lo dispuesto en la presente Norma Oficial Mexicana está a cargo de la Agencia, conforme a sus respectivas atribuciones.
4.1.2. La verificación de la presente Norma Oficial Mexicana se llevará a cabo por la Agencia en el momento en que ésta lo considere pertinente conforme a lo establecido en el Procedimiento de Evaluación de la Conformidad de esta Norma Oficial Mexicana.
4.1.3. La Agencia podrá suspender o cancelar la aprobación y sancionar a la Unidad de Inspección y a la Entidad de Acreditación que emitió las acreditaciones a dicha Unidad, cuando se detecten irregularidades bajo lo dispuesto en los artículos 58 y 59 de la Ley de Infraestructura de la Calidad y otras disposiciones aplicables.
5. Sanción
El incumplimiento a las disposiciones contenidas en la presente Norma Oficial Mexicana será sancionado por la Agencia conforme a lo establecido en la Ley de Infraestructura de la Calidad y demás ordenamientos que resulten aplicables, sin perjuicio de las que impongan otras autoridades en el ejercicio de sus atribuciones o de la responsabilidad civil o penal que resulte.
6. Referencias a estándares para su implementación
· Norma Mexicana NMX-EC-17011-IMNC-2018.
· Norma Mexicana NMX-EC-17020-IMNC-2014.
7. Concordancia con normas internacionales
Esta Norma Oficial Mexicana no es equivalente (NEQ) con alguna Norma Internacional, por no existir ésta última al momento de su elaboración.
8. Bibliografía
· Ley Reglamentaria del Servicio Ferroviario, publicada en el Diario Oficial de la Federación el 12 de mayo de 1995 y sus reformas subsecuentes.
· Reglamento del Servicio Ferroviario, publicado en el Diario Oficial de la Federación el 25 de enero de 2000 y sus reformas subsecuentes.
· Norma Oficial Mexicana NOM-025-SCT2-2016, Disposiciones de seguridad para el equipo de arrastre ferroviario al servicio de carga, publicada en el Diario Oficial de la Federación el 26 de mayo de 2017.
· Norma Oficial Mexicana NOM-121-SCT1-2009, Telecomunicaciones-Radiocomunicación-Sistemas de radiocomunicación que emplean la técnica de espectro disperso-Equipos de radiocomunicación por salto de frecuencia y por modulación digital a operar en las bandas 902-928 MHz, 2400-2483.5 MHz y 5725-5850 MHz-Especificaciones, límites y métodos de prueba, publicada en el Diario Oficial de la Federación el 21 de junio de 2010.
· Norma Oficial Mexicana NOM-008-SCFI-2002, Sistema General de Unidades de Medida, publicada en el Diario Oficial de la Federación el 27 de noviembre de 2002.
· Declaratoria de vigencia de la Norma Mexicana NMX-Z-013-SCFI-2015 publicada en el Diario Oficial de la Federación el 18 de noviembre de 2015.
· Code of Federal Regulations, Title 49Transportation, Subtitle B - Other Regulations Relating to Transportation, Part 232 Brake System Safety Standards for Freight and other non-passenger trains and equipment; end-of-train devices, publicado por U.S. Government Publishing Office, 2020.
· Capítulo V, Condiciones para que los trenes circulen y se detengan con garantía de seguridad, desde el punto de vista de los vehículos que los forman, Reglamento General de Circulación, publicado por RENFE Operadora (antes Red Nacional de los Ferrocarriles Españoles), edición 2017.
· Reglamento General de Circulación, Título V - Composición y Frenado, 5. Pruebas de frenado, publicado por RENFE Operadora, edición 2006
· ARTF. (2021). Anuario Estadístico 2020. Ciudad de México: Dirección de Estadística Ferroviaria.
· COFEMER. (2014). Guía para Evaluar el Impacto de la Regulación. Ciudad de México: COFEMER.
· Ferrocarril Mexicano. (2018). Reporte anual 2017. Ciudad de México: Ferromex.
· Ferrocarril Mexicano. (2018). Reporte Anual 2018. Ciudad de México: Ferromex.
· Ferrocarril Mexicano. (2019). Reporte Anual 2019. Ciudad de México: Ferromex.
· Ferrocarril Mexicano. (2020). Reporte Anual 2020. Ciudad de México: Ferromex.
9. Apéndice
9.1. Especificaciones de las carreras de los émbolos de cilindros de frenos de aire
9.1.1. Cilindros reglamentarios
9.1.1.1. La carrera de los pistones se considera fuera de rango nominal cuando esté fuera de los rangos señalados en la Fig. 1:
| Cilindro | Montaje inicial y/o ajuste requerido +/- 1/4 in | Carrera Nominal del Pistón. Inspección Inicial en Terminal, FRA Clase I | Límites de Carrera S- 486 | No-Efectiva la Carrera del Pistón cuando excede: |
| Reglamentario 10in x 12in | 71/2 in | 6 in a 9 in | 7 in a 9 in | 101/2 in |
| 81/2 in x 12in | 71/2 in | 6 in a 9 in | 7 in a 9 in | 101/2 in |
| 7in x 12in | 71/2 in | 6 in a 9 in | 7 in a 9 in | 101/2 in |
| 71/2 in x 11in | 71/2 in | 6 in a 9 in | 7 in a 9 in | 91/2 in |
| 71/2 in x 12in (cilindro 10in x 12in emboquillado) | 71/2 in | 6 in a 9 in | 7 in a 9 in | 91/2 in |
Fig. 1 Rangos admisibles en carreras de émbolos de frenos.
9.1.1.2. Cilindro de 10 x 12 in. Para esta medida, se especifica la medida de la carrera en la Fig. 2.
| Cilindro | Montaje inicial y/o ajuste requerido +/- 1/4 in | Carrera Nominal del Pistón. Inspección Inicial en Terminal, FRA Clase I | No-Efectiva la Carrera del Pistón cuando excede: |
| Reglamentario 10in x 12in | 51/2 in | 5 in a 7 in | 81/2 in |
Fig. 2 Rango de carrera en cilindro de 12 in por 10 in.
9.1.1.3. Cilindro de 7 5/8 x 12 x 9 in. Para esta medida, se especifica la medida de la carrera en la Fig. 3.
| Cilindro | Montaje inicial y/o ajuste requerido +/- 1/4 in | Carrera Nominal del Pistón. Inspección Inicial en Terminal, FRA Clase I | No-Efectiva la Carrera del Pistón cuando excede: |
| 75/8 in x 12in x 9in (UC) | 51/2 in | 5 in a 6 in | 71/2 in |
Fig. 3 Rango de carrera en Cilindro de 7 5/8 in por 12 in.
9.1.2. Variables de tipos de frenos montados en el truck
9.1.2.1. Frenos tipo Ellcon-National. En la Fig. 4 se especifica la carrera para este tipo de frenos.
| Tamaño del Cilindro | Montaje inicial y/o ajuste requerido +/- 1/4 in | Carrera Nominal del Pistón. Inspección Inicial en Terminal, FRA Clase I | No-Efectiva la Carrera del Pistón cuando excede: |
| Ellcon-National | 23/4 in | 21/4 in a 33/4 in | 4 in |
Fig. 4 Rango de carreras en Frenos tipo Ellcon-National.
9.1.2.2. Frenos tipo Thrall/Davis/Triax. En la Fig. 5 se especifica la carrera para este tipo de frenos.
| Cilindro | Montaje inicial y/o ajuste requerido +/- 1/4 in | Carrera Nominal del Pistón. Inspección Inicial en Terminal, FRA Clase I | No-Efectiva la Carrera del Pistón cuando excede: |
| Thrall/Davis/Triax | 31/4 in | 2 3/4 in a 4 1/4 in | 4 1/2 in |
Fig. 5 Rango de carrera en Frenos tipo Ellcon-National.
9.1.2.3. Frenos Wabcopac/NycopacWabcopac II/Nycopac IIA/Triax-II). En este tipo de freno, el cilindro de freno es parte del ensamble de la retranca. En la Fig. 6 se especifica la carrera para este tipo de frenos.
| Cilindro | Montaje inicial y/o ajuste requerido +/- 1/4in | Carrera Nominal del Pistón. Inspección Inicial en Terminal, FRA Clase I | No-Efectiva la Carrera del Pistón cuando excede: |
| Wabcopac/Nycopac | 11/4 in | 3/4 in a 3 in | 4 in |
| Triax-II | 13/4 in | 11/2 in a 3 in | 31/4 in |
| Wabcopac II | 21/4 in | 13/4 in a 3 in | 31/4 in |
| EXT | 21/4 in | 13/4 in a 3 in | 31/4 in |
Fig. 6 Rango de carrera en Frenos tipo Wabcopac/NycopacWabcopac II/Nycopac IIA/Triax-II).
9.1.2.3.1. Este sistema no tiene una carrera de pistón mínima o máxima medible. La carrera excesiva está indicada por una señal de sobre - carrera ubicada en la cubierta del cilindro del freno. Cuando el indicador está excedido indica que la carrera del cilindro está más de 2 1/4 in (inaceptable); por lo que necesita atención. Ver Fig. 7.
Fig. 7 Indicador de Sobre - Carrera en frenos tipo Wabcopac/NycopacWabcopac II/Nycopac IIA/Triax-II).
9.1.2.4. Carreras en Frenos tipo Wabco TMX. En este tipo de Frenos, el cilindro del freno es parte del ensamble de la retranca. En la Fig. 8 se especifica la carrera para este tipo de frenos.
| Cilindro | Montaje inicial y/o ajuste requerido +/- 1/4 in | Carrera Nominal del Pistón. Inspección Inicial en Terminal, FRA Clase I | No-Efectiva la Carrera del Pistón cuando excede: |
| Wabco TMX | 2 in | 11/2 in a 3 in | 31/4 in |
Fig. 8 Rango de carreras en Frenos tipo Wabco TMX.
9.1.2.5. Frenos tipo TTX Misner. En este tipo de Frenos, el activador neumático de hule está montado en la retranca. En la Fig. 9 se especifica la carrera para este tipo de frenos.
| Cilindro | Montaje inicial y/o ajuste requerido +/- 1/8 in | Carrera Nominal. Inspección Inicial en Terminal, FRA Clase I | No-Efectiva la Carrera del Pistón cuando excede: |
| TTX | 91/4 in + - 1/8 in (solo en carro vacío) | 71/2 in a 10 in | 101/4 in |
| TTX-II | 8 in + - 1/4 in | 7 in a 10 in | 91/4 in |
Fig. 9. Rango de carreras en Frenos tipo TTX Misner.
9.1.2.6. Frenos tipo Wabtec UBX. En este tipo de frenos, el cilindro o el activador neumático de hule está montado en la retranca. En la Fig. 10 se especifica la carrera para este tipo de frenos.
| Cilindro | Montaje inicial y/o ajuste requerido +/- 1/4 in | Carrera Nominal. Inspección Inicial en Terminal, FRA Clase I | No-Efectiva la Carrera del Pistón cuando excede: |
| (Carrera corta) | 33/4 in | 31/4 in a 51/4 in | 51/2 in |
| (Carrera larga) | 41/2 in | 31/4 in a 51/4 in | 51/2 in |
Fig. 10 Rango de carrera en Frenos tipo Wabtec UBX.
9.1.2.7. Frenos tipo TMB-60 de NYAB. En la Fig. 11 se especifica la carrera para este tipo de frenos.
| Cilindro | Montaje inicial y/o ajuste requerido +/- 1/4 in | Carrera Nominal del Pistón. Inspección Inicial en Terminal, FRA Clase I | No-Efectiva la Carrera del Pistón cuando excede: |
| NYAB TMB-60 | Mostrando sólo 2 in en color rojo | Mostrando sólo 2 in en color rojo | Mostrando 31/4 in en color amarillo |
Fig. 11 Rango de carrera en Frenos tipo NYAB-60.
9.1.2.8. Frenos tipo UNIFRATE. En la Fig. 12 se especifica la carrera para este tipo de frenos
| Cilindro | Montaje inicial y/o ajuste requerido +/- 1/4 in | Carrera Nominal del Pistón. Inspección Inicial en Terminal, FRA Clase I | No-Efectiva la Carrera del Pistón cuando excede: |
| Unifrate | 3 in | 3 in mínimo 41/2 in máximo | 5 in |
Fig. 12 Rango de carrera en Frenos tipo UNIFRATE.
9.1.2.9. Frenos tipo ABEX/ABSCO. En la Fig. 13 se especifica la carrera para este tipo de frenos.
| Cilindro | Montaje inicial y/o ajuste requerido +/- 1/4 in | Carrera Nominal del Pistón. Inspección Inicial en Terminal, FRA Clase I | No-Efectiva la Carrera del Pistón cuando excede: |
| ABEX/Absco | 53/4 in | 5 in mínimo 63/4 in máximo | 7 in |
Fig. 13 Rango de carrera en Frenos tipo ABEX/ABSCO.
10. Clasificación
NOM-005-ARTF-2023, Sistema Ferroviario-Operación-Pruebas de frenos de aire para trenes de carga-Disposiciones de seguridad.
TRANSITORIOS
PRIMERO. La presente Norma Oficial Mexicana, una vez que sea publicado en el Diario Oficial de la Federación como norma definitiva, entrará en vigor a los 180 días naturales contados a partir del día natural inmediato siguiente al día de su publicación.
SEGUNDO. Con fundamento en lo establecido en el artículo 78 de la Ley General de Mejora Regulatoria la información aplicable para dar cumplimiento al Procedimiento de Evaluación de la Conformidad, podrá ser presentada a través de los medios electrónicos que establezca la Agencia.
Ciudad de México, a 17 de abril de 2023.- El Titular de la Agencia Reguladora de Transporte Ferroviario y Presidente del Comité Consultivo Nacional de Normalización de Transporte Ferroviario, Evaristo Iván Ángeles Zermeño.- Rúbrica.