ACUERDO por el que se emiten los criterios y especificaciones técnicos para la accesibilidad de las personas con discapacidad a los inmuebles de la Administración Pública Federal.
Al margen un sello con el Escudo Nacional, que dice: Estados Unidos Mexicanos.- HACIENDA.- Secretaría de Hacienda y Crédito Público.- Instituto de Administración y Avalúos de Bienes Nacionales.
MAURICIO MÁRQUEZ CORONA, Presidente del Instituto de Administración y Avalúos de Bienes Nacionales, con fundamento en los artículos 31, fracción XXIX de la Ley Orgánica de la Administración Pública Federal; 2o, 3o, fracción VI, y 4o de la Ley del Diario Oficial de la Federación y Gacetas Gubernamentales; 4 de la Ley Federal de Procedimiento Administrativo; 29, fracciones I y XVIII, 101, fracción X de la Ley General de Bienes Nacionales; 1, 2, 3, 4, numeral 1, 5 y 9 de la Convención sobre los derechos de las personas con discapacidad; 16 de la Ley General para la Inclusión de las Personas con Discapacidad; 2o., Apartado D, fracción VI, y 98-C del Reglamento Interior de la Secretaría de Hacienda y Crédito Público, y 1, 3, fracciones I y XX, 6, fracción XVII del Reglamento del Instituto de Administración y Avalúos de Bienes Nacionales, y
CONSIDERANDO
Que el 12 de enero de 2017 se publicaron en la Diario Oficial de la Federación las reformas al Reglamento Interior de la Secretaría de Hacienda y Crédito Público, y al Reglamento del Instituto de Administración y Avalúos de Bienes Nacionales, mediante los cuales se da cumplimiento a lo dispuesto por el Transitorio Tercero del Decreto por el que se reforma y deroga diversas disposiciones de la Ley Orgánica de la Administración Pública Federal en Materia de Control Interno del Ejecutivo Federal, de forma que se incorpora dentro de las atribuciones no delegables del Titular de la Secretaría de Hacienda y Crédito Público la atribución de determinar y conducir la política inmobiliaria de la Administración Pública Federal, incluida la relativa al arrendamiento de inmuebles cuando la Administración Pública Federal tenga el carácter de arrendataria, se incluye al Instituto de Administración y Avalúos de Bienes Nacionales dentro de los órganos administrativos desconcentrados subordinados a esta Dependencia, y las adecuaciones conducentes al interior de este Instituto, respectivamente.
Que el Instituto de Administración y Avalúos de Bienes Nacionales es un Órgano Administrativo Desconcentrado de la Secretaría de Hacienda y Crédito Público, encargado de ejercer las atribuciones que la Ley General de Bienes Nacionales le confiere a dicha Secretaría, así como aquéllas que expresamente se encuentren establecidas en otros ordenamientos.
Que la Constitución Política de los Estados Unidos Mexicanos reconoce, en el artículo 1º. que todas las personas gozan de los derechos humanos previstos en ese ordenamiento y en los tratados internacionales de los que México forma parte.
Que el Decreto Promulgatorio de la Convención sobre los Derechos de las Personas con Discapacidad y Protocolo Facultativo, adoptados por la Asamblea General de las Naciones Unidas el trece de diciembre de dos mil seis, publicado en el Diario Oficial de la Federación el día 02 de mayo del 2008 entrando en vigor el día siguiente de su publicación, es un instrumento internacional de carácter vinculante para el Estado Mexicano.
Que la Convención sobre los Derechos de las Personas con Discapacidad, en lo sucesivo, la Convención, reconoce en sus artículos 3, inciso f y 9, el principio y el derecho a la accesibilidad; y dispone que para que las personas con discapacidad puedan vivir de forma independiente y participar plenamente en todos los aspectos de la vida, asimismo que los Estados Partes deberán adoptar las medidas pertinentes para asegurar su acceso a todos los entornos, incluyendo el físico, el del transporte, la información y las comunicaciones, incluidos los sistemas y las tecnologías de la información, las comunicaciones y a otros servicios e instalaciones abiertos al público o de uso público; medidas que incluyen la identificación, así como la eliminación de obstáculos y barreras de acceso.
Que la Convención instaura, entre las medidas que los Estados Partes deberán adoptar para asegurar el acceso de las personas con discapacidad a todos los entornos, aquellas para desarrollar, promulgar y supervisar la aplicación de normas mínimas y directrices sobre accesibilidad en las instalaciones y los servicios abiertos al público o de uso público; además de aquellas para ofrecer formas de asistencia humana o animal e intermediarios, incluidos guías, lectores e intérpretes cualificados de la lengua de señas, para facilitar el acceso a edificios y otras instalaciones de carácter público.
Que la Convención dispone como estrategias para alcanzar la accesibilidad el diseño universal y los ajustes razonables, entendidas, la primera de ellas, como el diseño de productos, entornos, programas y servicios que puedan utilizar todas las personas en la mayor medida posible, sin necesidad de adaptación ni diseño especializado; y la segunda, como las modificaciones y adaptaciones necesarias y adecuadas que no impongan una carga desproporcionada o indebida, cuando se requieran en un caso particular para garantizar a las personas con discapacidad el goce o ejercicio, en igualdad de condiciones con las demás, de todos los derechos humanos y libertades fundamentales.
Que la Convención reconoce que la denegación de ajustes razonables, es decir, la falta de accesibilidad es un acto discriminatorio que atenta contra el derecho a la igualdad de las personas con discapacidad.
Que el Comité sobre los Derechos de las Personas con Discapacidad emitió en 2014 la observación general No. 2 referida al artículo 9 de la Convención, misma que sirve como un referente o guía para los Estados en el cumplimiento de las obligaciones en materia de accesibilidad.
Que en la observación general No. 2 el Comité sobre los Derechos de las Personas con Discapacidad reconoce que la obligación de los Estados de proporcionar la accesibilidad es una parte esencial del nuevo deber de respetar, proteger y hacer realidad los derechos a la igualdad.
Que en la observación general No. 2 el Comité sobre los Derechos de las Personas con Discapacidad reconoce la obligación de los Estados a que todas las infraestructuras e instalaciones nuevas deben ser diseñadas de forma que sean plenamente accesibles para las personas con discapacidad de conformidad con los principios del diseño universal; y que en las estructuras o edificaciones ya existentes deben llevarse a cabo las adaptaciones para eliminar las barreras u obstáculos que dificultan su accesibilidad.
Que en la observación general No. 2 el Comité sobre los Derechos de las Personas con Discapacidad dispone que en el caso de los entornos ya existentes el posible costo de la eliminación de las barreras no puede aducirse como excusa para eludir la obligación de eliminar gradualmente los obstáculos de accesibilidad, y que obliga a la fijación de plazos, asignación de recursos, al cumplimiento de obligaciones por parte de las autoridades competentes, así como al establecimiento de mecanismos de supervisión efectivos.
Que en 2014, el Comité sobre los Derechos de las Personas con Discapacidad emitió a México las observaciones finales con motivo de su primer informe de cumplimiento de la Convención, y que en materia de accesibilidad le recomendó al Estado Mexicano, entre otras cosas, acelerar el proceso de reglamentación de las leyes en materia de accesibilidad en línea con el comentario general No. 2 (2014) artículo 9 Accesibilidad; instaurar mecanismos de monitoreo, mecanismos de queja y sanciones efectivas por incumplimiento de las leyes sobre accesibilidad; así como adoptar medidas para asegurar que los planes de accesibilidad incluyan los edificios existentes y no solamente las nuevas edificaciones.
Que el artículo 16 de la Ley General para la Inclusión de las Personas con Discapacidad reconoce el derecho a la accesibilidad universal de las personas con discapacidad, y que dispone que se deben emitir normas, lineamientos y reglamentos que garanticen la accesibilidad obligatoria en instalaciones públicas o privadas que permitan el libre desplazamiento en condiciones dignas y seguras.
El mismo artículo establece que las dependencias y entidades competentes de la Administración Pública Federal vigilarán el cumplimiento de las disposiciones que en materia de accesibilidad se establecen en la normatividad vigente; así como que los edificios públicos deberán sujetarse a la legislación, regulaciones y Normas Oficiales Mexicanas vigentes, para el aseguramiento de la accesibilidad a los mismos.
En este sentido, el artículo 17 de la Ley señala que para asegurar la accesibilidad en la infraestructura básica, equipamiento o entorno urbano y los espacios públicos, se contemplará que sea de carácter universal, obligatoria y adaptada para todas las personas; que incluya el uso de señalización, facilidades arquitectónicas, tecnologías, información, Sistema de Escritura Braille, Lengua de Señas Mexicana, ayudas técnicas, perro de asistencia o animal de servicio y otros apoyos; y que la adecuación de las instalaciones públicas sea progresiva.
Que derivado del marco jurídico en la materia todas las autoridades están obligadas a promover, respetar, garantizar y proteger el derecho a la accesibilidad de las personas con discapacidad, tomando como punto de partida los postulados de la Convención para el cumplimiento de la accesibilidad a través del diseño universal y los ajustes razonables.
Que uno de los objetivos primordiales del presente gobierno es impulsar la instrumentación de programas y acciones cuya finalidad sea garantizar la participación e inclusión plenas y efectivas de las personas con discapacidad en la sociedad, eliminado conductas discriminatorias en todos los entornos, principalmente, en los inmuebles que ocupan las dependencias y entidades de la Administración Pública Federal, así como en la prestación de servicios públicos, y
Que es de especial relevancia el fortalecimiento de la normatividad en materia de accesibilidad a los inmuebles que ocupan las dependencias y entidades de la Administración Pública Federal, a través de la expedición de lineamientos, con la finalidad de homologar criterios en la materia y garantizar el acceso y desplazamiento de las personas con discapacidad, ya sea que laboren en ellos, o acudan para la prestación de un bien, servicio o trámite, he tenido a bien expedir el siguiente:
ACUERDO POR EL QUE SE EMITEN LOS CRITERIOS Y ESPECIFICACIONES TÉCNICOS PARA LA
ACCESIBILIDAD DE LAS PERSONAS CON DISCAPACIDAD A LOS INMUEBLES DE LA
ADMINISTRACIÓN PÚBLICA FEDERAL
PRIMERO. Las disposiciones de este Acuerdo son de observancia obligatoria para las dependencias y entidades de la APF, y tienen por objeto regular las condiciones y requerimientos de accesibilidad, diseño universal y ajustes razonables que deben cumplir los inmuebles federales, para garantizar a las personas con discapacidad entrar, desplazarse, salir, orientarse y comunicarse de manera autónoma, cómoda y segura al interior, así como al exterior de los espacios públicos en Inmuebles federales en los que se desarrolla la actividad humana.
SEGUNDO. Para los efectos del presente Acuerdo se entenderá por:
I. Accesibilidad: Las medidas pertinentes para asegurar el acceso de las personas con discapacidad, en igualdad de condiciones con las demás, al entorno físico, el transporte, la información y las comunicaciones, incluidos los sistemas, las tecnologías de la información, y a otros servicios e instalaciones abiertos al público o de uso público, tanto en zonas urbanas como rurales;
II. Ajustes razonables: Las modificaciones y adaptaciones necesarias y adecuadas a los Inmuebles federales que no impongan una carga desproporcionada o indebida, cuando se requieran en un caso particular, para garantizar a las personas con discapacidad el goce o ejercicio, en igualdad de condiciones con las demás, de todos los derechos humanos y libertades fundamentales;
III. Anexo Único: Anexo Único del Acuerdo por el que se emiten los criterios y especificaciones técnicos para la accesibilidad de las personas con discapacidad a los inmuebles de la APF;
IV. APF: Administración Pública Federal; conforme a lo establecido en el artículo 1o de la Ley Orgánica de la Administración Pública Federal;
V. Apoyos Tecnológicos: Dispositivos que ayudan a la movilidad, comunicación y vida de las personas con discapacidad, mismos que les facilitan su independencia y autonomía;
VI. CONADIS: Consejo Nacional para el Desarrollo y la Inclusión de las Personas con Discapacidad;
VII. CONAPRED: Consejo Nacional para Prevenir la Discriminación;
VIII. Convención: Convención sobre los Derechos de las Personas con Discapacidad;
IX. Dependencias: Las consideradas como tales por el artículo 26 de la Ley Orgánica de la Administración Pública Federal, así como las unidades administrativas de la Presidencia de la República;
X. Discriminación por motivos de discapacidad: Cualquier distinción, exclusión o restricción por motivos de discapacidad que tenga el propósito o el efecto de obstaculizar, menoscabar o dejar sin efecto el reconocimiento, goce o ejercicio, en igualdad de condiciones, de todos los derechos humanos y libertades fundamentales en los ámbitos político, económico, social, cultural, civil o de otro tipo. Incluye todas las formas de discriminación, entre ellas, la denegación de ajustes razonables;
XI. Diseño universal: El diseño de productos, entornos, programas y servicios que puedan utilizar todas las personas, en la mayor medida posible, sin necesidad de adaptación ni diseño especializado. El diseño universal no excluirá las ayudas técnicas para grupos particulares de personas con discapacidad cuando se necesiten;
XII. Entidades: Las consideradas como tales por los artículos 45, 46 y 47 de la Ley Orgánica de la Administración Pública Federal;
XIII. Espacio de concurrencia pública: Lugar en el que se permite el acceso a cualquier persona;
XIV. INDAABIN: Instituto de Administración y Avalúos de Bienes Nacionales;
XV. Inmueble federal: De conformidad a lo establecido en el artículo 2 de la Ley General de Bienes Nacionales;
XVI. Inmueble federal compartido: Los inmuebles de propiedad federal ocupados por distintas oficinas gubernamentales;
XVII. Ley: Ley General para la Inclusión de las Personas con Discapacidad;
XVIII. LFMZAAH: Ley Federal sobre Monumentos y Zonas Arqueológicos, Artísticos e Históricos;
XIX. LGBN: Ley General de Bienes Nacionales;
XX LSM: Lengua de Señas Mexicana; Lengua de la comunidad de sordos, que consiste en una serie de signos gestuales articulados con las manos y acompañados de expresiones faciales, mirada intencional y movimiento corporal, dotados de función lingüística, forma parte del patrimonio lingüístico de dicha comunidad y es tan rica y compleja en gramática y vocabulario como cualquier lengua oral;
XXI. Norma Mexicana: Norma Mexicana NMX-R-050-SCFI-2006. Accesibilidad de las personas con discapacidad a espacios construidos de servicio al público. Especificaciones de seguridad;
XXII. Norma Oficial Mexicana: Norma Oficial Mexicana NOM-008-SEGOB-2015. Personas con discapacidad. Acciones de prevención y condiciones de seguridad en materia de protección civil en situación de emergencia o desastre;
XXIII. Persona con discapacidad: Toda persona que por razón congénita o adquirida presenta una o más deficiencias de carácter físico, mental, intelectual o sensorial, ya sea permanente o temporal y que al interactuar con las barreras que le impone el entorno social, pueda impedir su inclusión plena y efectiva, en igualdad de condiciones con los demás;
XXIV. Ruta accesible: Es aquella que permite una circulación legible, continua y sin obstáculos o la menor cantidad posible de éstos; con la combinación de elementos construidos, accesorios y señalización que garantiza a las personas entrar, desplazarse, salir, orientarse y comunicarse con el uso seguro, autónomo y cómodo del entorno físico, ya sea en edificaciones, espacio público o el transporte;
XXV. Secretaría: Secretaría de Hacienda y Crédito Público;
XXVI. Sistema de Escritura Braille: De conformidad a lo establecido en la Ley General para la Inclusión de las Personas con Discapacidad.
TERCERO. Corresponde a la Secretaría por conducto del INDAABIN y el CONADIS, en el ámbito de sus respectivas competencias, la supervisión y evaluación del presente Acuerdo.
CUARTO. Las dependencias y entidades de la APF aplicarán las disposiciones contenidas en el presente Acuerdo respecto de los Inmuebles federales, con independencia a que se permita la concurrencia pública y que tengan carácter administrativo, laboral, recreativo, educativo, cultural, de salud, sanitario, asistencial, penitenciario o cualquier otro de naturaleza análoga, y sin perjuicio del cumplimiento de las disposiciones contenidas en las leyes, la Norma Mexicana, la Norma Oficial Mexicana y las reglamentaciones técnicas vigentes, incluyendo las regulaciones que rijan en forma específica para algunos de los tipos de inmuebles enunciados.
QUINTO. Las dependencias y entidades de la APF, a través de sus Oficialías Mayores, según sea el caso, o de las Unidades de Administración y Finanzas, deberán realizar las obras, adquisiciones y acciones indispensables, para que tales bienes cuenten con los elementos de accesibilidad que garanticen a las personas con discapacidad la entrada, desplazamiento, salida, comunicación, acceso a los sistemas y tecnologías de la información, uso de los servicios y evacuación en caso de emergencia, en dichos inmuebles.
Asimismo, las Oficialías Mayores, según sea el caso, o de las Unidades de Administración y Finanzas promoverán el reconocimiento y respeto de los derechos de las personas con discapacidad y la importancia de la accesibilidad en todos los entornos, promoviendo un trato igualitario y sin discriminación, tal como se establece en el Anexo Único.
En caso de que no se pueda garantizar la accesibilidad a la totalidad del inmueble, previa justificación objetiva y razonable ante el INDAABIN, se deberá proponer como mínimo una ruta accesible que permita a la persona con discapacidad hacer uso de la función sustantiva, los servicios públicos principales y los elementos de protección civil requeridos en caso de emergencia.
Los inmuebles que arrienden las dependencias y entidades de la APF deberán cumplir con las disposiciones en materia de accesibilidad indicadas en el presente Acuerdo.
SEXTO. Para efectos de lo dispuesto en el primer párrafo de la disposición anterior, las dependencias y entidades de la APF deberán llevar a cabo la construcción, remodelación, instalación, adaptación tecnológica y en general, las adecuaciones necesarias a los inmuebles federales, así como en los inmuebles de los que el Gobierno Federal es propietario únicamente de una fracción de superficie, adoptándose para ello las medidas que aseguren la utilización de diseños, tecnologías y materiales idóneos.
De igual manera, las dependencias y entidades de la APF deberán atender las disposiciones de este Acuerdo, relativas al diseño y realización de las obras de construcción, reconstrucción, rehabilitación, modificación, adecuación, conservación y mantenimiento en inmuebles federales destinados a su servicio, considerando en todos los casos los principios de accesibilidad, diseño universal y ajustes razonables, sin perjuicio de lo previsto por las disposiciones aplicables en materia de obra pública y los reglamentos de construcciones, de conformidad al Anexo Único.
SÉPTIMO. Tratándose de inmuebles federales destinados a las dependencias y entidades de la APF, que tengan un valor arqueológico, artístico o histórico, corresponderá a la Secretaría de Cultura, por conducto del Instituto Nacional de Antropología e Historia o del Instituto Nacional de Bellas Artes y Literatura y al INDAABIN, según corresponda, autorizar los proyectos de accesibilidad que permitan facilitar el acceso y desplazamiento de las personas con discapacidad, así como verificar la ejecución de los mismos.
El CONADIS en coordinación con la Secretaría de Cultura, podrá realizar acciones de promoción, comunicación, acceso a la información, uso y disfrute de dichos inmuebles por parte de las personas con discapacidad, sin perjuicio de lo dispuesto en la LGBN y atendiendo a lo establecido en la LFMZAAH.
OCTAVO. La ruta que conduzca al inmueble federal iniciará en el acceso principal del inmueble e incluirá los elementos de una ruta accesible, a fin de que, implemente los citados elementos de accesibilidad en la vía de acceso.
NOVENO. Los Inmuebles federales deberán contemplar la accesibilidad en formatos o medios para personas con cualquier tipo de discapacidad, considerando en particular las características de las personas con discapacidad física sensorial, visual, auditiva, intelectual y mental; es decir, la señalización y los servicios principales que se brinden serán complementados con pavimentos táctiles, señalización audible, sonora, lumínica, en Sistema de Escritura Braille, iluminación y patrones de colores neutros y señalizaciones de fácil comprensión o señalización en lengua de señas mexicana entre otras.
DÉCIMO. Cualquier señalización dentro de los inmuebles federales deberá ser susceptible de percibirse, al menos, por dos de los siguientes sentidos: oído, vista o tacto; ya sea directamente o por medio de elementos tecnológicos de carácter general o generalizable.
DÉCIMO PRIMERO. El mobiliario de carácter fijo que se establezca en los Inmuebles federales para el uso del público en general deberá ser diseñado de conformidad con lo que establezca la respectiva normativa en materia de accesibilidad y evitando que este mobiliario represente un obstáculo en el desplazamiento y uso de las personas con discapacidad.
DÉCIMO SEGUNDO. Los espacios de concurrencia pública al interior de los Inmuebles Federales deberán prever accesibilidad para personas con cualquier tipo de discapacidad.
Los espacios y áreas destinadas al uso de personal con discapacidad que labora en el interior del edificio, instalación o espacio, deberán ser accesibles o, en su caso, adoptar los ajustes razonables que requiera la persona, de acuerdo con sus necesidades y características específicas.
La denegación de estos ajustes razonables representará un acto de discriminación por motivos de discapacidad.
DÉCIMO TERCERO. Deberá existir mínimo un baño para personas con discapacidad en el servicio sanitario general, por cada 3 niveles de la edificación, y estará situado en lugares de fácil acceso. Este tipo de servicio sanitario será considerado de uso preferente.
En los casos en que sea posible, se instalará un baño independiente, para uso exclusivo de las personas con discapacidad, situado en lugares de fácil acceso.
DÉCIMO CUARTO. Los accesos principales y los pasillos de correspondencia dentro de los Inmuebles federales contarán, siempre y cuando esto sea técnica y operativamente posible, con rampas fabricadas con materiales adecuados y antiderrapantes, respetando las pendientes y las especificaciones técnicas que se establezcan para tal fin.
En los casos que resulte inviable la fabricación de una rampa, se analizará la factibilidad técnica y financiera para la instalación de plataformas, salvaescaleras o algún otro elemento mecánico que permita el acceso a las instalaciones de las personas con discapacidad motriz y/o usuarias de sillas de ruedas.
En el caso de que la factibilidad técnica y financiera permita la instalación de plataformas, salvaescaleras o algún otro elemento mecánico, éstos deberán de cumplir con las especificaciones técnicas y parámetros que para cada caso sean pertinentes. En este supuesto, las dependencias y entidades de la APF formularán y enviarán al INDAABIN, un informe circunstanciado de los Inmuebles federales que cuenten con tales mecanismos, a efecto de analizar los casos en que se determinó la factibilidad para su instalación.
DÉCIMO QUINTO. Las dependencias y entidades de la APF velarán por el mantenimiento de las disposiciones y elementos de accesibilidad indicados en el presente Acuerdo.
Todas las adecuaciones que se realicen para garantizar la protección civil en los entornos deben asegurar la accesibilidad para las personas con discapacidad.
No se permitirá la cancelación de alguna medida, disposición o elemento de accesibilidad con la justificación de uso escaso o poca asistencia de personas con discapacidad a los servicios o instalaciones del inmueble federal.
Las dependencias y entidades de la APF deberán capturar en el sistema que para ello determine el INDAABIN la información de sus Inmuebles en materia de accesibilidad.
DÉCIMO SEXTO. Los programas internos de protección civil y sus respectivos planes de los inmuebles federales podrán incluir un procedimiento de emergencia respecto a personas con cualquier tipo de discapacidad, de conformidad con la normativa en materia de accesibilidad que corresponda y en cumplimiento de la Norma Oficial Mexicana.
Se considera que en el supuesto que una persona con discapacidad puede ser visitante, estudiante, usuaria de los servicios o trabajadora de la dependencia o entidad de la APF.
Las dependencias y entidades de la APF deberán informar por escrito al INDAABIN de manera bimestral las acciones realizadas en materia de accesibilidad, para que sean presentados al Comité del Patrimonio Inmobiliario Federal y Paraestatal.
DÉCIMO SÉPTIMO. En caso de incumplimiento injustificado a lo establecido en el presente Acuerdo, se deberá dar vista al Órgano Interno de Control o a la autoridad competente, para que en el ámbito de sus atribuciones imponga la sanción o, en su caso, recomendación correspondiente.
T R A N S I T O R I O S
PRIMERO. El presente Acuerdo entrará en vigor al día siguiente de su publicación en el Diario Oficial de la Federación.
SEGUNDO. Las dependencias y entidades de la APF deberán informar al INDAABIN de los avances en las modificaciones y adaptaciones a los inmuebles federales en un plazo no mayor a un año, contados a partir de la fecha de publicación del presente en el Diario Oficial de la Federación.
TERCERO. Las modificaciones y adaptaciones a los inmuebles federales a que se refiere el presente Acuerdo se realizarán con cargo a las partidas presupuestarias asignadas para obra, mantenimiento y conservación de inmuebles, ya sean propios o en arrendamiento, en términos de las disposiciones aplicables y siempre y cuando se cuente con la suficiencia presupuestaria en el ejercicio fiscal correspondiente.
CUARTO. En el ámbito de sus competencias el INDAABIN, el CONADIS y el CONAPRED fomentarán el cumplimiento en las disposiciones previstas en el presente Acuerdo.
El INDAABIN informará el cumplimento de las disposiciones previstas en el presente Acuerdo a través del Comité del Patrimonio Inmobiliario Federal y Paraestatal y de sus Subcomités.
Las disposiciones del presente Acuerdo serán revisadas, y en su caso actualizadas, por lo menos cada 5 años a partir de su publicación.
QUINTO. El presente Acuerdo deja sin efectos al Acuerdo por el que se establecen los lineamientos para la accesibilidad de las personas con discapacidad a inmuebles federales publicado en el Diario Oficial de la Federación el 12 de enero de 2004.
Ciudad de México a 03 de diciembre de 2021.- Presidente del Instituto de Administración y Avalúos de Bienes Nacionales, Mtro. Mauricio Márquez Corona.- Rúbrica.
ANEXO ÚNICO
ÍNDICE
PRESENTACIÓN
GLOSARIO
TÍTULO 1
1. FACTORES HUMANOS DE DISEÑO
1.1. ANTROPOMETRÍA
1.2. ERGONOMÍA
TÍTULO 2
2. RUTA ACCESIBLE EXTERIOR
2.1. BANQUETAS
2.2. ANDADORES
2.2.1. ZONAS DE DESCANSO
2.3. PISOS
2.4. RAMPAS
2.5. CRUCES
2.5.1. CRUCES PEATÓN VEHÍCULO
2.5.2. PASOS A DESNIVEL
2.5.3. CAMELLONES
2.6. CAJÓN DE ESTACIONAMIENTO EXCLUSIVO PARA PERSONAS CON DISCAPACIDAD
TÍTULO 3
3. CONDICIONES INTERIORES DE LOS EDIFICIOS
3.1. CIRCULACIONES HORIZONTALES
3.1.1. ACCESOS
3.1.2. VESTÍBULOS
3.1.3. PASILLOS
3.2. CIRCULACIONES VERTICALES
3.2.1. ESCALERAS
3.2.2. RAMPAS
3.2.3. ELEVADORES
3.2.4. PLATAFORMAS /SALVAESCALERAS
3.3. ÁREAS DE SERVICIOS
3.3.1. MÓDULOS DE ATENCIÓN AL PÚBLICO
3.3.2. SALAS DE ESPERA
3.3.3. ÁREAS DE TRABAJO (OFICINAS, SALAS DE REUNIÓN, COMEDORES)
3.3.4. AUDITORIOS
3.3.5. SERVICIOS SANITARIOS
3.3.6. ÁREAS DE ACCIONAMIENTO
TÍTULO 4
4. SISTEMAS DE ORIENTACIÓN
4.1. SÍMBOLO INTERNACIONAL DE ACCESIBILIDAD (SIA)
4.2. SEÑAL VISUAL
4.2.1. SEÑALES IMPRESAS
4.2.2. IDENTIFICACIÓN DE ESPACIOS
4.2.3. DIRECTORIOS Y MÓDULOS DE CONDUCCIÓN
4.3. TACTO-VISUAL
4.3.1. SISTEMA BRAILLE ESPECIFICACIONES
4.4. RUTA TÁCTIL
4.5. SEÑAL AUDIBLE
TÍTULO 5
5. PROTECCIÓN CIVIL
5.1. OBLIGACIONES DEL RESPONSABLE O ADMINISTRADOR DE LOS INMUEBLES FEDERALES
5.2. RUTAS DE EVACUACIÓN
5.3. SALIDAS DE EMERGENCIA
MECANISMO DE SUPERVISIÓN PARA EL CUMPLIMIENTO DEL ACUERDO
INFORME DE AVANCES AL INDAABIN
REVISIÓN Y ACTUALIZACIÓN
ÍNDICE DE ILUSTRACIONES
1 ESTATURAS EN MÉXICO SEGÚN MANUAL IMSS
2 TABLA DE ESTATURAS EN MÉXICO SEGÚN IMSS
3 USO DE ANDADERA (FRONTAL)
4 USO DE MULETAS (FRONTAL)
5 SILLA DE RUEDAS DE PROPULSIÓN MANUAL (PLANTA Y ALZADO)
6 PERSONA CON DISCAPACIDAD EN SILLA DE 3 RUEDAS MOTORIZADA EN VISA FRONTAL Y LATERA
7 RADIO DE GIRO DE SILLA TIPO MOTORIZADA EN VISTA SUPERIOR
8 PLANTA DE ALCANCE LATERAL DEL BRAZO CON BASTÓN
9 TABLA EXPLICATIVA SUJETO DE PIE CON ANDADOR Y PERRO DE ASISTENCIA
10 SUJETO DE PIE CON ANDADOR Y PERRO DE ASISTENCIA
11 TABLA DE ESTATURAS EN PERSONAS PARA GENERAR ACCESIBILIDAD
12 ZONA DE ALCANCE PERSONA EN SILLA DE RUEDAS EN VISTA FRONTAL
13 TABLA EXPLICATIVA ZONA DE ALCANCE PERSONA EN SILLA DE RUEDAS EN VISTA FRONTAL
14 RANGOS MÍNIMOS Y MÁXIMOS DE ALCANCES
15 PERSONA DE PIE CON BASTÓN Y MULETAS. VISTA FRONTAL
16 PERSONA DE PIE CON BASTÓN Y MULETAS. VISTA LATERAL
17 ALCANCE PUNTA MANO. VISTA LATERAL
18 SUJETO SENTADO. VISTA LATERAL
19 PLANTA. ESPACIO MÍNIMO PARA MANIOBRAR EN SILLA DE RUEDAS DENTRO DE ESPACIOS DE TRABAJO
20 PLANTA. GIRO DE PERSONAS EN SILLA DE RUEDAS
21 PLANTA. PERSONA CON MULETAS VISTA TRANSVERSAL SUPERIOR A OSCILACIÓN DE LAS MULETAS AL ANDAR
22 VISTA CORONAL O VENTRAL (ALZADO FRONTAL)
23 SE REPRESENTAN 2 ESPACIOS DE DETECCIÓN DEL BASTÓN A PASOS REGULARES
24 COMPOSICIÓN DEL ELEMENTO BANQUETA
25 TABLA DE ELEMENTOS EN BANQUETAS
26 TABLA EXPLICATIVA ÁREAS DE DESCANSO
27 ÁREAS DE DESCANSO
28 SOLUCIONES EN PISO
29 RAMPA A MITAD DE CUADRA
30 TABLA EXPLICATIVA RAMPA A MITAD DE CUADRA
31 ELEMENTOS DE PROTECCIÓN EN RAMPAS
32 TABLA DE PENDIENTE MÁXIMA PARA UNA RAMPA
33 TABLA DE ESPECIFICACIONES GENERALES EN CRUCE PEATONAL
34 REFERENCIA MANUAL DE ACCESIBILIDAD IMSS
35 REFERENCIA MANUAL DE ACCESIBILIDAD IMSS
36 TABLA DE ESPECIFICACIONES DE CRUCE EN ESQUINA
37 PLANTA DE CRUCES EN VIALIDADES A MITAD DE CUADRA
38 ALZADO DE CRUCES EN VIALIDADES A MITAD DE CUADRA
39 ESPECIFICACIONES EN CRUCES DE VIALIDADES
40 TABLA DE ANCHOS MÍNIMOS EN PASARELAS
41 ALZADO DE PUENTE PEATONAL
42 PLANTA DE PUENTE PEATONAL
43 TABLA DE ELEMENTOS DE PUENTE PEATONAL
44 TABLA DE ESPECIFICACIONES EN CAMELLONES
45 ESQUEMA DE CAMELLÓN
46 ALZADO CAJÓN DE ESTACIONAMIENTO
47 PLANTA PARA CAJÓN DE ESTACIONAMIENTO
48 ESPECIFICACIONES PARA CAJÓN DE ESTACIONAMIENTO
49 PLANTA DE BAHÍA DE ASCENSO Y DESCENSO
50 TABLA DE ESPECIFICACIONES PARA BAHÍAS
51 PLANTA E ISOMÉTRICO DE PUERTAS
52 TABLA DE ESPECIFICACIONES PARA PUERTAS
53 VESTÍBULOS EN PLANTA Y ALZADO
54 ESPECIFICACIONES DE VESTÍBULOS
55 PASILLOS EN PLANTA
56 ESPECIFICACIONES PARA PASILLOS
57 ESCALERAS EN PLANTA Y ALZADO
58 TABLA DE ESPECIFICACIONES DE ESCALERAS
59 PLANTA Y ALZADO DE RAMPA
60 TABLA DE ESPECIFICACIONES PARA RAMPAS
61 ELEVADOR EN ALZADO Y PLANTA
62 TABLA DE ESPECIFICACIONES EN ELEVADORES
63 ISOMÉTRICO DE PLATAFORMAS/SALVAESCALERAS
64 TABLA DE ESPECIFICACIONES EN PLATAFORMAS
65 PLANTA Y ALZADO DE MÓDULO DE ATENCIÓN AL PÚBLICO
66 TABLA DE ESPECIFICACIONES PARA MÓDULO DE ATENCIÓN
67 PLANTA DE SALA DE ESPERA
68 TABLA DE ESPECIFICACIONES PARA SALAS DE ESPERA
69 PLANTA Y ALZADO DE ÁREAS DE TRABAJO
70 ESPECIFICACIONES PARA ÁREAS DE TRABAJO
71 PLANTA DE SALAS DE REUNIÓN
72 ESPECIFICACIONES DE SALAS DE REUNIÓN
73 PLANTA Y ALZADO DE COMEDORES
74 TABLA DE ESPECIFICACIONES PARA COMEDORES
75 PLANTA DE AUDITORIOS
76 ESPECIFICACIONES PARA AUDITORIOS
77 DISEÑO DE BUTACAS Y ÁREA TRASERA PARA SILLA DE RUEDAS
78 TABLA ESPECIFICACIONES PARA ÁREAS DE BUTACAS
79 DISEÑO DE BUTACAS Y ÁREAS TRASERA PARA SILLA DE RUEDAS
80 DESCRIPCIÓN DE BUTACAS EN ÁREA TRASERA
81 SANITARIOS HOMBRES Y VARIABLES EN ADAPTACIÓN AL MOBILIARIO
82 TABLA DE ESPECIFICACIONES PARA SANITARIOS HOMBRES
83 SANITARIOS MUJERES
84 TABLA DE ESPECIFICACIONES PARA SANITARIOS DE MUJERES
85 SANITARIO FAMILIAR
86 TABLA DE ESPECIFICACIONES SANITARIO FAMILIAR
87 MEDIDAS PARA LAVABOS
88 TABLA DE ESPECIFICACIONES PARA LAVABOS
89 MEDIDAS PARA MINGITORIOS
90 ESPECIFICACIONES PARA MEDIDAS DE MINGITORIOS.
91 SECUENCIAS DE USO
92 DESCRIPCIÓN DE ESPECIFICACIONES EN SECUENCIAS DE USO
93 COMPARTIMIENTO FAMILIAR
94 TABLA DE ESPECIFICACIONES DEL COMPARTIMIENTO FAMILIAR
95 COMPARTIMIENTO DE MUJERES
96 TABLA DE DESCRIPCIÓN DE COMPARTIMIENTO DE MUJERES
97 MEDIDAS PARA BEBEDEROS Y EXPENDEDORES
98 ESPECIFICACIONES DE BEBEDEROS Y EXPENDEDORES
99 DETALLE DE MÁQUINA INTERACTIVA
100 DESCRIPCIÓN PARA DETALLE DE MÁQUINA INTERACTIVA
101 TABLA DE REQUERIMIENTOS PARA SISTEMAS DE ORIENTACIÓN
102 ILUSTRACIÓN DEL SIA
103 ILUSTRACIÓN DEL SIA PARA PERROS DE ASISTENCIA
104 DESCRIPCIÓN DE CONCEPTOS PARA SEÑAL VISUAL
105 TIPOS DE SEÑALES IMPRESAS
106 ESPECIFICACIONES DE SEÑALIZACIÓN.
107 TABLA DE ESPECIFICACIONES
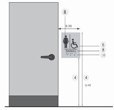
108 SEÑALÉTICA DE IDENTIFICACIÓN DE ESPACIOS
109 TABLA DE ESPECIFICACIONES
110 MEDIDAS Y NOMENCLATURAS DE SEÑALIZACIÓN
111 TABLA DE ESPECIFICACIONES
112 TABLA DE ESPECIFICACIONES
113 ESQUEMA PARA COLOCACIÓN DE PLACA
114 ESPECIFICACIONES DE PLACA CON SISTEMA BRAILLE
115 SEÑALIZACIÓN TACTO VISUAL (COLOCACIÓN DE PLACAS TÁCTILES)
116 MEDIDAS PARA SISTEMA BRAILLE
117 CARACTERES EN SISTEMA BRAILLE
118 TABLA DE ESPECIFICACIONES PARA SISTEMA BRAILLE
119 ELEMENTOS DE RUTA TÁCTIL
120 DESCRIPCIÓN DE ELEMENTOS DE RUTA TÁCTIL
121 VARIANTE DE PANEL DE CAMBIO DE DIRECCIÓN (1 MÓDULO)
122 TABLA DE ESPECIFICACIONES
123 MEDIDAS DE SALIDAS DE EMERGENCIA (OPCIÓN 1)
124 MEDIDAS DE SALIDAS DE EMERGENCIA (OPCIÓN 2)
125 SEÑALIZACIÓN PARA SALIDAS DE EMERGENCIA
126 TABLA DE ESPECIFICACIONES PARA SALIDAS DE EMERGENCIA
PRESENTACIÓN
En nuestro país las personas con discapacidad se enfrentan de manera cotidiana a diversas barreras que dificultan e inhiben su participan plena y efectiva en la sociedad. Esas barreras se encuentran presentes en diferentes espacios y ámbitos como lo son el entorno físico (construcciones), los transportes, las comunicaciones, la información, tan solo por mencionar algunos, que limitan o impiden el ejercicio de los derechos y libertades de las personas con discapacidad, especialmente el derecho a la accesibilidad y a vivir de forma independiente, reconocidos por la Convención sobre los Derechos de las Personas con Discapacidad.
En ese sentido es que el Estado mexicano asume el compromiso de garantizar, promover, proteger y respetar los derechos de las personas con discapacidad en estricto apego al mandato previsto en el artículo 1º de la Constitución Política de los Estados Unidos Mexicanos y a los compromisos internacionales en la materia, como lo es el caso de la Convención anteriormente citada, y las observaciones emitidas por el Comité sobre los Derechos de las Personas con Discapacidad, con la finalidad de que puedan gozar y ejercer sus derechos en condiciones de igualdad y sin discriminación.
Por consiguiente, es que cobra relevancia que los inmuebles del Gobierno Federal estén libres de cualquier obstáculo o barrera en el entorno físico, y gocen de condiciones de accesibilidad a través de la adopción de medidas de diseño universal y de ajustes razonables, considerando que dichos inmuebles son los espacios en los cuales las autoridades federales desarrollan sus atribuciones y en donde confluyen diversas actividades, por lo que debe estar garantizado el ingreso a los mismos por parte de todas las personas, incluidas las personas con discapacidad, ya sea en su calidad de solicitantes de algún servicio público, de visitantes de recintos culturales o de espacios gubernamentales, como personas trabajadoras de las dependencias y entidades de la APF, o con cualquier otro carácter.
En razón de lo anterior es que el Gobierno Federal estima necesario e impostergable el fortalecimiento del marco jurídico en materia de accesibilidad a los inmuebles públicos federales, razón por la cual ha emitido el Acuerdo por el que se emiten los criterios y especificaciones técnicos para la accesibilidad de las personas con discapacidad a los inmuebles de la Administración Pública Federal, así como el presente Anexo Único que forma parte de aquél, con la finalidad de unificar criterios que permitan mejorar la funcionalidad y accesibilidad a los inmuebles públicos federales, proporcionando a las dependencias y entidades de la APF un piso mínimo de especificaciones técnicas, así como una guía de aplicación para el diseño, construcción y modificación de los inmuebles públicos federales, que les permitan eliminar los obstáculos de manera progresiva del entorno físico, facilitando el acceso y uso de los espacios a las personas con discapacidad.
El Gobierno Federal reconoce la importancia del derecho a la accesibilidad de las personas con discapacidad, así como su vinculación con el derecho a la igualdad y no discriminación como un medio para la realización y cumplimiento de la igualdad de oportunidades de las personas, por lo cual considera que diseñar y construir espacios accesibles a partir de un diseño universal para todas las personas es una prioridad, razón por la cual se emite el presente Acuerdo y su Anexo.
GLOSARIO
Además de las definiciones previstas en el Lineamiento Segundo del Acuerdo por el que se emiten los criterios y especificaciones técnicos para la accesibilidad de las personas con discapacidad a los inmuebles de la Administración Pública Federal, para efectos del presente Anexo, se entenderá por:
ACCESO. - Es cualquier punto de entrada a una edificación. Incluye el camino que conduce a la(s) puerta(s), el acceso vertical que, en su caso, lleva hasta el nivel de la entrada al inmueble, la plataforma de acceso o los umbrales a ambos lados de la(s) puerta(s).
ANDADORES. - Es el área pavimentada destinada al tránsito peatonal.
ANTROPOMETRÍA. - Estudia de las características del cuerpo humano: física (sensaciones), cognitiva (percepción, atención, lenguaje, memoria), afectiva (emociones, sentimientos) y social (lenguaje, emociones).
APOYO ISQUIÁTICO(1).- Elemento de apoyo para la parte posterior de la persona, a la altura de la cadera, para descansar en posición de pie y/o sujetarse del apoyo con las manos.
APOYOS(2).- Es un recurso o dispositivo colocado en el entorno construido para ayudar a las personas mientras están cambiando de posición o caminando. Es el caso, entre otros, de pasamanos, barras, protecciones, etcétera.
ÁREA DE APROXIMACIÓN(3).- Es el espacio inmediato de maniobra para hacer uso de un elemento.
ÁREA DE DESCANSO(4).- Es un área junto a circulaciones, como aceras o andadores, fácilmente identificable por personas ciegas y baja visión en las cuales se pueden ubicar bancas, mobiliario urbano y espacio para usuario sobre silla de ruedas.
ÁREA DE DETECCIÓN. - Es aquella que puede ser localizada por el bastón utilizado por personas ciegas o baja visión.
ÁREA PRIVATIVA. - Espacios físicos de un inmueble federal asignados al servidor público para el ejercicio de sus funciones, según el nivel de referencia que ocupa dentro de la estructura orgánica en la dependencia o su equivalente en entidad de la APF a la que se encuentre adscrito.
ÁREA DE RESGUARDO. - Es un área que tiene acceso directo a una salida, en donde las personas con alguna discapacidad permanecen temporalmente con seguridad en espera de posteriores instrucciones o asistencia durante una evacuación de emergencia.
ÁREA DE TRANSFERENCIA. - Es un área para que una persona se traslade de una silla de ruedas a un elemento contiguo y viceversa, por ejemplo, asiento o tina; o a un vehículo de transporte.
ÁREA DE USO PÚBLICO. - Son espacios interiores o exteriores que están disponibles para el público en general en un inmueble.
ARROYO VEHICULAR O SUPERFICIE DE RODADURA. - Es un espacio destinado a la circulación de vehículos, incluyendo los no motorizados, generalmente delimitados por acotamientos o banquetas.
AVISOS VISUALES(5).- Son los elementos, señales o cambios de textura en el pavimento, muros, barandales, etcétera, que orientan y advierten de peligros o riesgos a las personas ciegas y con baja visión.
AYUDAS TÉCNICAS. - Son dispositivos tecnológicos y materiales que permiten habilitar, rehabilitar o compensar una o más limitaciones funcionales, motrices, sensoriales o intelectuales de las personas con discapacidad(6).
BARRERAS FÍSICAS(7).- Son aquellos obstáculos que dificultan, entorpecen o impiden a las personas con discapacidad, el libre desplazamiento y uso de los lugares públicos o privados, sean exteriores o interiores, uso común o servicios comunitarios.
BORDE(8).- Es el límite de una calle, rampa, andador o camino que ha sido alzado para identificar, proteger o contener.
CADENA DE ACCESIBILIDAD. - Es el conjunto de elementos que, en el proceso de interacción del usuario con el entorno, permite la realización de las actividades previstas en él.
CAMBIO DE TEXTURA. - Es la superficie del piso con diferente textura a la superficie inmediata que le da información al peatón con discapacidad visual. Existen dos tipos de cambios de textura(9):
1. Aviso: sirve para indicar que el peatón se aproxima a una zona de alerta o riesgo, aproximación a un objeto u obstáculo, cambio de nivel o cambio de dirección (patrón de círculos).
2. Dirección: indica una ruta a seguir (patrón de líneas).
CRUCE PEATONAL. - Es el área de circulación para el tránsito peatonal dentro de una intersección puede estar a nivel de la banqueta o en la superficie de rodadura.
DESPLAZAMIENTO POR MEDIOS MECÁNICOS. - Es el movimiento de cosas o personas utilizando la tecnología.
DISCAPACIDAD AUDITIVA(10) - Es la restricción en la función de la percepción de los sonidos externos, alteración de los mecanismos de transmisión, transducción, conducción e integración del estímulo sonoro que a su vez pueden limitar la capacidad de comunicación. La deficiencia abarca oído, pero también a las estructuras y funciones asociadas a éste.
DISCAPACIDAD INTELECTUAL. - Es la alteración o limitación de las funciones cognitivas y adaptativas, como la comunicación, autocuidado, habilidades sociales, participación familiar y comunitaria, salud y seguridad, funcionalidad académica y de ocio y trabajo. Estas limitaciones causan un aprendizaje y desarrollo más lento en la persona.
DISCAPACIDAD MOTRIZ. - Es la secuela de una afección en cualquier órgano o sistema corporal que provoque dificultad para moverse, caminar, mantener ciertas posturas o para desarrollar habilidades como sostener objetos.
DISCAPACIDAD PSICOSOCIAL. - Es una condición de vida temporal o permanente en donde convergen los conceptos de lo psicológico y lo social como una restricción causada por el entorno social y centrada en una deficiencia de la psique, que se traduce en trastornos del comportamiento, razonamiento, adaptación a las condiciones de vida y de la comprensión de la realidad.
DISEÑO UNIVERSAL. - El diseño de productos, entornos, programas y servicios para ser utilizados por todas las personas, al máximo posible, sin adaptaciones o necesidad de un diseño especializado.(11)
Principios:
1. Uso equitativo: útil y vendible a personas con diversas discapacidades con igualdad.
2. Uso flexible: amplio rango de preferencia y habilidades individuales.
3. Uso simple e intuitivo: fácil de entender.
4. Información perceptible: información necesaria de forma efectiva para el usuario.
5. Tolerancia al error: minimiza riesgos y consecuencias.
6. Mínimo
DOTACIÓN. - Es el número y tipo de una unidad (por ejemplo, cajón de estacionamiento, lavabo, elevador, inodoro, etc.) requerida en una edificación, la cual es directamente proporcional al número de usuarios.
ELEMENTO(12).-Es el componente arquitectónico o mecánico de una edificación, instalación o lugar, por ejemplo: rampas, puertas, elevadores.
ERGONOMÍA. - Es el análisis multidisciplinario de la interacción entre los seres humanos y los objetos, sus actividades y sus entornos para solucionar problemas de uso de los espacios y los objetos. Considerando las capacidades y limitaciones cognitivas y físicas del usuario. Una de sus herramientas principales son los datos generados por la antropometría.
ESPACIOS AL EXTERIOR. - Son áreas en predios o inmuebles, cuyo uso es la recreación y/o circulación de las personas, tales como: patios, jardines, vestíbulos y demás de naturaleza análoga. Dichas áreas pueden o no estar contenidas por bardas, muros y/o construcciones.
ESTACIONAMIENTO. - Es el espacio físico destinado para colocar un vehículo que no se encuentra en movimiento durante un periodo prolongado.
GUARNICIÓN O BORDILLO(13).- Es el elemento longitudinal que delimita las áreas de circulación, entre peatones y vehículos o límite para contener andaderos o caminos.
ICONOGRAFÍA(14).- Es el sistema de símbolos y signos diseñados para orientar con toda seguridad a las personas con discapacidad en el desplazamiento y uso de los espacios interiores y exteriores.
INTERSECCIÓN O CRUCERO. - Es el nodo donde convergen dos o más vialidades, en el que se realizan los movimientos direccionales del tránsito peatonal y vehicular de forma directa o canalizada por faja separadora, tales como, islas o camellones.
ISLA(15).- Es la zona limitada por guarniciones o elementos de protección al peatón, generalmente de forma triangular, que encauza el tránsito vehicular.
LENGUA DE SEÑAS MEXICANA (LSM). - Es la lengua que utiliza la comunidad de personas sordas de México, que consiste en una serie de signos gestuales articulados con las manos y acompañados de expresiones faciales, mirada intencional y movimiento corporal, dotados de función lingüística, forma parte del patrimonio lingüístico de dicha comunidad y es tan rica y compleja en gramática y vocabulario como cualquier lengua oral.
MOBILIARIO URBANO. - Es el conjunto de elementos, objetos y construcciones dispuestos o ubicados en los espacios libres del interior de un inmueble federal, en los que se permite el uso o concurrencia pública, destinados a la utilización, disfrute y ornato a prestar, en su caso, un determinado servicio a las personas, o a cumplir cualquier otra finalidad análoga.
PARAMENTO(16).- Es el elemento arquitectónico que consiste en una superficie de cualquier material en posición vertical, para delimitar un espacio o área, tales como muros o bardas.
PERCEPTIBLE(17).- Que puede ser detectado por uno de los sentidos con o sin ayuda.
PERRO DE ASISTENCIA(18).- Son aquellos que hayan sido adiestrados, por instituciones especializadas, para el acompañamiento, conducción, ayuda y auxilio de personas con discapacidad. En sus cinco categorías: Perros para Movilidad Limitada, Perros de Alerta Médica, Perros Señal, Perros TEA y Perros Guía.
PERSONA CON MOVILIDAD LIMITADA. - Es aquella persona que por enfermedad (insuficiencia cardiaca o pulmonar), accidente, genética o edad avanzada, incurren en el desplazamiento lento, difícil o desequilibrio. Puede o no requerir de ayuda técnica para desplazarse, por ejemplo, usuarios con bastón, muletas, aparatos ortopédicos y silla de ruedas.
PERSONAS CON BAJA VISIÓN. - Son aquellas personas que presentan una alteración parcial en su campo visual.
PROGRESIVIDAD. - Es la obligación de tomar medidas para lograr el ejercicio paulatino de los derechos económicos, sociales y culturales, utilizando para tal fin el máximo de los recursos disponibles.
RAMPA. - Es el elemento inclinado de la arquitectura que permite vincular dos lugares que se encuentran a diferente altura.
RIESGOS DE CARÁCTER FIJO O TEMPORAL. - Es el potencial peligro en la movilidad de las personas con discapacidad que presenta el conjunto de elementos arquitectónicos u objetos de una edificación. Los riesgos se consideran fijos cuando no es factible su reubicación y temporales cuando ésta es posible.
RUTA DE EMERGENCIA ACCESIBLE(19).- Es el camino de salida, continuo y sin obstrucciones, que conduce desde cualquier punto de una edificación hasta la vía pública. Comprende las circulaciones verticales, horizontales y las áreas de resguardo.
RUTA TÁCTIL O PODO TÁCTIL(20).- Es la circulación diseñada para las personas con discapacidad visual que señala un camino determinado entre los espacios, usando una combinación de elementos táctiles, tales como, pavimento táctil, señalamiento tacto/visual y pasamanos.
SALIDA. - Es la sección de una ruta de evacuación que se encuentra separada de los demás espacios de un edificio mediante una construcción o un equipo para proporcionar una vía segura de recorrido hacia la descarga de la salida.
SANITARIO ACCESIBLE. - Es el espacio independiente y accesible para personas con discapacidad y su acompañante, de cualquier género, como apoyo, con cambiador para infantes horizontal en la pared.
SEÑALIZACIÓN. - Es aquella información expuesta, ya sea sonora, visual, simbólica o táctil que proporciona orientación e información. Ésta puede ser:
· Señalización horizontal. - Marcas como rayas, flechas, símbolos y leyendas que se aplican sobre la superficie de rodadura, guarniciones y obstáculos o estructuras de las vías o adyacentes a ellas para regular y canalizar el tránsito de peatones y vehículos.
· Señalización vertical. - Tableros con símbolos y leyendas fijados en estructuras diversas, ubicadas en el espacio público, que proveen de información útil de orientación al usuario, para un desplazamiento seguro y ordenado.
SUPERFICIE ANTIDESLIZANTE O ANTIDERRAPANTE. - Es el piso que no es resbaloso en condiciones secas o húmedas y a prueba de lluvia.
TÁCTIL(21).- Que puede ser percibido utilizando el sentido del tacto.
TRANSFERENCIA(22).- Es el movimiento para instalarse o abandonar una silla de ruedas. En caso de personas ambulantes con dificultades físicas, es el movimiento para sentarse o levantarse.
VISIÓN BAJA. - Son aquellas personas que presentan una alteración total o parcial en su campo visual.
TÍTULO 1
1.- FACTORES HUMANOS DE DISEÑO
1.1. ANTROPOMETRÍA
Las personas con diferentes tipos de discapacidad pueden requerir utilizar ayudas técnicas para su movilidad; por ejemplo, andadera, muletas, silla de ruedas, bastón blanco o perros de asistencia. La antropometría es una disciplina fundamental para el diseño de los espacios y distribución de los equipos, mobiliario y apoyo técnicos para todo tipo de usuarios y en especial para las personas con discapacidad; facilitando su movilidad y desplazamiento. Así mismo, la antropometría se relaciona con la seguridad y la ergonomía.
1 ESTATURAS EN MÉXICO SEGÚN MANUAL IMSS
| Sexo | Estatura promedio jóvenes (15-24 años) | Promedio (Hombres y mujeres) | Estatua promedio personas adultas (25 años o más) | Promedio (hombres y mujeres) |
| Hombres | 1.67 m | 1.61 m | 1.63 m | 1.58 m |
| Mujeres | 1.56 m | 1.53 m |
2 TABLA DE ESTATURAS EN MÉXICO SEGÚN IMSS
Este documento de accesibilidad se basa en las medidas antropométricas, considerando a la persona y su ayuda técnica, para hacer posible el adecuado desplazamiento y las actividades de las personas con discapacidad en nuestro país.
A continuación, se mencionan diferentes tipos de ayudas técnicas requeridas, mencionadas en el Manual de Normas Técnicas de Accesibilidad (23) para facilitar su traslado de las personas con discapacidad.
Tipos de discapacidad:
Motriz
· Andadera: Ayuda técnica que sirve como apoyo para sostener y mantener el equilibrio mientras que una persona camina.
3 USO DE ANDADERA (FRONTAL)
· Bastón trípode y cuádruple: Ayuda técnica que tiene tres y cuatro apoyos en la base respectivamente, este tipo de configuración aumenta la estabilidad pero también aumenta el peso del bastón.
· Bastón de mano: Ayuda técnica para caminar que permite la descarga parcial del peso al apoyar la mano sobre el mango del bastón.
· Bastón canadiense o Bastón inglés: Ayuda técnica que permite la descarga parcial del peso al apoyar el antebrazo y la mano sobre el bastón.
· Muletas: Ayuda técnica para la marcha, que consigue descargar el peso parcialmente en las axilas y en las manos.
4 USO DE MULETAS (FRONTAL)
· Silla de ruedas: Silla con respaldo montada sobre ruedas que permite a una persona desplazarse sobre ella.
· Silla de ruedas activa o propulsión manual: Ruedas posteriores grandes con dos aros adosados a cada rueda que sirven para impulsar el movimiento hacia delante.
5 SILLA DE RUEDAS DE PROPULSIÓN MANUAL (PLANTA Y ALZADO)
· Silla de ruedas motorizada: Persona usuaria de silla de ruedas con motor eléctrico, batería o tipo scooter.
6 PERSONA CON DISCAPACIDAD EN SILLA DE 3 RUEDAS MOTORIZADA EN VISA FRONTAL Y
LATERAL
7 RADIO DE GIRO DE SILLA TIPO MOTORIZADA EN VISTA SUPERIOR
Tipo de discapacidad
Visual
Bastón blanco: Es el dispositivo de movilidad en el que son entrenadas preferentemente las personas sin resto visual funcional.
8 PLANTA DE ALCANCE LATERAL DEL BRAZO CON BASTÓN
Perro de asistencia: Aquellos que hayan sido adiestrados, por instituciones especializadas, para el acompañamiento, conducción, ayuda y auxilio de personas con discapacidad. Incluyen perros guía (utilizados por personas con discapacidad visual), perros señal y perros de servicio. El perro debe portar credencial, correa y arnés.
1.2. ERGONOMÍA
Análisis multidisciplinario de la interacción entre los seres humanos y los objetos, sus actividades y sus entornos para solucionar problemas de uso de los espacios y los objetos. Considerando las capacidades y limitaciones cognitivas y físicas del usuario. Una de sus herramientas principales son los datos generados por la antropometría.
Es por ello que la ergonomía se encuentra ligada a la antropometría que al conjugarse ambas nos darán como resultado del diseño adecuado de herramientas y apoyos tecnológicos para garantizar la mejor manera de accesibilidad a los diferentes espacios de los inmuebles federales, a las personas y principalmente a las que cuentan con algún tipo de discapacidad.
En las siguientes tablas se indican las estaturas de niñas y niños de 6 a 12 años y personas de talla baja para generar accesibilidad(24)
| | Estatura de personas talla baja | Estaturas de niñas y niños de 6 y 12 años | Movimiento | Alcances |
| A | 0.70 - 1.38 m | 1.15 - 1.40 m | Oscilación de muletas antero posterior | 0.55 - 1.10 m |
| Oscilación muleta cuerpo medio lateral | 0.55 -1.10 m |
| B | 0.66 - 1.30 m | 1.10 - 1.30 m | Oscilación de muletas al andar, medio lateral. | 0.40 - 0.80 m |
| C | 0.33 - 0.66 m | 0.50 - 0.70 m | Separación de muletas (persona de pie) | 0.12 - 0.25 m |
| D | 0.35 - 0.65 m | 0.60 - 0.71 m | Alcance de brazo máximo de persona en silla de ruedas (Longitud del brazo) | 0.35 - 0.65 m |
| E | 1.58 - 1.68 m | 1.20 - 1.60 m | Separación muleta cuerpo medio lateral | 0.075 - 0.15 m |
| F | 0.50 - 1.20 m | 1.00 - 1.20 m | Separación muleta cuerpo medio lateral | 0.55 - 1.20 m |
| G | 0.45 - 0.90 m | 0.75 - 0.95 m | Separación muletas (persona de pie) | 0.12 - 0.25 m |
11 TABLA DE ESTATURAS EN PERSONAS PARA GENERAR ACCESIBILIDAD
| RANGOS | A | B | C | D | E |
| Mínimo | 0.91 m | 1.03 m | 0.57 m | 0.74 m | 0.50 m |
| | | | | | |
| Máximo | 0.94 m | 1.22 m | 0.74 m | 0.76 m | 0.52 m |
14 RANGOS MÍNIMOS Y MÁXIMOS DE ALCANCES
15 PERSONA DE PIE CON BASTÓN Y MULETAS.
VISTA FRONTAL
16 PERSONA DE PIE CON BASTÓN Y MULETAS.
VISTA LATERAL
17 ALCANCE PUNTA MANO.
VISTA LATERAL
18 SUJETO SENTADO. VISTA LATERAL
19 PLANTA. ESPACIO MÍNIMO PARA MANIOBRAR EN SILLA DE RUEDAS DENTRO DE ESPACIOS DE
TRABAJO
20 PLANTA. GIRO DE PERSONAS EN SILLA DE RUEDAS
21 PLANTA. PERSONA CON MULETAS VISTA TRANSVERSAL SUPERIOR A OSCILACIÓN DE LAS
MULETAS AL ANDAR
22 VISTA CORONAL O VENTRAL (ALZADO FRONTAL)
23 SE REPRESENTAN 2 ESPACIOS DE DETECCIÓN DEL BASTÓN A PASOS REGULARES
TÍTULO 2
2.- RUTA ACCESIBLE EXTERIOR
La ruta accesible se conforma por elementos sin escalones que se conectan entre sí, y pueden o no coincidir con la ruta táctil, la cual puede tener escalones. La ruta accesible se debe de considerar desde la parada del transporte público más cercana, el cruce peatonal más cercano, estacionamiento público más cercano o área de ascenso o descenso vehicular en la vía pública, hacia el acceso al inmueble. En estos casos, se solicitará la colaboración de la autoridad competente, a fin de que, en el ámbito de sus facultades, implemente los elementos de accesibilidad, según corresponda.
Las rutas accesibles exteriores, son aquellas circulaciones peatonales dentro del predio que conducen hacia la entrada al inmueble federal donde se accede hacia los servicios brindados por las dependencias. Se deben identificar aquellos tramos que permitan la circulación por personas con alguna discapacidad, particularmente en los siguientes tramos:
· Desde el acceso al predio hacia la entrada al inmueble.
· Desde los cajones de estacionamiento exclusivos para personas con discapacidad, en caso de contar con ellos dentro del predio.
· Desde el área de ascenso o descenso vehicular, en caso de contar con ellos dentro del predio.
Cada uno de los tramos deben estar integrados por elementos que deberán estar sujetos a las recomendaciones de accesibilidad que a continuación se exponen. Por lo menos una ruta debe ser accesible y continua para cada tramo aplicable. Las rutas accesibles deben ser las mismas que las destinadas para el público en general. En caso de que, por las condiciones físicas existentes del inmueble, esto no sea posible, se deberá buscar una ruta alterna que cumpla con las condiciones de accesibilidad. Dicha ruta puede tener una entrada al inmueble diferente al del público en general, siempre y cuando la ruta accesible alterna esté señalizada, que evite pasar por espacios no públicos o no dignos (como sería el área de basureros) y que la distancia no sea mucho mayor que la del público en general.
La ruta táctil se instalará del acceso al inmueble hasta el primer punto de contacto del inmueble (por ejemplo, el módulo de información), lo cual implica áreas exteriores e interiores.
2.1.- BANQUETAS
Los pavimentos de estos elementos deberán tener superficies uniformes y antiderrapantes que no acumulen agua, las diferencias de nivel se resolverán con rampas cuya pendiente no sea mayor al 6%, se deberán evitar ramas y objetos sobresalientes que no permitan un paso libre de 2.10 m, el mobiliario urbano no deberá obstruir la circulación ni las rampas existentes.
24 COMPOSICIÓN DEL ELEMENTO BANQUETA
| No. | Concepto | Descripción |
| 1 | Franja de fachada | Es una franja adyacente a las edificaciones |
| 2 | Franja de circulación: condición | Cumplir con fichas de circulación peatonal, elementos que sobresalen y superficie del piso |
| 3 | Franja de circulación: ancho | No debe tener obstáculos y debe medir entre 1.20 y 1.50 m |
| 4 | Franja de circulación: obra o remodelación | Durante labores de mantenimiento y remodelaciones se deben proporcionar rutas alternas accesibles |
| 5 | Franja de circulación: acceso vehicular | En desniveles se debe garantizar una ruta accesible continua mediante rampas La franja de circulación puede conservar su nivel en entradas vehiculares |
| 6 | Franja de mobiliario: condición | Colocar el mobiliario urbano sobre la franja La franja de vegetación puede ser la misma |
| 7 | Franja de mobiliario: bancas de descanso | Si existen distancias mayores a 30 m, se recomienda colocar bancas de descanso a la mitad o a los tercios del recorrido Si el recorrido supera los 100 m, deben colocarse a cada 30 m |
| 8 | Franja de vegetación: condición | Colocar vegetación sobre franja El tipo de vegetación a incorporar debe estar en función del ancho de la banqueta, raíces y clima |
| 9 | Franja de guarnición | Elemento longitudinal que delimita la banqueta con el arroyo vehicular |
25 TABLA DE ELEMENTOS EN BANQUETAS
Fuente: (Guía de Recomendaciones de Diseño Universal para el Sector Turismo)
| NORM A | (MTA.- Manual de Normas Técnicas de Accesibilidad, 2016) | E-06 | E-15 | E-03 | E-04 | E-05 |
| (NTCPA.- Norma Técnica Complementaria para el Proyecto Arquitectónico del RCDF., 2011) | 2.3.4 |
| (ISO 21542:2011.- Building Construction-Accessibility and Usability of the Built Environment., 2011) | 7.4 |
| (NMX-R-050-SCFI-2006.- Accesibilidad de las Personas con Discapacidad a Espacios Construidos de Servicio al Público - Especificaciones de Seguridad., 2006) | 6.4.2.1 |
2.2.- ANDADORES
| Andadores Esta definición refiere a las rutas de circulación peatonal dentro de los polígonos federales, que conservan la categoría de "exterior" y que no colinden con vialidad. Estos pasos deberán cumplir con los requerimientos establecidos para las banquetas y adicionalmente los que se describen de manera particular a continuación. | | · Incluir las zonas de descanso mencionadas en el punto 7 para banquetas. |
2.2.1.- ZONAS DE DESCANSO
| NORMA | (NTCPA.- Norma Técnica Complementaria para el Proyecto Arquitectónico del RCDF., 2011) | 2.3.3 |
2.3.- PISOS
Los pisos exteriores deberán tener pendientes del 2% en el sentido transversal, para favorecer el desalojo pluvial. Las juntas entre materiales de pisos y separación de rejillas no deberán ser de más de 13 mm de ancho.
Los desniveles nunca serán superiores a 6 mm.
Los desniveles superiores a 6 mm y menores a 15 mm deberán ochavarse.
La separación máxima entre ranuras de rejillas y coladeras será 13 mm (a ejes) en el sentido de la circulación.
Nota: En trayecto de corredor peatonal y zona de rejilla adicionar a la separación de la rejilla a 13 mm se puede cambiar el sentido de la misma o colocar un tapajuntas.
27 SOLUCIONES EN PISO
2.4.- RAMPAS
Los desniveles en los cruces peatonales de máximo 15 cm. deberán ser integrados con rampas en banqueta cuya pendiente no deberá superar el 6%, así mismo deberán contar con rampas laterales o elementos de confinamiento, cuyo propósito será evitar el tránsito en el sentido transversal a la rampa.
| NORMA | (NTCPA.- Norma Técnica Complementaria para el Proyecto Arquitectónico del RCDF., 2011) | 2.3.2 | 4.1.4 | 2.3.9 |
| (ISO 21542:2011.- Building Construction-Accessibility and Usability of the Built Environment., 2011) | 7.13 | 7.14 | 8.3 | 13.1 | 14.3 |
| (NMX-R-050-SCFI-2006.- Accesibilidad de las Personas con Discapacidad a Espacios Construidos de Servicio al Público - Especificaciones de Seguridad., 2006) | 6.1.2.3 |
En caso de circulaciones peatonales con algún lado abierto, deberá contar con una protección lateral de mínimo 15 cm para desniveles menores a 60 cm y mínimo 90 cm para desniveles mayores a 60 cm.
29 ELEMENTOS DE PROTECCIÓN EN RAMPAS Tipos:
Tipos:
A) Sardinel o muro
B) Elementos ortogonales prefabricados (herrería)
C) Tubos redondos de acero
| NORMA | (ISO 21542:2011.- Building Construction-Accessibility and Usability of the Built Environment., 2011) | 9 |
| (Secretaría de Desarrollo Urbano y Vivienda, Gobierno de la Ciudad de México., 2016) | |
Pendiente máxima para una rampa (porcentaje)
Utilizado en México y España, es el método más difundido y se expresa como rampas con un determinado % de pendiente (8% de pendiente, 10% de pendiente, etc.).(25)
Se interpreta como la parte porcentual de la cota horizontal que se avanza en sentido vertical y así, en una rampa con un 10% de pendiente, por cada metro de desarrollo se sube la décima parte, es decir, 10 cm.(26)
| Altura | Pendiente | Desarrollo Horizontal |
| 1 | 10% | 10 |
| 2 | 8% | 12.5 |
| 3 | 5% | 20 |
30 TABLA DE PENDIENTE MÁXIMA PARA UNA RAMPA(27)
2.5.- CRUCES
Los cruces peatonales los define la intersección de la banqueta o andador con una vía de circulación vehicular. En esta circunstancia se tendrán que garantizar todos los elementos de la ruta accesible exterior en consideración de los elementos que integren el contexto de acuerdo a los siguientes puntos.
2.5.1.- CRUCES PEATÓN VEHÍCULO
| No. | Concepto | Descripción |
| 1 | Franja de fachada | Deben facilitar la circulación peatonal, no deben obstaculizarse con elementos que sobresalgan ni con irregularidades del piso |
| 2 | Banqueta: área de espera | Espacio horizontal antes del cruce peatonal, con mínimo 1.20 m de profundidad |
| 3 | Banqueta: ancho | Debe colocarse a todo lo ancho del cruce o mínimo con 1.50 m para asegurar el paso de dos sillas de ruedas |
| 4 | Franja de circulación: obra o remodelación | Durante labores de mantenimiento y remodelaciones se deben proporcionar rutas alternas accesibles |
| 5 | Banqueta: franja de advertencia táctil | Franja de advertencia táctil en banqueta paralela a la guarnición para cruce peatonal, excepto los lados alabeados |
| 6 | Arroyo vehicular: marca de cruce peatonal | Superficie de cruce con señalización horizontal sobre el arroyo vehicular Cumplir con ficha de superficie del piso |
| 7 | Banqueta: alineamiento | El área de espera o rampa en banqueta deben estar alineadas con respecto al área de espera o rampa de la banqueta opuesta |
| 8 | Cruce peatonal: tipos | -A nivel de arroyo vehicular -Rampa recta/alabeo -A nivel banqueta -Camellón o isla a nivel de arroyo vehicular o nivel de banqueta |
31 TABLA DE ESPECIFICACIONES GENERALES EN CRUCE PEATONAL
Cruces en esquina
32 REFERENCIA MANUAL DE ACCESIBILIDAD IMSS
33 REFERENCIA MANUAL DE ACCESIBILIDAD IMSS
| Especificaciones |
| 1 | Guía podo-táctil con código de avance seguro | 7 | Guarnición de 10 cm en color amarillo pantone 116 |
| 2 | Pared u obstáculo | 8 | Cruce de 4 módulos guía podo-táctil |
| 3 | Señal audible del semáforo peatonal | 9 | Pared u obstáculo |
| 4 | Área Verde | 10 | Rampa con pendiente de 6% |
| 5 | Cruce de Camellón a nivel de Calle | 11 | Zona de banqueta a nivel de calle |
| 6 | Camellón | 14 | Paso peatonal en pintura epóxica color amarillo pantone 116 |
34 TABLA DE ESPECIFICACIONES DE CRUCE EN ESQUINA
Cruces a mitad de cuadra
35 PLANTA DE CRUCES EN VIALIDADES A MITAD DE CUADRA
36 ALZADO DE CRUCES EN VIALIDADES A MITAD DE CUADRA
| Especificaciones |
| 1 | Guía podo-táctil con código de avance seguro | 5 | Camellón |
| 2 | Señal audible del semáforo peatonal | 6 | Guía podo-táctil con código de avance seguro |
| 3 | Rampa en zona de ascenso y descenso hacia paso peatonal | 7 | Cruce de vialidad a nivel de banqueta con franjas en color ama |
| 4 | Zona de ascenso y descenso y rampa | 8 | Guarnición de banqueta en color amarillo pantone 116 C |
37 ESPECIFICACIONES EN CRUCES DE VIALIDADES
| NORMA | (MTA.- Manual de Normas Técnicas de Accesibilidad, 2016) | E-07 | E-09 | E-10 | E-11| E-13 |
| (ISO 21542:2011.- Building Construction-Accessibility and Usability of the Built Environment., 2011) | 7.4 |
2.5.2.- PASOS A DESNIVEL
En los casos de cruces peatonales con arroyos vehiculares en donde no sea posible por las condiciones del contexto desarrollar un cruce como se describe en los puntos anteriores, pueden ser considerados puentes o túneles para tránsito peatonal exclusivo, los cuales deberán seguir los siguientes lineamientos en consideración de personas con discapacidad.
- El puente o túnel peatonal deben cumplir con las especificaciones de ruta accesible.
- Los elementos de soporte para el puente peatonal, así como el desarrollo de la rampa o escalera, no deben obstaculizar la franja de circulación peatonal de la banqueta.
- En caso de circulación bajo rampas o escaleras se debe colocar una protección horizontal a una altura mínima de 10 cm en los lados abiertos bajo la rampa o escalera.
- El ancho de la circulación hacia la pasarela o túnel, esto es, la rampa o escalera se debe determinar de acuerdo al flujo peatonal de la zona.
- Las rampas peatonales que se proyecten en las edificaciones deben cumplir con las siguientes condiciones de diseño:
· Los pasillos con desniveles hasta de 0.30m y pendiente menor o igual al 4% no deben ser considerados rampas;
· Los anchos de las rampas deberán tener en todos los casos un ancho libre mínimo de 1.00 m entre pasamanos;
· La longitud máxima de una rampa entre descansos será en relación a las siguientes pendientes máximas: 6% en una longitud entre 6.00 a 10.00m, 8% en una longitud entre 3.00 a 5.99 y con una pendiente transversal máxima del 2%;
· Contar con pasamanos en ambos lados y cumplir con los lineamientos de este documento para pasamanos y barandales;
· Cuando la pendiente sea mayor al 5% se debe contar con pavimento táctil de advertencia al principio y al final de un tramo de rampa, con una longitud mínima de 0.30m por todo el ancho colocado a 0.30m antes del cambio de nivel del arranque y la llegada de la rampa;
· El ancho de los descansos entre tramos de rampas debe ser cuando menos igual al ancho de la rampa por mínimo 1.20m de longitud;
· Al principio y final de un tramo de rampa se contará con un espacio horizontal de cuando menos el ancho de la rampa por mínimo 1.20m de longitud, en este espacio no se colocará ningún elemento que obstaculice su uso;
· Cualquier cambio en la dirección del recorrido, deberá hacerse solamente en los descansos;
· Los materiales utilizados para su construcción deben ser antiderrapantes;
· Las rampas que se encuentren en rutas de evacuación deberán ser de construcción fija permanente; y
· Las rampas y descansos exteriores deberán diseñarse para evitar la acumulación de agua en su superficie.
- Las rampas deben cumplir con las siguientes especificaciones:
| Ancho Mínimo | Longitud máxima entre descansos | Pendiente máxima |
| 150 cm | 10 m | 8% |
| 150 cm | 15 m | 6% |
| 180 cm | 15 m | 8% |
| 180 cm | 20 m | 6% |
38 TABLA DE ANCHOS MÍNIMOS EN PASARELAS
- El elevador debe cumplir con el apartado 3.2.3. contenido en el Título III Condiciones Interiores de los Edificios. Se debe garantizar las medidas de seguridad y mantenimiento que requiera su operación. El elevador debe ser complementado por escaleras o rampas.
- Las escaleras deben cumplir con el apartado 3.2.1. contenido en el Título III Condiciones Interiores de los Edificios y su ancho libre debe tener mínimo 150 cm.
- El ancho de la pasarela o túnel deben tener un ancho libre mínimo de 200 cm y altura mínima de 220
cm, con pasamanos y barandales.
- Los túneles deben cumplir con las especificaciones de puente peatonal y deben tener una iluminación constante que permita la orientación y desplazamiento seguro de los peatones.
39 ALZADO DE PUENTE PEATONAL
40 PLANTA DE PUENTE PEATONAL
| 1.- Rampa recta |
| 2.- Banqueta |
| 3.- Escalera |
| 4.- Pasarela |
| 5.- Marca de cruce peatonal |
| 6.- Área de espera para ciclistas y motociclistas |
41 TABLA DE ELEMENTOS DE PUENTE PEATONAL
2.5.3.- CAMELLONES
| No. | Concepto | Descripción |
| 1 | Condición: ruta accesible | Continuidad de la ruta accesible a todo lo largo del cruce peatonal, de un lado de la banqueta a la banqueta opuesta |
| 2 | Condición: protección | El paso a nivel sobre arroyo vehicular debe estar protegido por una cabecera de camellón o isla para garantizar la seguridad del peatón |
| 3 | Franja de advertencia: camellones > 2.00 m | Los camellones de ancho mayor a 2.00 m deben tener franja de advertencia táctil en los extremos del borde con el arroyo de 0.30 m por todo el ancho del cruce peatonal pero no menor de 1.20 m |
| 4 | Franja de advertencia: camellones < 2.00 m | En camellones de ancho menor a 2.00 m, el corte del camellón debe de estar a nivel del arroyo vehicular y tener el mismo ancho que el cruce peatonal, pero no menor de 1.20 m. Debe contar con franja de advertencia táctil |
| 5 | Obstáculos | Camellón o isla libre de elementos que obstaculicen la visibilidad hacia el sentido de la circulación vehicular |
42 TABLA DE ESPECIFICACIONES EN CAMELLONES
La franja de advertencia táctil debe tener un ancho de 30 o 40 cm dejando libre la guarnición en ambos extremos del paso. Para camellones con anchos menores a 200 cm el pavimento táctil debe cubrir toda la superficie.
43 ESQUEMA DE CAMELLÓN
- Para impedir el paso de vehículos, en caso de que el ancho lo requiera, se deben colocar elementos para protección del peatón, tales como bolardos, sobre la franja de advertencia táctil en el área de aproximación.
- Los bolardos deben estar alineados con respecto a los elementos para protección del peatón de la banqueta opuesta. Deben tener una altura de 0.70 m y una separación entre ellos no menor a 0.90 m.
- La franja de advertencia táctil debe tener un ancho de 30 o 40 cm dejando libre la guarnición en ambos extremos del paso. Para camellones con anchos menores a 200 cm el pavimento táctil debe cubrir toda la superficie.
- En todos los casos se debe considerar un desnivel máximo de 1 cm con respecto del nivel de arroyo vehicular, así como prever los trabajos complementarios para el drenaje pluvial en la zona.
- La guarnición debe tener color de contraste con respecto al arroyo vehicular.
- El paso debe estar alineado con las rampas opuestas del cruce peatonal.
- Los camellones, islas o agujas deben estar libres de elementos que obstaculicen la visibilidad hacia el sentido de la circulación vehicular.
- Dependiendo del ancho del camellón, isla o aguja y de la presencia de estaciones de transporte público o cualquier otro tipo de equipamiento, éste paso puede presentar variantes, pero debe conservar las especificaciones generales.
| NORMA | (MTA.- Manual de Normas Técnicas de Accesibilidad, 2016) | E-13 |
| (NMX-R-050-SCFI-2006.- Accesibilidad de las Personas con Discapacidad a Espacios Construidos de Servicio al Público - Especificaciones de Seguridad., 2006) | 6.3.2 |
| (NTCPA.- Norma Técnica Complementaria para el Proyecto Arquitectónico del RCDF., 2011) | 2.3.5 |
2.6.- CAJÓN DE ESTACIONAMIENTO EXCLUSIVO PARA PERSONAS CON DISCAPACIDAD
En el área de estacionamiento, se deberán cumplir las siguientes condiciones mínimas:
- Existirá cuando menos un cajón debidamente señalizado, en las condiciones necesarias para el fácil desplazamiento de vehículos que transporten personas con discapacidad. Estos cajones se situarán en lugares próximos al acceso o accesos al edificio, instalaciones o áreas de servicios que dichas personas pretendan utilizar.
- Los cajones asignados conforme a lo dispuesto en la fracción anterior serán para el uso exclusivo de personas con discapacidad.
- Las características físicas de los cajones exclusivos a que se refiere este lineamiento se ajustarán a lo dispuesto en este documento.
44 ALZADO CAJÓN DE ESTACIONAMIENTO
45 PLANTA PARA CAJÓN DE ESTACIONAMIENTO
| | Especificaciones |
| 1 | Área de transferencia, para ascenso o descenso de la persona con discapacidad, de un ancho mínimo de 0.90 m y de una materia uniforme, así como antiderrapante |
| 2 | Pavimento exterior |
| 3 | Placa metálica o cambio de pavimento |
| 4 | Jardinera o tope |
| 5 | Pared u obstáculo |
| 6 | Rampa con pendiente del 6 % de acabado antiderrapante |
| 7 | Delimitación de cajón de estacionamiento: 1.80 - 2.40 x 5.00 m Cajón: 3.80 x 5.00 m pintura epóxica para exteriores color amarillo tránsito |
| 8 | Señalamiento del símbolo internacional de accesibilidad para las personas con discapacidad. Se colocará uno por cada 25 cajones o mínimo uno, si son menos de 25 cajones |
| 9 | Señalamiento en piso del símbolo internacional de accesibilidad a personas con discapacidad. Símbolo con pintura epóxica para exteriores color amarillo tránsito |
| 10 | Borde de rampa con altura 5 cm. y barandales en un lado a una altura de 0.75 y 0.98 m |
| 11 | Cambio de textura o pavimento |
| 12 | Lámina de acero galvanizado cal 18 con pintura de esmalte color gris perla (cara posterior) fija al poste con tornillos de 0.064 m tuercas y rondanas planas de acero galvanizado, la cara anterior se recubrirá con impresión serigrafía |
| 13 | Tipografía Arial de 0.06 m de alto, acabado con pintura fluorescente color blanco |
| 14 | Recuadro en color azul pantone Process Blue C |
| 15 | Símbolo internacional con acabado en pintura fluorescente, color blanco sobre fondo azul pantone 294 |
| 16 | Guía táctil, franja de textura rugosa de 0.30 m de ancho |
| 17 | Poste ptr. de acero de 0.051 x 0.051 m con pintura de esmalte color gris perla |
| 18 | Topes para detener las llantas de los automóviles. Se utilizará uno centrado en cada cajón de estacionamiento para uso de personas con discapacidad. *Color código internacional pantone amarillo 0120 y cara posterior en color gris perla |
46 ESPECIFICACIONES PARA CAJÓN DE ESTACIONAMIENTO
47 PLANTA DE BAHÍA DE ASCENSO Y DESCENSO
| | Especificaciones |
| 1 | Camellón a nivel de arroyo vehicular |
| 2 | Rampa |
| 3 | Rampa |
| 4 | Ruta táctil de color contrastante que indica direccionamiento-avance, a base de placas de 0.30 x 0.30 m |
| 5 | Símbolo Internacional de Accesibilidad |
| 6 | Interior del inmueble |
| 7 | Puerta de acceso que se abre con un mínimo de fuerza |
| 8 | Circulación horizontal |
| 9 | Rampa vehicular |
48 TABLA DE ESPECIFICACIONES PARA BAHÍAS
| NORMA | (MTA.- Manual de Normas Técnicas de Accesibilidad, 2016) | E-16 | E-17 |
| (ISO 21542:2011.- Building Construction-Accessibility and Usability of the Built Environment., 2011) | 6.1 | 6.4 |
| (NTCPA.- Norma Técnica Complementaria para el Proyecto Arquitectónico del RCDF., 2011) | 1.2.1 |
TÍTULO 3
3.- CONDICIONES INTERIORES DE LOS EDIFICIOS
3.1.- CIRCULACIONES HORIZONTALES
Se proporcionará la accesibilidad a los espacios, siempre y cuando se brinde un servicio al público en general. Para que un servicio sea accesible, se requiere que su ruta hacia el servicio y el área de servicio cumplan con las condiciones de accesibilidad. En caso de que la ruta hacia el servicio no se pueda adecuar por las condiciones físicas de un inmueble, se puede trazar una ruta alterna y valorar los "ajustes razonables" necesarios para brindar el servicio con condiciones de igualdad. La dotación de los servicios deberá contar con mínimo uno accesible a personas con discapacidad, por ejemplo, en el mobiliario sanitario, un inodoro o lavabo accesible.
En las circulaciones horizontales, se deberá cumplir las siguientes condiciones mínimas:
- Las circulaciones horizontales dispondrán de la superficie suficiente para su uso por personas con discapacidad, de acuerdo con las especificaciones técnicas y parámetros de este documento y demás instrumentos normativos vigentes en la materia.
- No existirán planos de sustentación horizontales con superficie menor a la que permita el desplazamiento estable y seguro de personas con discapacidad.
- La tolerancia de pendiente en los sentidos longitudinal y transversal referidos a la dirección principal de uso, será la fijada en este documento.
- Las superficies del piso serán uniformes, antiderrapante, continuas y planas. Los cambios de nivel y las discontinuidades máximas serán las establecidas en este documento. Los cruces y cambios de dirección cumplirán las condiciones establecidas en este documento.
- Carecerán de barreras físicas fijas o móviles, salvo las que se establezcan en cumplimiento.
- Dispondrán de las protecciones necesarias y de los apoyos tecnológicos precisos en función de las condiciones de su perímetro y de la pendiente, en su caso.
3.1.1.- ACCESOS
Los accesos deberán estar señalizados (ver apartado de "SISTEMAS DE ORIENTACIÓN"), tener un claro libre mínimo de 1.20 m, contar con área de aproximación libre de obstáculos de al menos 1.50 m y con cambios de textura en piso (ver apartado de "PISOS").
No debe haber pendientes y cambios bruscos en el umbral de puertas de los accesos, por lo menos, en una distancia de 1.20 m hacia el interior y el exterior de la puerta.
Los pisos en el exterior de los accesos tendrán pendientes hidráulicas máximo del 2%, las cuales se recomienda que no existan a pie de la puerta. Se debe evitar escalones y sardineles.
Los accesos deberán cumplir con las recomendaciones del apartado de "PISOS".
Puertas
Todas las puertas de interiores ser de fácil operación. Los marcos deberán evitar tener aristas vivas y ser de color contrastante con las paredes.
49 PLANTA E ISOMÉTRICO DE PUERTAS
| No. | Concepto | Descripción |
| 1 | Área de aproximación | Espacio horizontal a ambos lados de la puerta. Cuando el usuario tenga que empujarla su longitud será de mínimo 1.20 m, con un mínimo de 0.30 m adicionales del lado de la manija. Cuando se requiera que el usuario jale la puerta, su longitud será de 1.50 m con un mínimo de 0.60 m adicionales del lado de la manija |
| 2 | Ancho | Todas las puertas de interiores deberán tener un claro libre mínimo de 0.80 m libres, recomendable de 0.90 m En los accesos principales, debe haber puertas con un ancho mínimo de 1.20 m, cuyo abatimiento debe ser hacia afuera |
| 3 | Altura | Todas las puertas de interiores deberán tener una altura mínima de 2.10 m |
| 4 | Manija | las manijas serán de tipo palanca, de color contrastante, a una altura de 0.90 m, y una longitud mínima de 8 cm |
| 5 | Puerta automática | Se recomienda que se coloquen puertas automáticas de accionamiento por sensor de presencia en los accesos principales de los edificios Cuando se utilicen mecanismos de cierre automático se deben ajustar para mantener la puerta completamente abierta mínimo 5 segundos |
| 6 | Operable: Fuerza | Máximo 25 Newtons mayor a 25 Newtons utilizar mecanismos cierrapuertas |
| 7 | Materiales | En caso de que la puerta sea de vidrio o cristalería se debe colocar con color de contraste tiras o imagen visual de contraste a 0.90 m y 1.30 m para detectar la puerta |
50 TABLA DE ESPECIFICACIONES PARA PUERTAS
| NORMA | (NTCPA.- Norma Técnica Complementaria para el Proyecto Arquitectónico del RCDF., 2011) | 4.1.1 |
| (ISO 21542:2011.- Building Construction-Accessibility and Usability of the Built Environment., 2011) | 18-1.11 |18.1.12 | 18.1.4 |36.4 |
3.1.2.- VESTÍBULOS
Los vestíbulos deberán tener las dimensiones y las distribuciones mínimas para la circulación y maniobra de las personas en sillas de ruedas. El abatimiento de puertas no deberá interferir en los espacios de circulación y maniobra de los mismos.
Los espacios de vestibulación deberán cumplir con las recomendaciones indicadas en el apartado de "PISOS" y "PUERTAS" de este documento.
51 VESTÍBULOS EN PLANTA Y ALZADO
| No. | Concepto | Descripción |
| 1 | Espacio entre puertas | El espacio mínimo entre puertas debe ser de 1.20 m. |
| 2 | Espacio entre pasillos | El espacio mínimo entre pasillos debe ser de 1.50 m. |
| 3 | Área de aproximación | Espacio horizontal a ambos lados de la puerta. Cuando el usuario tenga que empujarla su longitud será de mínimo 1.20 m, con un mínimo de 0.30 m adicionales del lado de la manija. Cuando se requiera que el usuario jale la puerta, su longitud será de 1.50 m con un mínimo de 0.60 m adicionales del lado de la manija. |
52 ESPECIFICACIONES DE VESTÍBULOS
| NORMA | (NTCPA.- Norma Técnica Complementaria para el Proyecto Arquitectónico del RCDF., 2011) | 4.1.1 |
3.1.3.- PASILLOS
Los pasillos deberán tener las dimensiones y las distribuciones mínimas para la circulación y maniobra de las personas en sillas de ruedas. El abatimiento de puertas no deberá interferir en los espacios de circulación y maniobra de los mismos.
53 PASILLOS EN PLANTA
| No. | Concepto | Descripción |
| 1 | Ancho | Las circulaciones deberán tener un ancho mínimo de 1.20m, libres de cualquier obstáculo u objeto que sobresalga o invada el pasillo. |
| 2 | Altura | Deben tener una altura mínima de 2.10 m libres. |
| 3 | Pavimento | El pavimento debe ser antiderrapante y no debe reflejar intensamente la luz. |
54 ESPECIFICACIONES PARA PASILLOS
| NORMA | (Criterios de Proyecto de Arquitectura para la Accesibilidad de las Personas con Discapacidad, 2016) | 2.1.3.2 |
3.2.- CIRCULACIONES VERTICALES
Las circulaciones verticales deberán ser útiles para todo tipo de personas, por lo que su configuración, superficies, sistemas mecánicos de apertura y cierre, accesos a mecanismos y sistemas de seguridad, materiales, auxilios y medios de protección, cumplirán las condiciones que para ellos se especifican en este documento.
3.2.1.- ESCALERAS
Podrán establecerse en las circulaciones verticales rutas alternativas en las mismas condiciones establecidas en el documento. En todo caso, se ordenará su operación de modo que permita la circulación del mayor número posible de personas con discapacidad, y para ello se deberán cumplir las condiciones específicas de este documento.
55 ESCALERAS EN PLANTA Y ALZADO
| No. | Concepto | Descripción |
| 5 | Huella de escalón | Debe ser mayor o igual a 0.30 m |
| 3 | Peralte de escalón | Debe ser mínimo de 0.14 m y máximo de 0.18 m Debe ser de color contrastante |
| 1 | Barandal | Debe tener 40 mm de diámetro con indicaciones del número de piso en alto relieve y sistemas Braille, ubicados debajo del mismo, con terminación redondeada y debe ser continuo en escalones y descansos |
| 4 | Señal de Protección Civil | Debe estar ubicado en un punto visible, con las características especificadas en este documento (ver apartado "SISTEMAS DE ORIENTACIÓN") |
| 8 | Altura límite de intersección para el paso peatonal | Debe ser mínimo de 2.03 m |
| 9 | Elemento de protección | Barda, barandal, maceta o algún elemento de protección o aviso para evitar cruce peatonal debajo de las escaleras |
| 7 | Tira antiderrapante | Debe ser de color contrastante o concreto acabado martelinado |
56 TABLA DE ESPECIFICACIONES DE ESCALERAS
| La escalera no forma parte de la Ruta Accesible |
| NORMA | (ISO 21542:2011.- Building Construction-Accessibility and Usability of the Built Environment., 2011) | 7.8 | 13.1 |13.5 |
| (NMX-R-050-SCFI-2006.- Accesibilidad de las Personas con Discapacidad a Espacios Construidos de Servicio al Público - Especificaciones de Seguridad., 2006) | 6.4.1. a |
3.2.2.- RAMPAS
Desniveles hasta de 0.30 m y pendiente menor o igual al 4% pueden ser salvados con rampas sin pasamanos. Los demás casos deben cumplir con las características de rampa. No se recomiendan las rampas en espiral o en curva.
57 PLANTA Y ALZADO DE RAMPA
| No es necesaria la colocación de franjas de advertencia podotáctiles al inicio y término de rampas en interiores. |
| No. | Concepto | Descripción |
| 1 | Barandal | Las rampas deberán tener pasamanos a 0.75 y 0.90 m. de altura, volados 0.30 m en los extremos, a menos que el desnivel sea de 0.30 m y pendiente menor de 4% |
| 2 | Pendiente | La pendiente de las rampas será máxima del 8%, recomendable del 6%, procurando lograr el porcentaje menor posible |
| 3 | Tira antiderrapante | Debe ser de color contrastante o concreto acabado martelinado |
| 5 | Señal Internacional de Accesibilidad | Debe estar ubicado en un punto visible, con las características especificadas en este documento (ver apartado "SISTEMAS DE ORIENTACIÓN") |
| 7 | Guía Podo-Táctil | Colocada a una distancia de 0.30 m al inicio y al final de la rampa. |
| S/N | Descansos | La longitud máxima de las rampas entre descansos será de 6.00 m, y los descansos tendrán una longitud mínima igual al ancho de la rampa y nunca menor a 1.20 m |
| S/N | Protección lateral | Se deberá colocar una protección lateral de color contrastante de mínimo 0.15 m de altura en los lados abiertos (tubo, guarnición, sardinel, etc.) |
| S/N | Circulaciones bajo rampas | Deberá existir una barrera a partir de la proyección del límite de 2.10 m de altura bajo la rampa |
58 TABLA DE ESPECIFICACIONES PARA RAMPAS
3.2.3.- ELEVADORES
Los elevadores deberán estar señalizados debidamente (ver "Título IV. SISTEMAS DE ORIENTACIÓN"). Las dimensiones y configuración de la cabina dependerán de las necesidades de cada tipo de edificio.
59 ELEVADOR EN ALZADO Y PLANTA
| No. | Concepto | Descripción |
| 1 | Botones de accionamiento | Los botones de llamado y tablero de control deben estar colocados a una altura entre 0.80 y 1.10 m |
| 2 | Área de aproximación | Es el espacio horizontal frente a la puerta que debe abarcar el ancho de la puerta, de mínimo 1.50 m de diámetro. Estará libre de obstáculos a una altura de mínimo 2.10 m |
| 3 | Dimensiones | Las dimensiones y configuración de la cabina dependerán de las necesidades de cada tipo de edificio. Mínimo 1.10 m de ancho por 1.40 m de fondo. Para cabinas con dos puertas mínimo 1.60 m por 1.40 m |
| 4 | Puertas | El mecanismo a implementar debe estar adecuado para personas con discapacidad motriz, por ejemplo, puertas deslizables o abatibles, con un ancho mínimo de 0.90 m |
| 5 | Superficie de piso entre exterior y cabina | La distancia máxima (espacio) en plano horizontal entre el exterior y la cabina debe ser de 3.5 cm y mantener la nivelación +/- 2 cm (plano vertical) |
| 6 | Piso de la cabina | Debe ser antiderrapante y los acabados deberán ser resistentes al fuego, sin tener aristas vivas |
| 7 | Tiempo de apertura de puerta | El tiempo de apertura para las puertas será de 2 a 20 segundos, dependiendo el uso del elevador |
| 8 | Sensor de presencia | Debe cubrir una altura de entre 25 mm y 1.80 m |
| 9 | Señal audible | Se debe contar con una señal audible o sonora que indique el nivel del piso |
60 TABLA DE ESPECIFICACIONES EN ELEVADORES
| NORMA | (ISO 21542:2011.- Building Construction-Accessibility and Usability of the Built Environment., 2011) | 15.3 | 36.2 | 15.2 | 15.4.8 |
| (NTCPA.- Norma Técnica Complementaria para el Proyecto Arquitectónico del RCDF., 2011) | 4.1.5.1. |
3.2.4.- PLATAFORMAS / SALVAESCALERAS
En edificios de uso público que por su altura no es obligatoria la instalación de elevadores para pasajeros, se debe prever la posibilidad de instalar una plataforma preferente para personas usuarias de silla de ruedas para comunicar los niveles, en cualquiera de las siguientes categorías:
| NORMA | (NTCPA.- Norma Técnica Complementaria para el Proyecto Arquitectónico del RCDF., 2011) | 4.1.5.1 III |
3.3.- ÁREAS DE SERVICIOS
3.3.1.- MÓDULOS DE ATENCIÓN AL PÚBLICO
Los módulos de atención al público deberán contar con un área adecuada para su uso por personas en silla de ruedas, sin la obstrucción de faldones bajos, con remetimiento para sillas de ruedas, o en su defecto, considerar una posible extensión o adaptación del mobiliario existente.
63 PLANTA Y ALZADO DE MÓDULO DE ATENCIÓN AL PÚBLICO
| No. | Concepto | Descripción |
| 1 | Área de aproximación | Mínimo 1.50 m de diámetro del lado del visitante |
| S/N | Altura de mostrador | Los mostradores deben contar con dos alturas libres diferentes, para personas de pie y en silla de ruedas, siendo entre 0.95 m y 1.10 m para personas de pie y 0.70 m de altura libre y 0.80 a la cubierta superior para usuarios en silla de ruedas |
| S/N | Profundidad de mostrador | Los mostradores deben tener un espacio libre inferior de 0.40 m de profundidad |
| S/N | Directorios | Se deben de considerarse con las especificaciones de señales tacto-visuales |
| S/N | Señalización | Deberán tener el símbolo internacional de accesibilidad colocado en un punto visible |
64 TABLA DE ESPECIFICACIONES PARA MÓDULO DE ATENCIÓN
| NORMA | (NTCPA.- Norma Técnica Complementaria para el Proyecto Arquitectónico del RCDF., 2011) | 2.1 II |
| (ISO 21542:2011.- Building Construction-Accessibility and Usability of the Built Environment., 2011) | 19.3 |-19.4 |
3.3.2. SALAS DE ESPERA
Debe estar conformada por asientos y espacio para personas en silla de ruedas, sea para espera o descanso.
65 PLANTA DE SALA DE ESPERA
| No. | Concepto | Descripción |
| 1 | Ruta táctil | Guía podo-táctil direccionada al primer punto de contacto |
| 2 | Área designada | Área designada a personas con muletas |
| 3 | Señalización | Lámpara que indica la salida de emergencia |
| 4 | Área designada | Área designada a personas con discapacidad visual |
| 7 | Área designada | Área designada a personas con silla de ruedas |
| 9 | Atención | Módulo de atención al público |
66 TABLA DE ESPECIFICACIONES PARA SALAS DE ESPERA
| NORMA | (ISO 21542:2011.- Building Construction-Accessibility and Usability of the Built Environment., 2011) | 37.1 | 30 | 23.1 |
| (CQRO, Catálogo de Recomendaciones de Accesibilidad para Personas con Discapacidad, 2014) | ESM 01 |
| (MTA.- Manual de Normas Técnicas de Accesibilidad, 2016) | AS 02 |
3.3.3. ÁREAS DE TRABAJO (OFICINAS, SALAS DE REUNIÓN, COMEDORES)
Elementos tales como mesas, sillas, escritorios, libreros, anaqueles, etc. serán considerados mobiliario, así como los elementos con área de accionamiento, como teléfonos, computadoras, fotocopiadoras, etc., los cuales no deben interferir en la circulación mínima requerida (ver apartado 3.1.3 "PASILLOS" en este documento).
Oficinas
67 PLANTA Y ALZADO DE ÁREAS DE TRABAJO
| No. | Concepto | Descripción |
| 1 | Archivo | Señalización de archivo con letras grandes y contrastantes |
| 2 | Silla | Silla giratoria con pistón neumático |
| 3 | Cajones | Sistema de auto cierre con topes de parada y riel con carretilla. Con jaladoras en forma de D con una longitud de mínimo 10 cm, una separación libre de 3.5 cm y un diámetro de 2.5 cm |
68 ESPECIFICACIONES PARA ÁREAS DE TRABAJO
| NORMA | (ISO 21542:2011.- Building Construction-Accessibility and Usability of the Built Environment., 2011) (MTA.- Manual de Normas Técnicas de Accesibilidad, 2016) | 23.1 | 37.3 | 37.2 AS 05 |
Salas de reunión
Debe encontrarse ubicada adyacente a los servicios, por ejemplo, áreas de recepción, fuera de la circulación peatonal pero identificable.
| NORMA | (CQRO, Catálogo de Recomendaciones de Accesibilidad para Personas con Discapacidad, 2014) (ISO 21542:2011.- Building Construction-Accessibility and Usability of the Built Environment., 2011) | ESA 02 22 | 23.1 |
Comedores
En los comedores se deberá cumplir con las recomendaciones que aparecen en el apartado de 2.3 "Pisos" del presente documento.
71 PLANTA Y ALZADO DE COMEDORES
| No. | Concepto | Descripción |
| S/N | Circulaciones | El acomodo de las mesas deberá permitir espacios de circulación mínimos de 0.90 m, para personas con discapacidad, y áreas de aproximación suficientes |
| S/N | Mesa | La mesa deberá tener: a) Espacio libre inferior de la mesa, mínimo 0.90 de ancho por 0.60 m de profundidad a una altura menor de 0.30 y mínimo 0.20 m de profundidad a una altura mayor a 0.30 m b) Altura a cubierta inferior: mínimo 0.70 m c) Altura a cubierta superior: entre 0.74 y 0.80 m |
| S/N | Asientos removibles | Los espacios accesibles para personas con silla de ruedas podrán ser ocupados por asientos removibles en caso de no requerirse |
| S/N | Barras de bebida | Altura máxima de 0.80 m y contar con área de aproximación para personas en silla de ruedas |
72 TABLA DE ESPECIFICACIONES PARA COMEDORES
| NORMA | (CQRO, Catálogo de Recomendaciones de Accesibilidad para Personas con Discapacidad, 2014) (ISO 21542:2011.- Building Construction-Accessibility and Usability of the Built Environment., 2011) | ESA 05 24 | 19.4 | 37.3 |
3.3.4. AUDITORIOS
Todos los auditorios y espacios que cuenten con áreas para el espectador deberán cumplir con las especificaciones de la ruta accesible. En todos los auditorios, deberán existir lugares sin butaca fija para su posible ocupación por personas en silla de ruedas.
Los lugares para personas en silla de ruedas se localizarán de dos en dos, pero sin aislarse de las butacas generales para permitir acompañantes, próximos a los accesos y salidas de emergencia.
73 PLANTA DE AUDITORIOS
75 DISEÑO DE BUTACAS Y ÁREA TRASERA PARA SILLA DE RUEDAS
| No. | Descripción |
| 1 | Butacas |
| 2 | Delimitar con franja amarilla o con cambio de piso terminado |
| 3 | Tope metálico para silla de ruedas |
| 4 | Pasillo de circulación |
| 5 | Señalamiento en respaldo para personas con discapacidad auditiva |
| 6 | Simbología pintada en el piso terminado de 40 x 40 cm |
| 7 | Sistema de sonido graduable y audífonos |
| 8 | Zona para personas con muletas |
| 9 | Zona para personas con discapacidad auditiva |
| 10 | Línea visual estándar |
| 11 | Señalamiento en el respaldo para personas con discapacidad auditiva o personas con muletas |
| 12 | Zona para personas con discapacidad auditiva y/o en muletas |
| 13 | Rampa con pendiente del 6 al 8% |
76 TABLA ESPECIFICACIONES PARA ÁREAS DE BUTACAS
77 DISEÑO DE BUTACAS Y ÁREAS TRASERA PARA SILLA DE RUEDAS
| No. | Descripción |
| 1 | Área para personas en silla de ruedas |
| 2 | Butacas |
| 3 | Delimitar con franja amarilla o con cambio de acabado |
| 4 | Rampa con pendiente del 6 al 8% |
| 5 | Señalamiento en respaldo para personas con discapacidad auditiva |
| 6 | Señalamiento en el respaldo para personas con discapacidad visual y personas con muletas |
| 7 | Simbología pintada en el pavimento de 0.40 m x 0.40 m |
| 8 | Sistema de sonido graduable y audífonos |
| 9 | Zona para personas con discapacidad visual o personas con muletas |
| 10 | Zona para personas con discapacidad auditiva |
| 11 | Altura de la vista, sentado |
| 12 | Distancia mínima de la pantalla a la primera fila de asientos de 1.20 m |
| 13 | Línea visual promedio |
| 14 | Pantalla o escenario |
78 DESCRIPCIÓN DE BUTACAS EN ÁREA TRASERA
3.3.5. SERVICIOS SANITARIOS
En todos los inmuebles deberán existir sanitarios adecuados para su uso por personas con discapacidad, localizados en lugares accesibles y deberán estar señalizados (ver Título IV "SISTEMAS DE ORIENTACIÓN" en el presente documento). Se deberá adaptar un mingitorio y un excusado por núcleo de sanitarios para personas con discapacidad.
Los pisos de los sanitarios deberán ser antiderrapantes y contar con pendientes del 2% hacia las coladeras, para evitar encharcamientos. Las rejillas de desagüe no deberán tener ranuras de más de 13 mm de separación.
79 SANITARIOS HOMBRES Y VARIABLES EN ADAPTACIÓN AL MOBILIARIO
| No. | Descripción |
| 1 | Ovalines sobre barra de dos niveles hecha en obra, fabricada en superficie sólida, a 80 y 50 cm de altura para personas de talla baja (al menos uno por sanitario) |
| 2 | Llave con sensor de presencia para activar el flujo de agua al retirarse la persona usuaria o estilo monomando |
| 3 | Espejo centrado sobre la cubierta para lavabos |
| 4 | Mingitorio con sensor de presencia para activar el flujo de agua al retirarse la persona usuaria |
| 5 | Gancho sobre la pared |
| 6 | Barra de seguridad para mingitorio de acero inoxidable, de acero cromado o de aluminio de 3.8 cm (1 ½") de diámetro, calibre 16 |
| 7 | Mingitorio de menor altura para personas de talla baja, con sensor de presencia para activar el flujo de agua al retirarse la persona usaría |
| 9 | Secador de manos con botón accionador y/o despachador de toallas de papel |
| 10 | Placa de señalización en alto relieve y Braille |
| 11 | Barra recta horizontal y vertical de apoyo de acero inoxidable, de acero cromado o de aluminio de 3.8 (1 ½") de diámetro, calibre 16 |
| 12 | Despachador de papel sanitario |
| 13 | Barra retráctil de acero inoxidable |
| 14 | Excusado con sensor de presencia de 38 cm de altura |
| 15 | Estructura de hierro forjado para bolsa de basura |
| 16 | Gancho o ménsula para colgar muletas y/bastón |
| S/N | Excusado con sensor de presencia de 43 cm de altura para personas con discapacidad motriz |
| 17 | Franja de azulejo color de contraste para distinción de mobiliario de personas con discapacidad visual leve |
| S/N | La separación máxima del excusado con respecto a la pared lateral no debe exceder más de 40-45 cm al eje central del mueble |
80 TABLA DE ESPECIFICACIONES PARA SANITARIOS HOMBRES
| NORMA | (ISO 21542:2011.- Building Construction-Accessibility and Usability of the Built Environment., 2011) | 21.3 | 21.5 |
81 SANITARIOS MUJERES
| No. | Descripción |
| 1 | Despachador de jabón líquido con sensor de presencia o manual, uno colocado a 1.00 m y otro colocado a 0.70 m |
| 2 | Ovalines sobre barra de dos niveles hecha en obra, fabricada en superficie sólida, a 80 y 50 cm de altura para personas de talla baja (al menos uno por sanitario) |
| 3 | Llave con sensor de presencia para activar el flujo de agua al retirarse la persona usuaria o estilo monomando |
| 4 | Despachador de papel sanitario |
| 5 | Estructura de hierro forjado para bolsa de basura |
| 6 | Gancho doble de pared |
| 7 | Barra recta horizontal y vertical de apoyo de acero inoxidable, de acero cromado o de aluminio de 3.8 (1 ½") de diámetro, calibre 16 |
| 8 | Excusado con sensor de presencia de 43 cm de altura para personas con discapacidad motriz |
| 9 | Barra retráctil de acero inoxidable |
| 10 | Gancho o ménsula para colgar muletas y/o bastón |
| 11 | Bote de campana para basura |
| 12 | Secador de manos con botón accionador y/o despachador de toallas de papel |
| 13 | Espejo centrado sobre la cubierta para lavabos |
82 TABLA DE ESPECIFICACIONES PARA SANITARIOS DE MUJERES
83 SANITARIO FAMILIAR
| No. | Descripción |
| 1 | Lavabo: Mínimo a 0.45 m entre su eje y el paramento lateral Área de aproximación: mínimo 0.90 por 1.40 m incluyendo el espacio libre inferior del lavabo Espacio libre inferior a partir del borde frontal del lavabo mayor a 0.70 m de altura, con una profundidad de mínimo 0.20 m. Espacio libre inferior para pies de mínimo 0.30 m de altura Altura a cubierta superior entre 0.80 y 0.85 m Profundidad del lavabo entre 0.35 y 0.60 m. del paramento Materiales: tipo palanca o sensor a máximo 0.30 m. de profundidad desde el borde frontal del lavabo al dispositivo de accionamiento Salida del agua a máximo 0.20 m de profundidad desde el borde frontal del lavabo a la salida del agua(28) |
| 2 | Accesorios (jabonera, secador de manos, basurero, etc.) a una altura entre 0.80 y 1.10 m máximo a 0.30 m de profundidad del borde frontal del lavabo al dispositivo de accionamiento o área de uso |
| 3 | Espejo centrado sobre la cubierta para lavabos y que cubra una altura entre 0.90 y 1.90 m |
| 4 | Mingitorio(29) |
| 5 | Gancho sobre la pared |
| 6 | Barra de apoyo para el mingitorio |
| 7 | Secador de manos con botón accionador y/o despachador de toallas de papel |
| 8 | Gancho o ménsula para colgar muletas y/o bastón |
| 9 | Despachador de papel sanitario |
| 10 | Barra retráctil de acero inoxidable |
| 11 | Excusado con sensor de presencia de 38 cm. de altura |
| 12 | Gancho o ménsula para colgar muletas y/o bastón |
| 13 | Excusado con sensor de presencia de 43 cm. de altura para personas con discapacidad motriz |
84 TABLA DE ESPECIFICACIONES SANITARIO FAMILIAR
85 MEDIDAS PARA LAVABOS
| No. | Descripción |
| 1 | Gancho o ménsula para colgar muletas y/o bastón |
| 2 | Llave con sensor de presencia |
| 3 | Franja de azulejo en color de contraste |
| 4 | Despachador de jabón líquido con sensor de presencia o manual, colocado a 1.00 m |
| 5 | Lavabo con empotre de fijación o ménsula de sostén para soportar el esfuerzo generado por la persona usuaria |
| 6 | Llave de monomando |
| 7 | Llave con sensor de presencia |
| 8 | Espacio de circulación límite sin obstáculos |
| 9 | Espejo de pared |
86 TABLA DE ESPECIFICACIONES PARA LAVABOS
87 MEDIDAS PARA MINGITORIOS
| No. | Descripción |
| 1 | Gancho o ménsula para colgar muletas y/o bastón |
| 3 | Mingitorio con sensor de presencia |
| 4 | Mingitorio de menor altura para personas de talla baja con sensor de presencia |
| 5 | Mampara de separación |
88 ESPECIFICACIONES PARA MEDIDAS DE MINGITORIOS
89 SECUENCIAS DE USO
| No. | Descripción |
| 1 | Despachador de papel sanitario |
| 2 | Barra recta horizontal y vertical de apoyo de acero inoxidable, de acero cromado o de aluminio de 3.8 cm (1 ½") de diámetro, calibre 16 |
| 3 | Excusado con sensor de presencia |
| 4 | Gancho o ménsula para colgar muletas y/o bastón |
| 5 | Barra retráctil de acero inoxidable |
| 6 | Franja de azulejo en color de contraste |
90 DESCRIPCIÓN DE ESPECIFICACIONES EN SECUENCIAS DE USO
91 COMPARTIMIENTO FAMILIAR
| No. | Descripción |
| 1 | Secador de manos con botón accionador |
| 2 | Placa metálica de señalización en alto relieve y Braille. |
| 3 | Espejo centrado sobre la cubierta para lavabo |
| 4 | Llave con sensor de presencia o estilo monomando |
| 5 | Lavabo: Mínimo a 0.45 m entre su eje y el paramento lateral Área de aproximación: mínimo 0.90 por 1.40 m incluyendo el espacio libre inferior del lavabo Espacio libre inferior a partir del borde frontal del lavabo mayor a 0.70 m de altura, con una profundidad de mínimo 0.20 m. Espacio libre inferior para pies de mínimo 0.30 m de altura Altura a cubierta superior entre 0.80 y 0.85m Profundidad del lavabo entre 0.35 y 0.60 m del paramento Manerales: tipo palanca o sensor a máximo 0.30m de profundidad desde el borde frontal del lavabo al dispositivo de accionamiento Salida del agua a máximo 0.20 de profundidad desde el borde frontal del lavabo a la salida del agua |
| 6 | Gancho o ménsula para colgar muletas y/o bastón |
| 7 | Despachador de jabón líquido con sensor de presencia o manual, colocado a una altura de 1m |
| 8 | Barra de seguridad para mingitorio de acero inoxidable, de acero cromado o de aluminio de 3.8 cm (1 ½") de diámetro, calibre 16 |
| 9 | Mingitorio de menor altura para personas de talla baja con sensor de presencia |
| 10 | Despachador de papel sanitario |
| 11 | Barra recta horizontal y vertical de apoyo de acero inoxidable, de acero cromado o de aluminio de 3.8 cm (1 ½") de diámetro, calibre 16 |
| 12 | Barra retráctil de acero inoxidable |
| 13 | Excusado con sensor de presencia |
| 14 | Estructura de hierro forjado para bolsa de basura |
| 15 | Gancho doble de pare |
| 16 | Asiento de seguridad para niñas y niños contra muro a una altura de 0.40 m |
| 17 | Cambiador de pañal contra muro a una altura de 0.40 m |
| 18 | Franja de azulejo en color de contraste |
| 19 | Bote de campana para basura |
92 TABLA DE ESPECIFICACIONES DEL COMPARTIMIENTO FAMILIAR
| NORMA | (ISO 21542:2011.- Building Construction-Accessibility and Usability of the Built Environment., 2011) (NMX-R-050-SCFI-2006.- Accesibilidad de las Personas con Discapacidad a Espacios Construidos de Servicio al Público - Especificaciones de Seguridad., 2006) (MTA.- Manual de Normas Técnicas de Accesibilidad, 2016) | 26.7 | 23.1 | 26.9 | 26.12 6.5.2.2.2. | 6.5.2.3.2. | 6.5.2.9. | 6.5.2.10. | AC 02 |
93 COMPARTIMIENTO DE MUJERES
| No. | Descripción |
| 1 | Despachador de papel sanitario |
| 2 | Barra recta horizontal y vertical de apoyo de acero inoxidable, de acero cromado o de aluminio de 3.8 cm (1 ½") de diámetro, calibre 16 |
| 3 | Excusado con sensor de presencia para activar el flujo de agua al retirarse la persona usuaria |
| 4 | Gancho o ménsula para colgar muletas y/o bastón |
| 5 | Barra retráctil de acero inoxidable |
| 6 | Franja de azulejo en color de contraste |
| 7 | Estructura de hierro forjado para bolsa de basura |
| 8 | Gancho doble de pared |
| 9 | Mampara |
94 TABLA DE DESCRIPCIÓN DE COMPARTIMIENTO DE MUJERES
| NORMA | (ISO 21542:2011.- Building Construction-Accessibility and Usability of the Built Environment., 2011) (NMX-R-050-SCFI-2006.- Accesibilidad de las Personas con Discapacidad a Espacios Construidos de Servicio al Público - Especificaciones de Seguridad., 2006) (MTA.- Manual de Normas Técnicas de Accesibilidad, 2016) | 26.7 | 23.1 | 26.9 | 26.12 6.5.2.2.2. | 6.5.2.3.2. | 6.5.2.9. | 6.5.2.10. | AC 02 |
3.3.6. ÁREAS DE ACCIONAMIENTO
Bebederos
Se deberán considerar bebederos de dos alturas diferentes, para adulto y para niños, ya que sus alturas mínimas y máximas varían según sea el caso.
95 MEDIDAS PARA BEBEDEROS Y EXPENDEDORES
| No. | Concepto | Descripción |
| S/N | Área de maniobra | La superficie del piso adyacente al bebedero debe permitir maniobrar 360° en silla de ruedas. Su diámetro será de mínimo 1.50 m |
| S/N | Área de aproximación | Se define a partir del espacio libre inferior del bebedero, las medidas mínimas son de 0.90 m de ancho por 1.40 m de fondo |
| S/N | Salida de agua potable | Altura de 0.85 m para uso por personas en silla de ruedas y 1.05 m para personas de pie |
| S/N | Operable | Se deben colocar llaves de tipo palanca o botón de accionamiento del lado de la salida de agua, a máximo 0.18 m de profundidad del borde frontal |
96 ESPECIFICACIONES DE BEBEDEROS Y EXPENDEDORES
Máquinas Interactivas
Interfaz de usuario por medio de un equipo con un sistema interactivo que funciona como expendedor, recolector o de información de productos o servicios, por ejemplo, máquina expendedora de alimentos, cajero automático o expendedor de turnos, permitiendo su uso a personas de pie o en silla de ruedas, se debe contar con elemento sonoro (lector de pantalla para uso de personas con discapacidad visual).
97 DETALLE DE MÁQUINA INTERACTIVA
| No. | Concepto | Descripción |
| S/N | Área de maniobra | La superficie del piso adyacente a la máquina interactiva debe permitir maniobrar 360° en silla de ruedas. Su diámetro será de mínimo 1.50 m |
| S/N | Área de aproximación | Se define a partir del espacio libre inferior de la máquina interactiva, las medidas mínimas son de 0.90 m de ancho por 1.40 m de fondo |
| S/N | Operación | Intuitiva y legible |
| S/N | Teclado | Altura entre 0.80 y 1.10 m |
| S/N | Ranuras | Las ranuras para tarjetas o billetes deben ubicarse a una altura de entre 0.80 y 0.90 m. Tendrán bordes biselados y color contrastante |
98 DESCRIPCIÓN PARA DETALLE DE MÁQUINA INTERACTIVA
| NORMA | (ISO 21542:2011.- Building Construction-Accessibility and Usability of the Built Environment., 2011) (MTA.- Manual de Normas Técnicas de Accesibilidad, 2016) | B.6.1 | 23.1 AS 04 |
TÍTULO 4
4.- SISTEMAS DE ORIENTACIÓN
Con el objetivo de contribuir a la mejora de las condiciones de seguridad en los inmuebles federales que administra el INDAABIN, en materia de prevención de riesgos, debe implementarse un sistema de señalización, orientación y protección civil, en beneficio de las personas con discapacidad y la población en general que concurre o labora en ellos.
Cualquier señalización dentro de los inmuebles federales debe ser susceptible de percibirse, al menos, por dos de los siguientes sentidos, oído, vista o tacto, ya sea directamente o por medio de elementos tecnológicos de carácter general o generalizable. Los materiales utilizados para los sistemas de señalización deberán ser resistentes y con colores contrastantes, siguiendo lo establecido en la NOM-003-SEGOB-2011. Se evitará la utilización de señales no necesarias para lograr la mayor efectividad del resto. Las señales que orienten o alerten a la población de los inmuebles deberán ser las adecuadas para lograr la oportuna y clara información de algún evento o indicación.
Para cumplir los objetivos de los sistemas, se deberá contar con señales, visuales, audibles y táctiles, mismas que deberán considerar de manera general los siguientes lineamientos.
| No. | Concepto | Requerimientos |
| 1 | Condición | La señalización en una edificación o en espacio federal, debe ser constante en su ubicación, formato y altura Evitar el exceso de señales y contaminación visual |
| 2 | Información y sistemas de orientación: Formas | La información y el sistema de orientación se colocará a través de mínimo dos sentidos: Información visual para personas con discapacidad auditiva Información audible y/o táctil para personas con discapacidad visual |
| 3 | Claridad | Las señales deben ser legibles, de diseño simple y fácil de interpretar con el uso de símbolos. El texto redactado con lenguaje sencillo, palabras simples y evitar abreviaciones |
| 4 | Tipos | Orientación (por ejemplo, mapa de ubicación y directorio) Dirección (por ejemplo, rutas incluyendo los cambios de dirección) Señal funcional (por ejemplo, uso del elevador) Señal informativa (por ejemplo, horarios de taquilla o señal de acceso al servicio) |
| 5 | Ubicación | La señalización debe colocarse en áreas donde cumplan su función |
| 6 | Símbolos | Se recomienda el uso de símbolos internacionales, los cuales pueden complementarse con texto |
| 7 | Texto | Evitar colocar texto en formato vertical |
| 8 | Señal de piso de edificio | Señalización para indicar el piso del edificio con números grandes, particularmente en escaleras y elevadores |
| 9 | Iluminación | Buena iluminación natural o artificial evitando sombras y reflejos |
| 10 | Material | Firme, fácil de limpiar y reparar |
99 TABLA DE REQUERIMIENTOS PARA SISTEMAS DE ORIENTACIÓN
| NORMA | (ISO 21542:2011.- Building Construction-Accessibility and Usability of the Built Environment., 2011) | C-32 | C-39 |
| (MTA.- Manual de Normas Técnicas de Accesibilidad, 2016) | RA-07 |
| (NTCPA.- Norma Técnica Complementaria para el Proyecto Arquitectónico del RCDF., 2011) | 4.2 |
| (NMX-R-050-SCFI-2006.- Accesibilidad de las Personas con Discapacidad a Espacios Construidos de Servicio al Público - Especificaciones de Seguridad., 2006) | 6.2.1.1a |
4.1.- SÍMBOLO INTERNACIONAL DE ACCESIBILIDAD (SIA)
100 ILUSTRACIÓN DEL SIA
101 ILUSTRACIÓN DEL SIA PARA PERROS DE ASISTENCIA
Señal que informa al usuario las condiciones de accesibilidad, por ejemplo, ruta, elemento o servicio.
Símbolo de una persona sentada sobre silla de ruedas de perfil, estilizada con la cara hacia la derecha.
En caso de requerirse se complementa el símbolo con la leyenda del tipo de uso (prioritario o exclusivo) y/o con flecha de dirección.
Señalizar la ruta accesible hacia el área de servicio con el Símbolo Internacional de Accesibilidad, solo en caso de que no sea la ruta natural de paso y particularmente en desvíos o puntos de toma de decisión.
4.2.- SEÑAL VISUAL
| No. | Concepto | |
| 1 | Condición | Cumplir con ficha de señalización |
| 2 | Ubicación | Visible para una persona sentada, de pie o en movimiento |
| 3 | Altura | Entre 1.20 y 1.60 m Las señales no deben de obstruir un área libre de paso de 2.10 m |
| 4 | Texto | Tipo de letra fácil de entender, preferentemente Helvética, Arial o similar Altura de letras de entre 20 mm y 30 mm para una visibilidad a un metro de distancia y no menor de 15 mm para cualquier Distancia Se recomienda el uso de mayúsculas y minúsculas |
| 5 | LRV. Light Reflectance Value(30) | Los símbolos y texto deben tener una diferencia de LRV de mínimo 60 puntos con el fondo y la superficie circundante al tablero Cumplir con ficha de color contrastante |
| 6 | Señales luminosas | Con intensidad adecuada sin causar deslumbramiento En caso de tener señales intermitentes, el tiempo de duración entre cada mensaje debe tener entre 1 y 2 segundos |
| 7 | Pantallas | Las pantallas de información, tales como para video o media, se deben ubicar de tal forma que se eviten reflejos. Complementar con información audible |
102 DESCRIPCIÓN DE CONCEPTOS PARA SEÑAL VISUAL
4.2.1.- SEÑALES IMPRESAS
| Las señales cuyo objetivo sea la comunicación visual se clasifican de acuerdo al tipo de mensaje que proporcionan, considerando los siguientes temas; Informativas, informativas de emergencia, emergencia o desastre, de precaución, prohibitivas o restrictivas y de obligación. | | | | |
| | Informativas |
| | | | |
| De emergencia | De Precaución | Prohibitivas o Restrictivas | De Obligación |
103 TIPOS DE SEÑALES IMPRESAS
La utilización de colores en las señalas deberá ser congruente con la NOM-026-STPS-2008, colores y señales de seguridad e higiene, e identificación de riesgos por fluidos conducidos en tuberías, emitida por la Secretaría del Trabajo y Previsión Social. Para el trazo de las señales, se deberán observar las siguientes recomendaciones.
104 ESPECIFICACIONES DE SEÑALIZACIÓN
| | Colores: |
| 1 | Logo símbolo institucional en color blanco |
| 2 | Fondo color azul (pantone 294) |
| 3 | Símbolo en color blanco forma: cuadrada |
105 TABLA DE ESPECIFICACIONES
4.2.2.- IDENTIFICACIÓN DE ESPACIOS
106 SEÑALÉTICA DE IDENTIFICACIÓN DE ESPACIOS
Especificaciones: La placa de señalización en interiores será de plástico cintra PVC en serigrafía.
| 1.- Símbolo en blanco o de contraste con el color de fondo |
| 2.- Tablero electrónico para dar avisos de emergencia e instrucciones a seguir se ubicarán en pasillos principales con 10 m máximo, tipografía Arial de color contrastante con el fondo |
| 3.- Fondo color autorizado por la administración del inmueble y el INDAABIN |
| 4.- Fondo color azul (pantone 294) |
| 5.- Las medidas acotadas se refieren a la placa y no incluyen al marco |
107 TABLA DE ESPECIFICACIONES
4.2.3.- DIRECTORIOS Y MÓDULOS DE CONDUCCIÓN
108 MEDIDAS Y NOMENCLATURAS DE SEÑALIZACIÓN
| Los logotipos y títulos de los espacios identificados en este apartado corresponderán a los propios de las Dependencias Federales que les correspondan. |
| Directorio |
| 1.- Símbolo institucional en color autorizado por el INDAABIN |
| 2.- Designación en tipografía en títulos, color de contraste con otros textos, autorizado por el INDAABIN |
| 3.- Designación en tipografía en títulos, color de contraste con otros textos, autorizado por el INDAABIN |
| 4.- Designación en tipografía en títulos, color de contraste con otros textos, autorizado por el INDAABIN |
| 5.- Símbolo en color de contraste sobre fondo de color autorizado por el INDAABIN |
| 6.- Color de Fondo |
| 7.- Letrero en color de contraste |
| 8.- Letrero en color de contraste |
109 TABLA DE ESPECIFICACIONES
| Notas Directorio: |
| Las dos caras del directorio estarán impresas en serigrafía con las especificaciones enumeradas, a menos que una de ellas sea visible El fondo oscuro con letras blancas facilita la lectura para las personas con discapacidad visual leve, a diferencia de un fondo claro con letras oscuras que la dificulta |
| Módulo de conducción |
| 1.- Logo o símbolo en color de contraste 2.- Fondo superior color autorizado por el INDAABIN 3.- Fondo inferior color autorizado por el INDAABIN 4.- Símbolo en color de contraste Notas. Módulo de conducción: Las medidas acotadas se refieren a la placa y no incluyen al marco. |
110 TABLA DE ESPECIFICACIONES
4.3.- TACTO - VISUAL
111 ESQUEMA PARA COLOCACIÓN DE PLACA
112 ESPECIFICACIONES DE PLACA CON SISTEMA BRAILLE
| No. | Concepto | Descripción |
| 1 | Condición | Es un tablero con información en alto relieve Puede estar vinculada a una ruta táctil, tal como una señal, directorio o mapa táctil Cumplir con ficha de señalización |
| 2 | Color contrastante | Evitar tableros con información monocromática para apoyo a personas con visión baja |
| 3 | Área libre | Las señales deben colocarse de modo que su alrededor haya un espacio de mínimo 7.5 cm libres de objetos sobresalientes u obstáculos |
| 4 | Altura | Cuando la señal se coloque en un plano vertical será con una altura de entre 1.20 y 1.60 m Cuando se coloque en un plano inclinado, su borde frontal deberá colocarse a partir de los 0.90 m de altura |
| 5 | Tablero: plano inclinado | Con un ángulo de entre 20° y 30° respecto al plano horizontal y de máximo 45° |
| 6 | Símbolos | Se deben de simplificar, abstraer y no contener trazos en perspectiva |
| 7 | Símbolos o texto: condición | Deben ser rellenos y sin bordes afilados |
| 8 | Símbolos o texto: altura | Entre 15 y 55 mm |
| 9 | Símbolos o texto: separación | La separación entre caracteres se definirá en relación al tamaño de las letras y será de entre 0.5 y 1.0 mm |
| 10 | Texto y Braille: alto relieve | El texto en alto relieve, puede ser complementado con Braille y se colocara en la parte inferior del texto, con excepción de la información para botones El Braille debe ser fácil de localizar, por ejemplo con una muesca en el borde izquierdo del tablero a la altura de la primera línea en Braille |
| 11 | Símbolo o texto: Alto relieve | Entre 1.0 y 1.5 mm |
| 12 | Braille: área libre | Un signo generador colocado en esquina tendrá alrededor un espacio libre de mínimo 6 mm |
| 13 | Braille: colocación | a) Distancia vertical entre los centros de puntos contiguos del signo generador (entre el punto 1 y 2): entre 2.2 a 2.8 mm b) Distancia horizontal entre los centros por puntos contiguos del signo generador (entre el punto 1 y 4): entre 2 y 2.8 mm p) Distancia horizontal entre los signos generadores (entre el punto 1 y 1´): entre 5.1 y 6.8 mm q) Distancia vertical entre los signos generadores (entre el punto 1 y 1"): de 10 y 15 mm |
| 14 | Braille: diámetro | d) Entre 1 y 1.7 mm |
| 15 | Braille: altura | h) Entre 0.3 y 0.7 mm |
| 16 | Mapa táctil: iluminación | Entre 350 y 450 luxes |
113 SEÑALIZACIÓN TACTO VISUAL (COLOCACIÓN DE PLACAS TÁCTILES)
4.3.1.- SISTEMA BRAILLE ESPECIFICACIONES
114 MEDIDAS PARA SISTEMA BRAILLE
115 CARACTERES EN SISTEMA BRAILLE
| Especificaciones |
| 1.- Base de acero inoxidable para una letra |
| 2.- Orden numérico del cuadrante |
| 3.- Punto realzado de 1mm |
| 4.- Separación entre letras |
| 5.- Separación entre palabras |
| 6.- Separación entre renglón |
116 TABLA DE ESPECIFICACIONES PARA SISTEMA BRAILLE
4.4.- RUTA TÁCTIL
117 ELEMENTOS DE RUTA TÁCTIL
La guía podo táctil es el componente de la franja de accesibilidad destinada a facilitar el desplazamiento de personas con discapacidad visual, incorporando al piso dos códigos en alto relieve, para ser reconocidos como señal de avance seguro (textura de franjas longitudinales) y advertencia (textura de conos truncados).
El código de avance seguro contempla el movimiento recto y los giros moderados. En cambio, el código de advertencia significa aproximación a un objeto, cambio de dirección, cambio de nivel o fin de recorrido. Los giros cerrados (superiores a 45°) conviene señalarlos también con el código de advertencia.
Para evitar accidentes por golpes laterales, la guía deberá guardar una separación mínima de 40 cm respecto de cualquier objeto de acuerdo a la Norma Técnica Complementaria para proyecto arquitectónico.
| Material |
| Módulos fabricados en concreto polimérico, color amarillo pantone 116 C |
| Dimensiones |
| Módulos de 30 x30 cm |
| Nota: Si en exteriores se utilizan materiales como grava, piedra o adopasto, se contará con andadores de 1.20 m de ancho mínimo, en material firme y antiderrapante para incorporar la guía podo-táctil |
118 DESCRIPCIÓN DE ELEMENTOS DE RUTA TÁCTIL
| En caso de que, por cuestiones de espacio, no sea posible la colocación de 4 módulos en el cambio de dirección se podrá poner solamente un módulo con el código de advertencia. |
119 VARIANTE DE PANEL DE CAMBIO DE DIRECCIÓN (1 MÓDULO)
4.5.- SEÑAL AUDIBLE
| No. | Concepto | Descripción |
| 1 | Condición | Se recomienda una utilización moderada de la señal audible para evitar contaminación acústica |
| 2 | Ubicación | Debe de estar distribuida hacia el total de las áreas de servicio, por ejemplo, para dar avisos verbales generales en una terminal de transporte Debe de estar direccionada hacia donde se encuentre la persona para dar el aviso correspondiente, por ejemplo, hacia la puerta del elevador en el momento de apertura o información localizada en la zona de embarque en una parada de transporte para dar información sobre la próxima llegada del vehículo |
| 3 | Distinguible | Debe de ser distinguible y legible a las frecuencias de los sonidos del entorno inmediato |
| 4 | Ajustable | El volumen debe de ser ajustado a las condiciones del lugar |
| 5 | Tipos | La señal puede ser con tonos o verbal |
| 6 | Verbal | La señal verbal puede ser directa (voz humana) o indirecta (grabación de voz humana o sintetizada) con el idioma y acento local, difundida por un dispositivo adecuado al tamaño del lugar |
| 7 | Verbal: mensaje | El mensaje debe de ser fácilmente comprensible y sin ambigüedades Se recomienda que el mensaje sea precedido por un tono |
120 TABLA DE ESPECIFICACIONES
TÍTULO 5
5.- PROTECCIÓN CIVIL
Objetivo
Los lineamiento y recomendaciones que se incluyen en este capítulo buscan contribuir a mejorar las condiciones de seguridad de las personas con discapacidad para salvaguardar su integridad física y su vida en los inmuebles e instalaciones federales, al establecer requisitos mínimos que deben implementarse para garantizar su atención y auxilio en situaciones de emergencia o desastre, mismos que complementan los lineamientos del Programa Interno de Protección Civil.
Los términos y definiciones utilizadas en este Capítulo se incluyen en el Glosario de términos general del documento.
Para dar cumplimiento a la normativa derivada de los instrumentos en la materia se establecen acciones que deberán considerarse durante los procesos de diseño de los Inmuebles Federales, así como acciones que se emprendan para la adecuación de los que existen. Por otra parte, se incluyen también mecanismos que deberán cumplir los administradores de cada inmueble.
5.1.- OBLIGACIONES DEL RESPONSABLE O ADMINISTRADOR DE LOS INMUEBLES FEDERALES.
- Deberá incluir en el Programa Interno de Protección Civil un procedimiento de emergencia respecto a personas con discapacidad, considerando elaborar un plan personal de evacuación por cada persona con discapacidad que labore en inmueble, aun cuando no haya trabajadores con alguna discapacidad se deben considerar las medidas necesarias.
- Deberá capacitar y sensibilizar al personal de servicio de emergencia, incluyendo brigadistas y voluntarios, respecto del trato digno y adecuado a las PCD conforme a los criterios mínimos que señala el capítulo 6 de la NOM-008-SEGOB-2015 y Art. 65 de la Ley General de Protección Civil.
- El responsable o administrador de los inmuebles del sector público, deberá informar a la PCD que labore o que se encuentre de visita en el inmueble, de las zonas de seguridad para fines de evacuación y así como para garantizar su integridad física y su vida en situación de emergencia o desastre, si así lo permiten las condiciones propias del inmueble, a una ruta más cercana de evacuación o salida de emergencia, para facilitar su desalojo. Se deberá de considerar dispositivos auxiliares para la evacuación con personas con discapacidad (elemento de la ruta de evacuación), aplicado a los planes de evacuación individualizados de cada Inmueble Federal.
- Deberá instalar dispositivos de alarma de acuerdo a las características del inmueble y a los diferentes tipos de discapacidad, que permitan alertar a la PCD que labore en el inmueble o PCD visitante que se encuentren dentro de las instalaciones, en caso de emergencia o desastre. Tratándose de discapacidad física, intelectual, psicosocial o sensorial podrá ser desde un silbato hasta un sistema de sonido local. Para el caso de discapacidad auditiva podrá ser desde un foco hasta una sirena con lámpara estroboscópica intermitente.
Plan personal de evacuación.
Es recomendable que se elabore un plan de evacuación personal para cada empleado con discapacidad, es decir, residentes permanentes de un inmueble, el cual debe realizarse en coordinación entre la persona con discapacidad, el comité de protección civil y el área de recursos humanos o coordinación administrativa.
Mediante el plan personal de evacuación el empleado con discapacidad debe identificar y dar a conocer sus posibilidades individuales para evacuar en caso de una emergencia y el momento, lugares o situaciones en las que requiere de apoyo.
Junto con el plan personal de evacuación, se debe establecer una red interna y externa de apoyo para la persona con discapacidad, en la que se identifique y designe el personal que auxiliará a la persona con discapacidad en caso de evacuación. Así mismo, la persona con discapacidad debe contar con una red externa de apoyo, compuesta por familiares o amigos, a los cuales se deberá contactar en caso de ser necesario durante o después de una evacuación de emergencia.
También se debe elaborar un protocolo de evacuación para visitantes con discapacidad, cuyo control debe llevarse en el registro de acceso desde su llegada a la instalación hasta la salida de la misma.
La elaboración de planes personales y los protocolos para visitantes debe complementarse con la capacitación tanto a brigadistas de protección civil como a empleados en general, en el trato a personas con discapacidad y en técnicas de evacuación por tipo de discapacidad.
Las características arquitectónicas de las edificaciones deben cumplir con lo establecido para rutas de evacuación y confinación de fuego.
Todas las edificaciones clasificadas como de riesgo medio o alto deben garantizar el desalojo de todos sus ocupantes en caso de una emergencia por fuego, sismo o pánico, hasta que el último ocupante del local ubicado en la situación más desfavorable abandone el edificio. En su caso podrá contar con áreas de resguardo.
Las áreas que deben ser accesibles para personas con discapacidad deberán tener cuando menos una ruta de evacuación accesible, incluyendo las áreas de resguardo que correspondan, con excepción de las ocupaciones sanitarias equipadas en su totalidad con sistemas de rociadores automáticos contra incendio;
ÁREAS DE RESGUARDO
Las áreas de resguardo serán zonas aisladas al fuego por muros y puertas cortafuego de cierre automático, que cuenten con las condiciones de ventilación suficiente, natural o artificial que no propicien la propagación de fuego en el resto del edificio, y que permitan la protección temporal de sus ocupantes debiendo estar señalizadas. Las secciones de un área de resguardo deberán tener acceso a la vía pública mediante una salida sin requerir el regreso a los espacios del edificio a través de los que tuvo lugar el recorrido hacia el área de resguardo, con excepción de zonas completas de la planta de un edificio si dicho edificio cuenta con una cobertura completa de rociadores automáticos contra incendio.
Podrán considerarse como áreas de resguardo, los cubos de escaleras y pasillos protegidos contra fuego, o zonas completas de la planta de un edificio si dicho edificio cuenta con una cobertura completa de rociadores automáticos contra incendio.
Cada área de resguardo deberá ser accesible y poseer una dimensión para acomodar un espacio para una persona en silla de ruedas de 0.90 por 1.30 m por cada 200 personas o fracción, basada en la carga de ocupantes, así mismo cada área de resguardo deberá contar con comunicación de dos vías con un punto central de control.
Las instrucciones para pedir ayuda mediante el sistema de comunicación y la identificación escrita de la ubicación del área de resguardo deberán estar exhibidas adyacentes a dicho sistema(31).
5.2.- RUTAS DE EVACUACIÓN
a) Antes de la evacuación:
· Los inmuebles federales deberán contar con los dispositivos de alarma suficientes para que las personas con alguna discapacidad respondan ante eventos de emergencia. Estos dispositivos deberán ser adecuados a las características de la población con discapacidad en el inmueble incluyendo los visitantes.
· En los programas de capacitación se deberán dar conocer y recorrer las rutas de evacuación, puntos de reunión, zonas de menor riesgo y salidas de emergencia, al menos, las más cercanas a su lugar de trabajo y/o área de visita.
b) Durante la evacuación:
· Contar con las Indicaciones permanentes de los procedimientos, circulaciones y restricciones en caso de emergencia.
· Las zonas de seguridad deben contar con espacios exclusivos para personas con discapacidad, los
cuales deben encontrarse en áreas que por su ubicación, materiales y estructura sean seguras para su resguardo. En interiores se recomienda que las zonas de seguridad asignadas a personas con discapacidad no se encuentren ubicadas cerca de las salidas de emergencia.
· En el exterior del inmueble, los puntos de reunión deben contar con espacios específicos y señalados, para personas con discapacidad, preferentemente contiguos a la brigada de primeros auxilios.
c) Después de la evacuación:
· Contar con las condiciones de acceso y desalojo suficientes para el traslado, el arribo y desalojo de atención médica y la Unidad Interna de Protección Civil.
d) Dispositivos para la evacuación:
· Elevadores
Las construcciones nuevas de múltiples niveles deberán considerar la instalación de elevadores adaptados para su uso aún en caso de incendio, con la finalidad de ser una opción para la evacuación en caso de incendio u otro tipo de emergencias.
Al no existir aún suficiente regulación a este respecto se debe preferir las que indiquen los proveedores de los elevadores y que han instalado al menos un elevador susceptible de ser utilizado en caso de incendio y/o emergencia.
· Otros apoyos
Existen otros dispositivos que pueden ser utilizados por personas con discapacidad, o personas que han sufrido algún trauma antes o durante una evacuación y que pueden requerir de apoyo para poder ser evacuados.
Para el caso de empleados permanentes, el plan de evacuación personal debe determinar el dispositivo más adecuado. Cuando no existan personas con discapacidad laborando, y se adquieran para visitantes, su adquisición debe estar sujeta a que un equipo de personas designado por la dependencia, cuente con la capacitación sobre su uso.
Entre estos dispositivos se encuentran:
· Sillas de evacuación.
Existen diversos modelos según el proveedor, su uso constituye una opción para la evacuación de edificios multinivel. Sin embargo, su utilidad depende de que exista personal capacitado para su uso y en el traslado de la persona con discapacidad en ella. Por lo tanto, la adquisición de este tipo de dispositivos debe hacerse después de elaborar los planes personales para emergencias, o si una instalación es susceptible de contar con visitantes frecuentes con discapacidad, que puedan requerir de este tipo de dispositivo.
Se debe contar con al menos una silla de ruedas plegable en el acceso a cada inmueble, o en el lugar que lo determine el comité de protección civil, que pueda ser utilizada por visitantes que así lo requieren, o en caso de evacuación, para trasladar a una persona que no pueda caminar, tenga o no discapacidad permanente.
· Camillas, mantas de emergencia y otros dispositivos.
Las camillas o mantas de emergencia pueden ser útiles para personas con movilidad limitada o heridas. En el caso de considerar su uso para personas con discapacidad, debe hacerse una evaluación previa junto con dicha persona y determinar que su uso no la lastimará generará una deficiencia mayor a la PCD.
5.3.- SALIDAS DE EMERGENCIA
Las salidas de emergencia tendrán paso libre, deberán contar con un mecanismo de apertura de las puertas que se accionará por simple presión y deberán cumplir con las especificaciones técnicas y parámetros siguientes.
Opciones de ubicación para señales de emergencia adecuadas para personas con discapacidad.
121 MEDIDAS DE SALIDAS DE EMERGENCIA (OPCIÓN 1)
Fuente: (Criterios de Proyecto de Arquitectura para la Accesibilidad de las Personas con Discapacidad, 2006)
122 MEDIDAS DE SALIDAS DE EMERGENCIA (OPCIÓN 2)
| Se prohíbe la instalación de cerraduras, candados o seguros en las puertas de emergencia, en las barras antipánico o adicionales a éstas. Cualquier puerta, pasillo o escalera que no sea un camino de acceso a la salida de emergencia y que esté ubicada o dispuesta de manera tal que pueda ser confundida con una salida emergencia, deberá cumplir con el inciso 4.3.1.2., párrafos I y III de la Norma Técnica Complementaria para el Proyecto Arquitectónico (del GODF publicada el 8 de febrero de 2011). |
123 SEÑALIZACIÓN PARA SALIDAS DE EMERGENCIA
| | Especificaciones |
| 1 | Señalización para salida de emergencia |
| 2 | Señalización para escalera de emergencia |
| 3 | Manija tipo palanca con una protuberancia al final |
| 4 | Marco de puerta |
| 5 | Placa metálica de salida de emergencia con significado en Braille y letras en alto relieve |
| 6 | Sistema de alarma audiovisual (bocina con estrobo) para instalarse en plafón (consultar con el área de protección civil del instituto) |
| 7 | Zoclo reforzado de 40 cm de altura |
| 8 | Picaporte para salida de emergencia tipo barra que al empujarlo, abre la puerta |
| 9 | Color: Seguridad: color verde pantone 355 C Contraste: color blanco Símbolo: flecha indicando el sentido requerido y en su caso el número de ruta de evacuación Forma: rectangular Distancia de visualización: 12.64 metros |
124 TABLA DE ESPECIFICACIONES PARA SALIDAS DE EMERGENCIA
| NORMA | (NOM-008-SEGOB-2015, 2016) | COMPLETA |
| (Instituto Mexicano del Seguro Social, 2006) | 3.1.2.4 |
MECANISMO DE SUPERVISIÓN PARA EL CUMPLIMIENTO DEL ACUERDO
INFORME DE AVANCES AL INDAABIN
Las dependencias y entidades de la APF deberán capturar en el sistema que para ello determine el INDAABIN la información de sus inmuebles en materia de accesibilidad, considerando lo siguiente:
· Por cada nueva captura de datos o modificación de las mismas en la edificación se requerirá la firma del responsable inmobiliario.
· Por cada uno de los edificios que se encuentran dentro del inmueble se llenará la cedula de accesibilidad.
· La responsabilidad del llenado de las cédulas como la captura de las mismas en el sistema, es de las y los responsables inmobiliarios de cada una de las dependencias.
· El INDAABIN no podrá llevar a cabo ninguna modificación de la información capturada.
Las dependencias y entidades de la APF deberán informar al INDAABIN de manera bimestral las acciones realizadas en materia de accesibilidad y/o los avances que realicen durante el periodo del reporte, para que sean presentados al Comité del Patrimonio Inmobiliario Federal y Paraestatal.
Los informes deberán ser dirigidos a la Presidencia del Comité del Patrimonio Inmobiliario Federal y Paraestatal por conducto de la Secretaría Ejecutiva, que recae en la Dirección General de Política y Gestión Inmobiliaria del INDAABIN, ya sea por oficio o de manera electrónica, para lo cual anexarán la documentación que acredite las acciones y/o avances en archivo electrónico.
De requerirse información o documentación adicional, la Secretaría Ejecutiva la solicitará por escrito, ya sea por oficio o de manera electrónica, según sea el caso, al representante del Comité, quien deberá integrarla y enviarla en su totalidad al menos con 10 días hábiles previos a la fecha de celebración de la sesión correspondiente.
El CONAPRED, en el ámbito de sus atribuciones, dará a conocer semestralmente, al Comité del Patrimonio Inmobiliario Federal y Paraestatal los procedimientos de queja concluidos en contra de alguna dependencia o entidad de la APF en los que se haya comprobado la comisión de conductas discriminatorias por la falta de accesibilidad en los inmuebles públicos federales.
REVISIÓN Y ACTUALIZACIÓN
Para la revisión y actualización del presente documento el INDAABIN convocará por lo menos cada 5 años a partir de su emisión, a las dependencias y entidades que integran el Comité del Patrimonio Inmobiliario Federal y Paraestatal, el CONADIS y el CONAPRED, conforme a lo siguiente:
I. La convocatoria se notificará por escrito, en formato físico o de manera electrónica, con cinco días hábiles de anticipación.
II. La revisión se realizará en el domicilio del INDAABIN a través de Mesas de Trabajo.
III. Por acuerdo de la mayoría de las personas asistentes a la Mesa de Trabajo se invitará a personas con discapacidad, así como a organizaciones de y para personas con discapacidad que coadyuven en la revisión del Acuerdo y Anexo Único.
IV. La revisión será moderada por el INDAABIN y las y los asistentes a la Mesa de Trabajo podrán intervenir conforme soliciten la palabra.
V. El desahogo de cada punto incluirá: presentación, diálogo, discusión y aprobación (en su caso).
VI. Los acuerdos se tomarán por mayoría de votos. En caso de empate, el INDAABIN tendrá voto de calidad.
VII. Las modificaciones aprobadas al Acuerdo y Anexo Único se publicarán en el Diario Oficial de la Federación.
____________________________
1 Manual de Normas Técnicas de Accesibilidad, INDEPEDI, 2016.
2 Manual Técnico de Accesibilidad, SEDUVI, 2007.
3 Secretaría de Comercio y Fomento Industrial, Accesibilidad de las personas con discapacidad a espacios construidos de servicio al público. Especificaciones de Seguridad. México 2005.
4 Manual Técnico de Accesibilidad, SEDUVI, 2007.
5 Manual Técnico de Accesibilidad, SEDUVI, 2007.
6 Ley General para la Inclusión de las Personas con Discapacidad, publicada en el DOF el 30 de mayo de 2011.
7 Manual de Normas Técnicas de Accesibilidad, INDEPEDI, 2016.
8 Manual de Normas Técnicas de Accesibilidad, INDEPEDI, 2016.
9 Manual Técnico de Accesibilidad, SEDUVI, 2007.
10 Manual de Normas Técnicas de Accesibilidad, INDEPEDI, 2016.
11 Manual Técnico de Accesibilidad, SEDUVI, 2007.
12 Manual Técnico de Accesibilidad, SEDUVI, 2007.
13 Manual de Normas Técnicas de Accesibilidad, INDEPEDI, 2016.
14 Manual Técnico de Accesibilidad, SEDUVI, 2007.
15 Manual de Normas Técnicas de Accesibilidad, INDEPEDI, 2016.
16 Manual de Normas Técnicas de Accesibilidad, INDEPEDI, 2016.
17 Manual Técnico de Accesibilidad, SEDUVI, 2007.
18 Ley General para la Inclusión de Personas con Discapacidad, 2017. Ley de Protección a los Animales, 4 mayo 2018. Guía de Recomendaciones de Diseño Universal para el Sector Turismo. Assistance Dogs International.
19 Manual Técnico de Accesibilidad, SEDUVI, 2007.
20 Manual de Normas Técnicas de Accesibilidad, INDEPEDI, 2016.
21 Manual Técnico de Accesibilidad, SEDUVI, 2007.
22 Manual Técnico de Accesibilidad, SEDUVI, 2007.
23 (Secretaría de Desarrollo Urbano y Vivienda, Gobierno de la Ciudad de México., 2016)
24 Instituto Mexicano del Seguro Social, 2016
25 (Accesibilidad. Personas con discapacidad y diseño arquitectónico , 2015)
26 (Accesibilidad. Personas con discapacidad y diseño arquitectónico , 2015)
27 (Accesibilidad. Personas con discapacidad y diseño arquitectónico , 2015)
28 SECTUR pp. 212
29 SECTUR pp. 216
30 (valor de reflectancia luminosa)
31 TCPA RCDF 2011