PROYECTO de Norma Oficial Mexicana PROY-NOM-034-ENER/SE-2020, Eficacia energética y requisitos de seguridad de ventiladores. Límites, métodos de prueba y etiquetado.

Al margen un sello con el Escudo Nacional, que dice: Estados Unidos Mexicanos.- Secretaría de Energía.- Comisión Nacional para el Uso Eficiente de la Energía.- Comité Consultivo Nacional de Normalización para la Preservación y Uso Racional de los Recursos Energéticos (CCNNPURRE).

PROYECTO DE NORMA OFICIAL MEXICANA PROY-NOM-034-ENER/SE-2020, EFICACIA ENERGÉTICA Y REQUISITOS DE SEGURIDAD DE VENTILADORES. LÍMITES, MÉTODOS DE PRUEBA Y ETIQUETADO.
ODÓN DEMÓFILO DE BUEN RODRÍGUEZ, Presidente del Comité Consultivo Nacional de Normalización para la Preservación y Uso Racional de los Recursos Energéticos (CCNNPURRE) y Director General de la Comisión Nacional para el Uso Eficiente de la Energía y ALFONSO GUATI ROJO SÁNCHEZ, Director General de Normas y Presidente del Comité Consultivo Nacional de Normalización de la Secretaría de Economía (CCONNSE), con fundamento en los artículos con fundamento en los artículos 33, fracción X, 34, fracciones II, XIII y XXXIII de la Ley Orgánica de la Administración Pública Federal; 4 de la Ley Federal de Procedimiento Administrativo; 17, 18, fracciones V, XIV y XIX y 36, fracción IX de la Ley de Transición Energética; 38, fracciones II, IV y IX, 39, fracciones V y VII, 40 fracciones I, XII y XVIII, 41, 43 y 44, párrafo cuarto y 47 fracción I y penúltimo párrafo, de la Ley Federal sobre Metrología y Normalización; 28, 31 y 33 del Reglamento de la Ley Federal sobre Metrología y Normalización; CUARTO Transitorio de la Ley de Infraestructura de la Calidad, y 36, fracciones IX y X y 37 fracción XI del Reglamento Interior de la Secretaría de Economía; 2 apartado F, fracción II, 8, fracciones XIV, XV y XXX, 39 y 40 del Reglamento Interior de la Secretaría de Energía y en el artículo Único, fracciones I y II del Acuerdo por el que se delegan en el Director General de la Comisión Nacional para el Uso Eficiente de la Energía, las facultades que se indican, publicado en el Diario Oficial de la Federación el día 21 de julio de 2014; y
CONSIDERANDO
Que el presente Proyecto de Norma Oficial Mexicana se sometió a consideración, y fue aprobado por el Comité Consultivo Nacional de Normalización para la Preservación y Uso Racional de los Recursos Energéticos, en su Quincuagésima novena Sesión Ordinaria del 27 de octubre de 2020, así como por el Comité Consultivo Nacional de Normalización de la Secretaría de Economía, en su Décima Sesión Extraordinaria del 06 de noviembre de 2020. Lo anterior, con el fin de llevar a cabo su publicación en el Diario Oficial de la Federación y someterlo a consulta pública, de conformidad con el artículo 47, fracción I de la Ley Federal sobre Metrología y Normalización y 33 párrafo primero de su Reglamento, a efecto de que los interesados, dentro de los sesenta días naturales contados, a partir de la fecha de su publicación en el Diario Oficial de la Federación, presenten sus comentarios ante el CCNNPURRE, ubicado en: Av. Revolución No. 1877, Colonia Loreto, Alcaldía Álvaro Obregón, Ciudad de México, CP. 01090, correo electrónico: norma.morales@conuee.gob.mx o ante el CCONNSE, ubicado en: Pachuca 189, Colonia Condesa, Alcaldía Cuauhtémoc, CP. 06140, Ciudad de México, al correo electrónico juan.rivera@economia.gob.mx y consultapublica@economia.gob.mx, para que, en los términos de la ley de la materia, se consideren en el seno de los Comités que lo propusieron.
Asimismo, de acuerdo a lo dispuesto por el artículo 45 de la Ley Federal sobre Metrología y Normalización, la Manifestación de Impacto Regulatorio relacionada con el Proyecto de Norma Oficial Mexicana PROY-NOM-034-ENER/SE-2020, Eficacia Energética y requisitos de seguridad de ventiladores. Límites, métodos de prueba y etiquetado, estará a disposición del público para su consulta en el domicilio de los Comités antes señalados.
Finalmente, conforme al Cuarto Transitorio de la Ley de Infraestructura de la Calidad que a la letra señala:
"CUARTO. Las Propuestas, Anteproyectos y Proyectos de Normas Oficiales Mexicanas y Estándares que a la fecha de entrada en vigor del presente Decreto se encuentren en trámite y que no hayan sido publicados, deberán ajustarse a lo dispuesto por las Ley Federal sobre Metrología y Normalización, su Reglamento y demás disposiciones secundarias vigentes al momento de su elaboración y hasta su conclusión."
Este Anteproyecto de Norma Oficial Mexicana es sometido ante los Comités Consultivos Nacionales de Normalización correspondientes bajo la Ley Federal sobre Metrología y Normalización y será concluido conforme a dicha Ley.
Por lo expuesto y fundado, se expide para consulta pública el siguiente:
 
PROYECTO DE NORMA OFICIAL MEXICANA PROY-NOM-034-ENER/SE-2020, EFICACIA ENERGÉTICA
Y REQUISITOS DE SEGURIDAD DE VENTILADORES. LÍMITES, MÉTODOS DE PRUEBA Y
ETIQUETADO.
PREFACIO
Este Proyecto de Norma Oficial Mexicana fue elaborado en el Comité Consultivo Nacional de Normalización para la Preservación y Uso Racional de los Recursos Energéticos (CCNNPURRE) y el Comité Consultivo Nacional de Normalización de la Secretaría de Economía (CCONNSE), con la colaboración de los siguientes organismos, instituciones y empresas:
-      Ampliequipos, S.A. de C.V.;
-      Asociación de Normalización y Certificación, A.C.;
-      Asociación Nacional de Fabricantes de Aparatos Domésticos (ANFAD), A. C.;
-      Cámara Nacional de Manufacturas Eléctricas (CANAME);
-      Grupo Anavia S.A. de C.V.;
-      Groupe SEB México S.A. de C.V.;
-      Hunter Ventiladores de México S.A. de C.V.;
-      Industrias Man de México S.A. de C.V.;
-      Laboratorios Radson, S.A. de C.V.;
-      Merry Tech Internacional, S.A. de C.V.;
-      Newell Brands de México, S.A. de C.V.;
-      Normalización y Certificación NYCE, S.C.;
-      Regal Beloit de México, S. de R.L. de C.V.;
-      Secretaría de Energía;
-      Taurus-España, S.A. de C.V.;
-      Tecnología y Servicio S.A. de C.V.;
-      TRUPER, S.A. de C.V.;
-      UL de México, S.A. de C.V.
ÍNDICE DE CONTENIDO
0.    Introducción
1.     Objetivo y campo de aplicación
2.    Referencias
3.     Definiciones
4.     Clasificación
5.    Especificaciones
6.     Muestreo
7.     Métodos de prueba
8.     Criterios de aceptación
9.     Etiquetado
10.   Vigilancia
11.   Procedimiento para la evaluación de la conformidad
12.   Concordancia con normas internacionales
Apéndices
 
       Apéndice A (Normativo). Figuras
Tablas
        Tabla 1. Eficacia Energética mínima para ventiladores de pared, pedestal, piso o de mesa
        Tabla 2. Eficacia Energética mínima para ventiladores de techo
Figuras
Figura 1 - Etiqueta de Eficacia Energética para ventiladores
Figura A.1 - Instalación para prueba de ventiladores de techo
Figura A.2 - Vista superior
Figura A.3 - Colocación de anemómetros
Figura A.4 - Instalación para ventiladores de pared, pedestal, piso o de mesa
13. Bibliografía
0. Introducción
En la República Mexicana ha incrementado considerablemente el uso de ventiladores por lo que es necesario elaborar un Proyecto de Norma Oficial Mexicana, para evitar dispendios de energía en los ventiladores operados, ofrecer seguridad al usuario, además de responder a las necesidades de promover el uso eficiente de la energía y contribuir al uso racional de los recursos energéticos de la Nación.
1. Objetivo y campo de aplicación
Este Proyecto de Norma Oficial Mexicana, establece la Eficacia Energética mínima de los ventiladores de techo, con o sin equipo de iluminación y, ventiladores de pared, pedestal, piso y de mesa, así como los métodos de prueba, los requisitos de seguridad, el etiquetado y el procedimiento para la evaluación de la conformidad. Aplica a:
a)    Ventiladores de pared, pedestal, piso o y de mesa, alimentados por la red eléctrica, cuyas aspas sean iguales o mayores que un diámetro de 0,1016 m (4 in) y hasta 1,52 m (60 in).
b)    Ventiladores de techo de uso general, cuyas aspas sean iguales o mayores que un diámetro de 0,9144 m (36 in) y hasta 2,13 m (84 in).
Los cuales se importen, fabriquen o comercialicen, así como las que se distribuyan o suministren con fines promocionales, dentro del territorio de los Estados Unidos Mexicanos.
Excepciones
Este Proyecto de Norma Oficial Mexicana no aplica para los siguientes productos:
-      Ventiladores que operan con una tensión igual o menor que 12 V.
-      Ventiladores que se incorporen como parte de un producto terminado.
-      Ventiladores destinados exclusivamente para uso industrial.
-      Aquellos productos donde su función principal sea la de extracción de aire.
-      Ventiladores de torre, de iones o sin aspas.
2. Referencias
Para la correcta aplicación de este Proyecto de Norma Oficial Mexicana deben consultarse y aplicarse las siguientes normas vigentes o las que la sustituyan:
-      NOM-008-SCFI-2002, Sistema General de Unidades de Medida, publicada en el Diario Oficial de la Federación el 27 de noviembre de 2002.
-      NMX-J-521/1-ANCE-2012, Aparatos electrodomésticos y similares-Seguridad-Parte 1: Requisitos generales, cuya Declaratoria de Vigencia fue publicada en el Diario Oficial de la Federación el 22 de abril de 2013.
-      NMX-J-521/2-80-ANCE-2014, Aparatos electrodomésticos y similaresSeguridad-Parte 2-80:
Requisitos particulares para ventiladores, cuya Declaratoria de Vigencia fue publicada en el Diario Oficial de la Federación el 8 de septiembre de 2014.
3. Definiciones
Para los propósitos de este Proyecto de Norma Oficial Mexicana, se aplican los términos y definiciones contenidas en las Normas de referencia (ver capítulo 2. Referencias) o tienen su acepción dentro del contexto en el que se utilizan, además de los siguientes:
3.1 Aire. Término utilizado para abreviar "aire u otro gas".
NOTA: Los componentes principales del aire son nitrógeno, oxígeno, dióxido de carbono, neón, helio entre otros.
3.2 Caudal de aire. Velocidad de movimiento de aire a un ajuste de velocidad del ventilador específico, que se expresa en metros cúbicos por minuto (m3/min).
3.3 Eficacia Energética del ventilador. Relación entre el caudal de aire y la potencia consumida por el ventilador, expresada en metros cúbicos por minuto Watt (m3/(minW)).
3.4 Equipo de iluminación. Equipo que se utiliza para proporcionar la luz en ventiladores de techo, y están conectados o destinados a conectarse a la unidad principal del ventilador. El equipo de iluminación debe estar conectado al momento de aplicar el método de prueba a ventiladores de techo.
3.5 Fuente de Alimentación. Transformador, fuente de alimentación, batería, u otro dispositivo capaz de suministrar una intensidad de corriente, tensión o potencia eléctrica dentro de sus límites de diseño. Este dispositivo no cuenta con capacidad de control adicional.
3.6 Potencia real o activa. Potencia que se aprovecha como trabajo, la cual consume un equipo eléctrico cuando se encuentra conectado a un circuito de corriente alterna sinusoidal, es una función de los valores eficaces o valores cuadráticos medios de la diferencia de potencial entre las terminales y de la intensidad de corriente que pasa a través del dispositivo y se define de manera simplificada matemáticamente por la fórmula siguiente:
P = V I cos Φ
Donde:
P: es la potencia de consumo eléctrico, expresada en watt (W).
V: es la diferencia de potencial entre las terminales del circuito.
I: es la intensidad de corriente eléctrica que fluye por el circuito, en ampere (A); y
cos Φ : es el valor del factor de potencia o coseno de "fi".
La mayoría de los instrumentos de medición obtienen el valor de la potencia activa como resultado de un promedio de mediciones realizadas durante un número de períodos (ciclo de c.a.).
3.7 Potencia aparente. Resultado de multiplicar el valor de la tensión eléctrica en r.m.s. por el valor de la intensidad de corriente eléctrica en r.m.s. Se expresa en VA (volt ampere).
NOTA: r.m.s. ("Root Mean Squared", por sus siglas en inglés) se refiere al valor cuadrático medio de una magnitud eléctrica.
3.8 Potencia de entrada. Se define como la potencia real en watts (c.a.) consumida por la fuente de alimentación externa operando bajo las condiciones de carga que se especifiquen, conectando el aparato a la tensión eléctrica nominal de suministro.
3.9 Tamaño de barrido. Diámetro del círculo alrededor de las aspas del ventilador al girar.
3.10 Tamaño del ventilador. Diámetro total de las aspas (circunferencia); que se mide en metros (m).
3.11 Ventilador. Máquina rotativa que distribuye energía a una corriente de aire por medio de uno o más rotores equipados con aspas y que mantienen un caudal casi continúo con un incremento de presión del ventilador que normalmente no supera los 30 kPa.
 
3.12 Ventilador de mesa. Ventilador que se diseña para colocarse únicamente sobre la mesa o algún soporte similar y que cuenta con una base integrada al cuerpo del ventilador que lo mantiene estable.
3.13 Ventiladores de pared. Ventiladores que poseen un soporte especialmente diseñado para ser fijado a la pared, sobre el cual se montan o ensamblan, sin conexión a ductos.
3.14 Ventiladores de pedestal. Ventiladores que poseen una base especialmente diseñada para ser colocada en una superficie horizontal donde se soporta el ventilador.
3.15 Ventilador de piso. Ventilador que se diseña para colocarse únicamente en el piso y que cuenta con soportes que lo mantienen estable.
3.16 Ventilador de techo. Ventilador no portátil, diseñado para estar suspendido en el techo, generando circulación de aire a través de la rotación de las aspas del ventilador. Algunos ventiladores de techo también tienen integrado un equipo de iluminación.
4. Clasificación
Los ventiladores se clasifican de la manera siguiente:
4.1 De acuerdo con su tipo:
a)    Mesa
b)    Pared
c)    Pedestal
d)    Piso
e)    Techo
5. Especificaciones
Para determinar los valores de Eficacia Energética de los ventiladores objeto de este Proyecto de Norma Oficial Mexicana, se debe aplicar únicamente el método de prueba descrito en el capítulo 7, específicamente los incisos 7.1.5 para ventiladores tipo pared, pedestal, piso y de mesa, así como en el inciso 7.2.5 para ventiladores de techo de uso general.
5.1 Eficacia Energética para ventiladores de pared, pedestal, piso y de mesa
Todos los ventiladores sujetos al cumplimiento de este Proyecto de Norma Oficial Mexicana deben cumplir con una Eficacia Energética mínima igual o mayor que la especificada de acuerdo con el diámetro de las aspas correspondiente:
Tabla 1. Eficacia Energética mínima para ventiladores de pared, pedestal, piso o de mesa
Diámetro de las aspas (m)
Valor de Eficacia Energética mínima
(m3/(minW))
Mayor que 0,1016 (4 in) y menor o igual que 0,3048 (12 in)
0,30
Mayor que 0,3048 (12 in) y menor o igual que 1,52 (60 in)
0,65
 
5.2 Eficacia Energética para ventiladores de techo
Todos los ventiladores de techo sujetos al cumplimiento de este Proyecto de Norma Oficial Mexicana deben cumplir con una Eficacia Energética mínima igual o mayor que la especificada de acuerdo con el diámetro de las aspas correspondiente:
Tabla 2. Eficacia Energética mínima para ventiladores de techo
Diámetro de las aspas (m)
Valor de Eficacia Energética mínima
(m3/(minW))
Mayor que 0,9144 (36 in) y menor o igual que 2,130 (84 in)
1,80
 
5.3 Seguridad al usuario
Los ventiladores comprendidos dentro del campo de aplicación del presente Proyecto de Norma Oficial Mexicana deben ser diseñados y construidos de tal forma que, en uso normal, funcionen sin provocar daños a personas o al área que lo rodea, aun en el caso de un descuido como puede ocurrir en uso normal. Las pruebas de seguridad de los ventiladores objeto de este Proyecto de Norma Oficial Mexicana, se realizan de conformidad a lo previsto en el inciso 7.3.
6. Muestreo
Está sujeto a lo dispuesto en el capítulo 11 del presente Proyecto de Norma Oficial Mexicana.
7. Métodos de prueba
7.1 Pruebas requeridas para ventiladores de pared, pedestal, piso y de mesa
7.1.1 Condiciones de prueba
Antes de iniciar el método de prueba, el ventilador y sus accesorios se ajustarán de acuerdo con las instrucciones del fabricante para un funcionamiento normal. Cualquier control se debe configurar para el máximo flujo de aire continuo, a menos que las instrucciones del fabricante indiquen lo contrario. Cualquier otra función como luminarias, purificadores, humificadores, calentadores, si es que los incluyen, deben ser apagados.
7.1.1.1 Tensión de alimentación y frecuencia
El método de prueba se debe realizar a la tensión de 127 V ± 1%; y a la frecuencia 60 Hz ± 1% y con una distorsión armónica total < del 5%.
La medición de tensión eléctrica debe cumplir con una incertidumbre asociada < 2,0 %. Todo con un nivel de confianza de 95,0 % (factor de cobertura k = 2,0).
7.1.1.2 Condiciones ambientales de la cámara de prueba
Las condiciones ambientales para la realización de las pruebas deben ser las siguientes:
-      Temperatura: 20 ºC ± 5 ºC
-      Humedad relativa: 50 % ± 30 %
Se medirán las temperaturas de bulbo seco y húmedo con termómetros u otros instrumentos con precisiones ± 1 ° C y resolución de 0,1 ° C.
7.1.1.3 Acondicionamiento del equipo de prueba
El equipo de medición que se utilizará para las pruebas deberá almacenarse durante al menos 16 h en las condiciones atmosféricas especificadas en el inciso 7.1.1.2 antes de la prueba
7.1.2 Instalación
El ventilador se debe probar en una cámara de prueba que tenga las siguientes dimensiones; longitud: 4,5 m para el tamaño de barrido no mayor de 0,4 m y 6,0 m para el tamaño de barrido superior a 0,4 m, ancho: 4,5 m, altura: 3,0 m. Para las dimensiones descritas anteriormente, se permite una tolerancia de ± 0,015 m.
La cámara de prueba debe estar debidamente protegida de las corrientes de aire externas.
La cámara de prueba debe estar libre de obstrucciones distintas del soporte en el que se mantiene el ventilador.
Colocar las mesas o estantes para instrumentos eléctricos en el lado opuesto del ventilador al plano de prueba, más allá de una distancia de 0,9 m del plano de las aspas del ventilador.
Cualquier equipo de aire acondicionado que se utilice en la cámara de prueba, no debe influir en el movimiento del aire en la cámara de prueba mientras se esté realizando el método de prueba.
El movimiento del aire se debe medir mediante anemómetro de álabes o hilo caliente adecuados para el rango de velocidades por medir y con una exactitud de ± 2 %. Se deben utilizar al menos 4 anemómetros de álabes o hilo caliente con un diámetro interno no superior a 0,1 m.
 
Se puede utilizar un mayor número de anemómetros para reducir el tiempo necesario para trazar el mapa del flujo de aire del ventilador sometido a prueba. Se debe tener cuidado de utilizar un número par de anemómetros.
7.1.3 Colocación del equipo de prueba
Colocar el ventilador en la cámara de prueba de la manera siguiente:
La distancia desde el centro geométrico de las aspas del ventilador o de la salida de aire hasta el suelo será como mínimo:
-      1,2 m para el tamaño del barrido, no mayor que 0,4 m; o
-      1,5 m para el tamaño del barrido, mayor que 0,4 m.
La distancia a la pared trasera desde el plano del aspa para los ventiladores debe ser del al menos 1,2 m.
La distancia del plano de la salida de aire a la pared frontal debe ser como mínimo:
-      1,8 m para el tamaño de barrido, no mayor que 0,4 m; o
-      4,0 m para el tamaño de barrido, mayor que 0,4 m.
La distancia desde el centro geométrico de la salida de aire o del aspa a las paredes laterales debe ser de al menos 1,8 m.
Cuando se prueben los ventiladores de pared con soporte, deben montarse en una tabla de madera plana vertical de 1,0 m × 1,0 m de espesor de 0,02 m ± 0,001 m.
El plano de los anemómetros de álabes o hilo caliente es paralelo al plano del aspa. La distancia entre los dos planos es 3 veces el tamaño de barrido con una tolerancia de ± 0,015 m.
NOTA: Es posible que la colocación del equipo se realice de forma central, cuando el tamaño del barrido sea mayor que 1,8 m.
7.1.4 Procedimiento para la medición del caudal de aire y la potencia
Antes de iniciar cada método de prueba, el ventilador debe ser acondicionado durante 30 min según lo dispuesto en el inciso 7.1.1 pero con mecanismos oscilantes y persianas móviles, si es que las tiene, no deben estar en funcionamiento.
Antes de comenzar la prueba, se debe comprobar la distribución del flujo de aire para determinar si se ajusta dentro de los límites de la cámara de prueba tanto en el eje-Y como en el eje-X.
Las mediciones se deben llevar a cabo con el ventilador funcionando a la velocidad máxima a la tensión de prueba, con la rejilla, si está provista en su posición de uso normal y con el mecanismo oscilante, si lo hubiere, desconectado. En el caso del ventilador de piso, la rejilla móvil se retira.
Los álabes o el hilo caliente del anemómetro se deben mover tanto horizontal como verticalmente con respecto al eje horizontal de las aspas del ventilador, siendo el movimiento en ángulo recto respecto a este eje y extensible en ambas direcciones. El eje de los álabes o el hilo caliente del anemómetro debe estar siempre paralelo al eje horizontal de las aspas del ventilador. En el Apéndice A se muestra un ejemplo de colocación de 4 anemómetros en dirección horizontal y vertical (ver Figura A.3).
Las mediciones de la velocidad del aire en cada una de las cuatro direcciones se deben iniciar en un punto situado a 0,02 m del eje de las aspas del ventilador y progresan horizontal y verticalmente hasta el eje de las aspas del ventilador en incrementos de 0,04 m. Las mediciones continúan en los incrementos de 0,04 m hasta que la velocidad promedio del aire en cada una de las cuatro direcciones descienda por debajo de 0,24 m/min.
Nota. Las mediciones de velocidad del aire indicadas tanto en el eje-Y como en el eje-X, se realizan situando el eje central de los anemómetros en las distancias indicadas.
La velocidad promedio del aire será el promedio de las mediciones realizadas durante un periodo de 60 s utilizando una tasa de actualización no menor que 2 Hz. El eje de las aspas del ventilador debe estar en posición horizontal durante el método de prueba.
La velocidad promedio del aire a través de cada anillo es el promedio de las 8 velocidades del aire obtenidas en cada posición del anemómetro tomadas en el eje horizontal y en el eje vertical en cada uno de los radios interior y exterior del anillo. El radio medio de cada anillo es igual al promedio de los radios interior y exterior del anillo. Las velocidades promedio del aire por debajo de 0,24 m/min son descartadas.
 
La potencia de entrada se mide con el ventilador conectado a la fuente de alimentación con la tensión y la frecuencia indicada en el inciso 7.1.1.1. En caso de incluir condensadores asociados al ventilador se deben mantener en el circuito. En caso de incluir regulador, se ajustará al máximo nivel y el mecanismo oscilante y la rejilla móvil, en su caso, estarán deshabilitados. Las Luminarias, en caso de contenerlas, deben ser desconectadas.
7.1.5 Determinación del caudal de aire y de la Eficacia Energética del ventilador
El caudal de aire debe ser determinado a través de la utilización de los anemómetros dispuestos de acuerdo con la Figura A.3.
Para cada anillo que tenga una velocidad promedio del aire igual o mayor que 0,24 m/s, el producto del área del anillo y la velocidad promedio del aire a través de ese anillo, se debe considerar como la entrega total de aire a través de ese anillo.
A los efectos del presente Proyecto de Norma Oficial Mexicana, la suma de las entregas de aire a través de todos los anillos se debe considerar como el caudal medido del ventilador.
La Eficacia Energética del ventilador está determinada por el caudal de aire medido dividido entre la potencia de entrada del ventilador y expresado en m3/minW
EE = q / P
Donde:
EE   la Eficacia Energética del ventilador correspondiente a la velocidad máxima expresada en m3/minW.
q     el caudal de aire en la velocidad máxima del ventilador expresado en m3/min.
P     la potencia consumida por el ventilador durante el funcionamiento a la velocidad máxima, expresada en W.
7.2 Pruebas requeridas para ventiladores de techo
7.2.1 Condiciones de prueba
Las mediciones se deben realizar con las lámparas apagadas para los ventiladores que posean luminarias integradas, con la o las lámparas colocadas y armado en su condición normal de uso.
7.2.1.1 Tensión de alimentación y frecuencia
El método de prueba se debe realizar a la tensión de 127 V ± 1%; y a la frecuencia 60 Hz ± 1% y con una distorsión armónica total < del 5 %.
Las mediciones de tensión eléctrica deben cumplir con una incertidumbre asociada < 2,0 %. Todo con un nivel de confianza de 95,0 % (factor de cobertura k = 2,0).
7.2.1.2 Condiciones ambientales de la cámara de prueba
Las condiciones ambientales requeridas para la realización de las pruebas son las siguientes:
-      Temperatura: 20 ºC ± 5 ºC
-      Humedad relativa: 50 % ± 30 %
Se medirán las temperaturas de bulbo seco y húmedo con termómetros u otros instrumentos con precisiones ± 1 ° C y resolución de 0,5 ° C.
7.2.1.3 Acondicionamiento del equipo de prueba
El equipo de medición que se utilizará para las pruebas deberá almacenarse durante al menos 16 h en las condiciones atmosféricas especificadas en el inciso 7.2.1.2 antes de la prueba
7.2.2 Instalación
El ventilador se debe probar en una cámara de prueba con las siguientes dimensiones: longitud: 4,5 m, ancho: 4,5 m, altura: 3,0 m, ver Apéndice A. Para las dimensiones descritas anteriormente, se permite una tolerancia de ± 0,015 m.
 
La parte superior de la cámara de prueba debe ser cubierta por la tabla, excepto en el caso de una abertura circular situada en el centro (abertura superior), el diámetro (D) de la abertura superior estará entre 1,1 y 1,2 veces el barrido de las aspas. La tabla superior en la que se encuentra la abertura superior no debe tener más de 0,006 m de espesor. El fondo de la cámara de prueba se encuentra a 0,045 m del suelo, para dejar un espacio adecuado para la salida de aire.
Las lecturas se deben tomar desde una posición entre la cámara de prueba y la pantalla exterior, y en este espacio puede haber un pequeño estante para los instrumentos eléctricos. Con excepción de éstos, el espacio entre la cámara de prueba y la pantalla exterior y el espacio dentro de la cámara de prueba debe estar libre de toda obstrucción, y ningún aparato de acondicionamiento (incluido el de calefacción o enfriamiento) debe influir en el movimiento de aire en la cámara de prueba mientras se esté realizando la prueba.
El cuarto en el que se establezca la cámara de prueba y la pantalla exterior debe estar adecuadamente protegido contra las corrientes de aire extrañas.
Todo techo exterior a la cámara de prueba o cualquier viga que sobresalga y que pueda interferir con el flujo de aire, debe estar a no menos de 1,0 m por encima de la abertura superior, es decir, a no menos de 4,0 m del nivel del suelo en este punto.
Las distancias entre las paredes de la cámara de prueba y las paredes de la pantalla exterior deben ser de 1,0 m a 1,25 m.
El ventilador debe colocarse a una altura tal que el plano de las aspas del ventilador esté a 3,0 ± 0,01 m del nivel del suelo y se encuentre en el plano del borde superior la tabla que contiene la abertura superior en el techo de la cámara de prueba.
El movimiento de aire se debe medir mediante anemómetros de álabes o hilo caliente que tengan un diámetro interno no mayor que 0,1 m.
7.2.3 Colocación del equipo de prueba
El plano de las aspas del ventilador se encuentra en el plano del borde superior de la tabla que contiene la abertura superior en el techo de la cámara de prueba.
Sobre el ventilador del techo se instala una placa plana cuyo tamaño será entre 1,1 y 1,2 veces el diámetro de las aspas. La distancia entre la placa y el plano de las aspas del ventilador se determina por la distancia entre el plano de las aspas del ventilador y el techo después de que el ventilador del techo se haya instalado de conformidad con las instrucciones de uso.
El plano del álabe o hilo caliente del anemómetro es paralelo al plano de las aspas del ventilador. Los anemómetros se deben mover en cualquier dirección a lo largo de las dos diagonales de la cámara de prueba en un plano de prueba situado a 1,5 m ± 0,01 m por debajo del plano de las aspas del ventilador. Los anemómetros se deben apoyar de manera que causen la menor obstrucción posible al flujo de aire.
7.2.4 Procedimiento para la medición del caudal de aire y la potencia
Antes de iniciar cada método de prueba, el ventilador debe ser acondicionado durante 30 min según lo dispuesto en el inciso 7.2.1 pero con mecanismos oscilantes y persianas móviles, si es que las tiene, no deben estar en funcionamiento. Las mediciones se deben llevar a cabo con el ventilador funcionando a velocidad máxima a la tensión de prueba.
Las mediciones de la velocidad del aire en cada una de las cuatro direcciones comenzarán en un punto situado a 0,04 m del eje de las aspas del ventilador y su progreso debe realizase horizontalmente hasta el eje de las aspas del ventilador en incrementos de 0,08 m a lo largo de las semi-diagonales de la cámara de prueba, ver Apéndice A (3 a A, 3 a B, 3 a AA, y 3 a BB en la Figura A.2). Las mediciones deben continuar en los incrementos de 0,08 m hasta que la velocidad del aire en cada una de las cuatro direcciones sea inferior a 0,9 m/min.
La velocidad promedio del aire será el promedio de las mediciones realizadas durante un periodo de 60 s utilizando una tasa de actualización no menor que 2 Hz.
La velocidad promedio del aire a través de cada anillo es el promedio de las 8 velocidades del aire obtenidas en cada posición del anemómetro tomadas en el eje horizontal y en el eje vertical en cada uno de los radios interior y exterior del anillo. El radio medio de cada anillo es igual al promedio de los radios interior y exterior del anillo. Las velocidades promedio del aire por debajo de 0,9 m/min son descartadas.
 
La potencia de entrada se mide con el ventilador conectado a la fuente de alimentación con la tensión y la frecuencia indicada en el inciso 7.2.1.1. En caso de incluir condensadores asociados al ventilador se deben mantener en el circuito. En caso de incluir regulador, se ajustará al máximo nivel y el mecanismo oscilante y la rejilla móvil, en su caso, estarán deshabilitados. Las Luminarias, en caso de contenerlas, deben ser desconectadas.
7.2.5 Determinación del caudal de aire y de la Eficacia Energética del ventilador
Para cada anillo que tenga una velocidad promedio del aire igual o superior a 0,9 m/s, el producto del área del anillo y la velocidad promedio del aire a través de ese anillo, se tomará como la entrega de aire a través de ese anillo.
A los efectos del presente Proyecto de Norma Oficial Mexicana, la suma de las entregas de aire a través de todos los anillos se debe considerar como el caudal medido del ventilador.
La Eficacia Energética del ventilador está determinada por el caudal de aire medido dividido entre la potencia de entrada del ventilador y será expresado en m3/minW
EE = q / P
Donde:
EE   la Eficacia Energética del ventilador correspondiente a la velocidad máxima expresada en m3/minW;
q     el caudal de aire en la velocidad máxima del ventilador expresado en m3/min;
P     la potencia consumida por el ventilador durante el funcionamiento a la velocidad máxima, expresada en W.
7.3 Seguridad al usuario
Los ventiladores comprendidos dentro del campo de aplicación del presente Proyecto de Norma Oficial Mexicana deben cumplir con los requisitos de seguridad y métodos de prueba aplicables que se especifican en la Norma Mexicana NMX-J-521/1-ANCE-2012, así como con los requisitos que en lo particular apliquen según lo dispuesto en la Norma Mexicana NMX-J-521/2-80-ANCE-2014 o las que las sustituyan.
8. Criterios de aceptación
Para cumplir con este Proyecto de Norma Oficial Mexicana, los resultados de las pruebas de laboratorio descritas en el capítulo 7, de cada uno de los ventiladores comprendidos en el campo de aplicación que integran la muestra seleccionada, deben cumplir con las especificaciones aplicables del capítulo 5, de acuerdo a cada tipo de producto. Los resultados se expresan con uno o dos dígitos enteros y dos decimales, es decir deberá cumplir con las siguientes condiciones:
a) La Eficacia Energética del ventilador obtenida conforme a las pruebas de laboratorio del capítulo 7, debe ser igual o mayor que el valor de Eficacia Energética mínima establecida en las tablas 1 y 2 del capítulo 5 según corresponda para cada tipo de ventilador y diámetro.
b) La Eficacia Energética del ventilador obtenida en cualquier prueba (certificación inicial, renovación, muestreo, ampliación, etc.) puede ser menor que el valor indicado en la etiqueta de Eficacia Energética y sólo se permite un decremento de 5 % con respecto al valor ostentado.
9. Etiquetado
Los ventiladores objeto de este Proyecto de Norma Oficial Mexicana que se comercialicen en los Estados Unidos Mexicanos deben llevar una etiqueta que proporcione información relacionada con la Eficacia Energética que presenta el producto, además de la información básica de los modelos, para ser comparados con la de otros de su misma capacidad.
Con base en pruebas, el titular (fabricante, importador o comercializador) es quien establece el valor de Eficacia Energética (EE), que debe utilizarse en la etiqueta del modelo o familia que desee certificar.
9.1 Permanencia
La etiqueta debe ir adherida o colocada en el producto o empaque, ya sea por medio de un engomado, o en su defecto, por medio de un cordón, en cuyo caso, la etiqueta debe tener la rigidez suficiente para que no se flexione por su propio peso. En cualquiera de los casos no debe removerse del producto o empaque, hasta después de que éste haya sido adquirido por el consumidor final.
 
9.2 Información
La etiqueta de Eficacia Energética de los ventiladores debe marcarse en forma legible e indeleble y debe contener la información que se lista a continuación y de acuerdo con la distribución e información que se muestra en el modelo de etiqueta en la Figura 1.
9.2.1 La leyenda: "EFICACIA ENERGÉTICA", en mayúsculas y tipo negrita.
9.2.2 La leyenda: "VENTILADOR DE MESA", "VENTILADOR DE PARED", "VENTILADOR DE PEDESTAL", "VENTILADOR DE PISO ", "VENTILADOR DE TECHO" según sea el caso, en mayúsculas y tipo negrita.
9.2.3 La leyenda "Determinado como se establece en el: PROY-NOM-034-ENER/SE-2020", en tipo normal.
9.2.4 La leyenda "Marca:", en tipo negrita, seguida de la marca del ventilador, en tipo normal.
9.2.5 La leyenda "Modelo:", en tipo negrita, seguida de la marca del ventilador, en tipo normal.
9.2.6 La leyenda "Caudal:", en tipo negrita, seguida del valor del caudal del ventilador, expresada en m3/min, en tipo normal.
9.2.7 La leyenda "Diámetro de las aspas:", en tipo negrita, seguida del valor del diámetro del ventilador, expresada en metros (m).

Figura 1 - Etiqueta de Eficacia Energética para ventiladores
 
9.2.8 La leyenda "EE establecida en la norma (xxx)", en tipo negrita, seguida de la EE mínima conforme a lo establecido en el capítulo 5 del presente Proyecto de Norma Oficial Mexicana, expresado a dos decimales
9.2.9 La leyenda "EE de este equipo (xxx)", en tipo negrita, seguida de la EE, en tipo negrita, expresado a dos decimales aplicando la regla del redondeo progresivo, determinado por el fabricante, importador o comercializador de este ventilador, con base a un informe de pruebas de un laboratorio acreditado y aprobado, expresada en m3/minW, en tipo negrita, en la fila posterior se debe expresar entre paréntesis el EE de la unidad expresada en m3/minW, en tipo negrita.
9.2.10 La leyenda "AHORRO DE ENERGÍA" en mayúsculas y tipo negritas.
9.2.11 Colocar una escala horizontal que indica el ahorro de energía en valores de porcentaje, de 0% al 100% en incrementos de 10%.
9.2.12 A un costado de la escala, en 0% debe colocarse la leyenda "Menor Ahorro", en tipo negrita.
9.2.13 A un costado de la escala, en 100% debe colocarse la leyenda "Mayor Ahorro", en tipo negrita.
9.2.14 Sobre la escala se debe colocar una flecha en color gris oscuro que indique el porcentaje de ahorro de energía que tiene el producto (uno o dos números enteros y un decimal aplicando la regla del redondeo progresivo), en tipo negrita, obtenido con el siguiente cálculo:
Ahorro de Energía = (1 - EE establecida en la Norma / EE de este equipo) × 100
9.2.15 La leyenda "Antes de comprar, compare los valores de Eficacia Energética con otros productos de características similares", en tipo negrita.
9.2.16 La leyenda "IMPORTANTE", en tipo negrita.
9.2.17 La leyenda "El consumo real de energía dependerá de los hábitos de uso y localización del aparato", en tipo normal.
9.2.18 La leyenda "La etiqueta no debe retirarse del aparato hasta que haya sido adquirido por el consumidor final", en tipo negrita.
9.3 Dimensiones
Las dimensiones de la etiqueta son las siguientes:
Alto: 13,0 cm ± 1 cm
Ancho: 10,0 cm ± 1 cm
9.4 Distribución de la información y de los colores
9.4.1 Toda la información descrita en el inciso 9.2, así como las líneas y escala deben ser de color negro. El resto de la etiqueta debe ser de color amarillo.
10. Vigilancia
La vigilancia del presente Proyecto de Norma Oficial Mexicana estará a cargo de la Secretaría de Energía a través la Comisión Nacional para el Uso Eficiente de la Energía; la Secretaría de Economía y la Procuraduría Federal del Consumidor, cada una conforme a sus respectivas atribuciones.
El incumplimiento con el presente Proyecto de Norma Oficial Mexicana será sancionado conforme a lo dispuesto en la Ley Federal sobre Metrología y Normalización, su reglamento y demás disposiciones legales aplicables.
11. Procedimiento para la evaluación de la conformidad
La evaluación de la conformidad de los ventiladores de techo, pared, pedestal, piso y de mesa con las especificaciones del presente Proyecto de Norma Oficial Mexicana, en adelante PROY-NOM, se debe realizar por personas acreditadas y aprobadas en términos de la Ley Federal de Metrología y Normalización y su Reglamento.
De conformidad con los artículos 68 primer párrafo, 70 fracción I y 73 de la Ley Federal sobre Metrología y Normalización y artículos 79 fracciones I y II y 87 de su Reglamento, se establece el presente Procedimiento para la Evaluación de la Conformidad.
11.1. Objetivo
Este Procedimiento para la Evaluación de la Conformidad (PEC) se establece para facilitar y orientar a los organismos de certificación, laboratorios de prueba, fabricantes, importadores y comercializadores, en la aplicación de este Proyecto de Norma Oficial Mexicana, una vez que sea publicado como norma definitiva.
 
11.2. Referencias
Para la correcta aplicación de este PEC es necesario consultar los siguientes documentos vigentes:
-      Ley Federal sobre Metrología y Normalización (LFMN).
-      Reglamento de la Ley Federal sobre Metrología y Normalización (RLFMN).
11.3. Definiciones
Para los efectos de este PEC, se entiende por:
11.3.1 Ampliación o reducción del certificado de la conformidad de producto
Cualquier modificación al certificado de producto durante su vigencia en modelo, marca, país de origen de fabricación, bodega y especificaciones, siempre y cuando se cumplan con los criterios de agrupación de familia indicado en el inciso 11.5.5.2. No se permite la ampliación de titularidad.
11.3.2 Autoridad competente
La Secretaría de Energía (Sener) a través de la Comisión Nacional para el Uso Eficiente de la Energía (Conuee); y la Secretaría de Economía (SE), conforme a sus atribuciones y en el ámbito de sus respectivas competencias.
11.3.3 Cancelación del certificado de la conformidad del producto
Acto por medio del cual el organismo de certificación de producto invalida de forma definitiva el certificado de la conformidad de producto.
11.3.4 Certificado de la conformidad de producto
Documento mediante el cual el organismo de certificación de producto, hace constar que un producto o una familia de productos determinados cumple con las especificaciones establecidas en el PROY-NOM. Para el caso de un certificado expedido con una vigencia en tiempo, el organismo de certificación de producto debe comprobar que durante la vigencia del certificado el producto cumple con lo dispuesto por la norma, en caso contrario, se debe cancelar la vigencia de dicho certificado.
11.3.5 Especificaciones técnicas
Información técnica de los productos que describe que éstos cumplen con los criterios de agrupación de familia de producto y que ayudan a demostrar cumplimiento con las especificaciones establecidas en el PROY-NOM.
11.3.6 Evaluación de la conformidad
La determinación del grado de cumplimiento con el presente PROY-NOM.
11.3.7 Familia de productos
Un grupo de productos del mismo tipo en el que las variantes son de carácter estético o de apariencia, pero conservan las características de diseño que aseguran el cumplimiento con el PROY-NOM y que cumplan con lo establecido en el inciso 11.5.5.2.
11.3.8 Informe de certificación del sistema de calidad
El que otorga un organismo de certificación de sistemas de aseguramiento de la calidad, a efecto de hacer constar que el sistema de aseguramiento de calidad del producto que se pretende certificar, contempla procedimientos para asegurar el cumplimiento con el PROY-NOM.
11.3.9 Informe de pruebas
Documento que emite un laboratorio de pruebas acreditado y aprobado en los términos de la LFMN y su Reglamento, mediante el cual se presentan los resultados obtenidos en las pruebas realizadas a la muestra seleccionada. La vigencia del informe de pruebas es de noventa días a partir de su fecha de emisión.
11.3.10 Laboratorio de pruebas
Persona física o moral, acreditada y aprobada conforme lo establece la LFMN y su Reglamento, para realizar pruebas de acuerdo con el PROY-NOM.
11.3.11 Organismo de certificación de producto
Persona moral, acreditada y aprobada conforme a la LFMN y su Reglamento, que tenga por objeto realizar funciones de certificación a los productos referidos en el PROY-NOM.
 
11.3.12 Organismo de certificación de sistemas de aseguramiento de la calidad
Persona moral, acreditada y aprobada conforme a la LFMN y su Reglamento, que tenga por objeto realizar funciones de certificación de sistemas de aseguramiento de la calidad.
11.3.13 Producto
Los ventiladores que se indican en el campo de aplicación del presente PROY-NOM.
11.3.14 Renovación del certificado de la conformidad del producto
Emisión de un nuevo certificado de conformidad, normalmente por un periodo igual al que se le otorgó en la certificación inicial, previo seguimiento al cumplimiento con los requisitos establecidos en el PROY-NOM.
11.3.15 Seguimiento
Comprobación a la que están sujetos los productos certificados de acuerdo con el PROY-NOM, así como el sistema de aseguramiento de la calidad, a los que se les otorgó un certificado de la conformidad con el objeto de constatar que continúan cumpliendo con el PROY-NOM y del que depende la vigencia de dicha certificación.
11.3.16 Suspensión del certificado de la conformidad del producto
Acto mediante el cual el organismo de certificación de producto interrumpe la validez, de manera temporal, parcial o total, del certificado de la conformidad del producto.
11.4 Disposiciones generales
11.4.1 El presente PEC es aplicable a los productos de fabricación nacional o de importación que se comercialicen, así como las que se distribuyan o suministren con fines promocionales en el territorio nacional.
11.4.2 La evaluación de la conformidad debe realizarse por laboratorios de prueba y organismos de certificación de producto, acreditados y aprobados conforme a lo dispuesto en la LFMN y su Reglamento.
11.4.3 La Secretaría de Energía a través de la Comisión Nacional para el Uso Eficiente de la Energía y la Secretaría de Economía serán las autoridades competentes para resolver cualquier controversia en la interpretación del presente PEC.
11.5 Procedimiento
11.5.1 El fabricante, importador o comercializador (el interesado), debe solicitar la evaluación de la conformidad con el PROY-NOM al organismo de certificación de producto, cuando lo requiera para dar cumplimiento a las disposiciones legales o para otros fines de su propio interés y el organismo de certificación de producto entregará al interesado la solicitud de servicios de certificación, el contrato de prestación de servicios y la información necesaria para llevar a cabo el proceso de certificación de producto.
11.5.2 Una vez que el interesado ha analizado la información proporcionada por el organismo de certificación de producto, presentará la solicitud con la información respectiva, así como el contrato de prestación de servicios de certificación que celebra con dicho organismo.
11.5.3 El interesado debe elegir un laboratorio de pruebas acreditado y aprobado, con objeto de someter a pruebas de laboratorio una muestra. El organismo de certificación de producto, debe dar respuesta a las solicitudes de certificación, renovación, cambios en el alcance de la certificación (tales como modelo, marca, etc.).
11.5.4 Para obtener el certificado de la conformidad de producto, el interesado puede optar por la modalidad de certificación mediante pruebas periódicas al producto (por modelo o por familia), o por la modalidad de certificación mediante el sistema de gestión de la calidad de la línea de producción (por modelo o por familia) y, para tal efecto, debe presentar como mínimo la siguiente documentación al organismo de certificación de producto, por cada modelo que representa a la familia:
11.5.4.1 Para la modalidad de certificación mediante pruebas periódicas al producto (modalidad 1):
a)    Original del (los) informe(s) de pruebas realizadas por un laboratorio de pruebas acreditado y aprobado;
b)    Copia del certificado de cumplimiento otorgado con anterioridad, en su caso;
c)    Declaración bajo protesta de decir verdad, por medio de la cual el interesado manifestará que el producto presentado a pruebas de laboratorio es representativo de la familia que se pretende certificar, de acuerdo con 11.3.5 y 11.5.3.2.
 
d)    Fotografías o representación gráfica del producto.
e)    Etiqueta de Eficacia Energética conforme al capítulo 9
f)     Diagrama eléctrico
g)    Instructivo o manual de uso en idioma español
11.5.4.2 Para la modalidad de certificación mediante el sistema de gestión de la calidad de la línea de producción (modalidad 2):
a)    Los descritos en el inciso 11.5.4.1.
b)    Copia del certificado vigente del sistema de gestión de la calidad que incluya la línea de producción, expedido por un organismo de certificación de sistemas de aseguramiento de la calidad.
c)    Informe de certificación del sistema de calidad que indique que se cuenta con procedimiento de verificación al proceso de producción.
Tratándose de empresas con más de dos plantas de producción, deberán presentar, el certificado del sistema de aseguramiento de calidad de cada planta. Los certificados PROY-NOM expedidos bajo esta modalidad sólo serán válidos para los productos de las plantas que tengan sistema de aseguramiento de la calidad certificado. El certificado PROY-NOM sólo amparará a los productos de las plantas que cuenten con el sistema de aseguramiento de la calidad certificado.
11.5.5 Muestreo
Se requiere aplicar el siguiente plan de muestreo a cada modelo o familia de los ventiladores de techo, pared, pedestal, piso y de mesa, conforme a lo establecido en el numeral 11.5.5.2.
11.5.5.1 Para efectos de muestreo de los ventiladores de techo, pared, pedestal, piso y de mesa, se deben seleccionar de manera aleatoria, una sola muestra de un aparato con opción a una muestra testigo.
Las pruebas de Eficacia Energética del ventilador y pruebas de seguridad al usuario, se realizan a un mismo equipo.
11.5.5.2 Los ventiladores pueden considerarse como familia si, dos o más productos cumplen con los requisitos mencionados a continuación:
a)    Mismo tipo de ventilador:
-     Mesa
-     Pared
-     Pedestal
-     Piso
-     Techo
Para ventiladores denominados 3 en 1, se podrán agrupar en familia únicamente con ventiladores del tipo pedestal y deben ser probados conforme a las pruebas previstas para este tipo de ventilador.
b)    Misma potencia.
c)    Mismo tamaño (diámetro de las aspas).
d)    Mismo material de la carcasa del ventilador:
-     Metálico
-     No Metálico
e)    Misma construcción en cubiertas y/o carcasas. Se permiten cubiertas con diferentes tipos de ranuras siempre y cuando sean evaluadas por pruebas complementarias de choque eléctrico, riesgos mecánicos y calentamiento (seguridad).
f)     Misma marca comercial.
11.5.6 Vigencia de los certificados de cumplimiento del producto.
11.5.6.1 Un año a partir de la fecha de su emisión, para los certificados de la conformidad con seguimiento mediante pruebas periódicas al producto.
11.5.6.2 Tres años a partir de la fecha de emisión, para los certificados de la conformidad con seguimiento mediante el sistema de aseguramiento de la calidad de la línea de producción.
 
11.5.7 Seguimiento
11.5.7.1 El organismo de certificación de producto debe realizar el seguimiento del cumplimiento con el PROY-NOM, de los productos certificados, como mínimo una vez al año, tanto de manera documental como por revisión y muestreo del producto certificado. El seguimiento se debe realizar en una muestra tomada como se especifica en el inciso 11.5.5, en la fábrica, bodegas o en lugares de comercialización del producto en el territorio nacional una vez al año.
11.5.7.1.1 En la modalidad de certificación con seguimiento mediante pruebas periódicas al producto, el seguimiento se debe realizar en una muestra seleccionada por el Organismo de Certificación para Producto, de un modelo que integre la familia, tomada como se especifica en el inciso 11.5.5, en la fábrica o bodegas o en lugares de comercialización del producto en el territorio nacional una vez al año.
11.5.7.1.2 En la modalidad de certificación mediante revisión del sistema de gestión de la calidad de la línea de producción, el seguimiento se debe realizar anualmente en el lugar donde se manufactura el producto. El organismo de certificación de producto debe verificar el sistema de control de la calidad de las líneas de producción en las que se fabrican los productos y debe determinar, por medio de pruebas realizadas en la fábrica, siempre y cuando el laboratorio cuente con la acreditación y aprobación correspondiente, que los productos certificados siguen en cumplimiento con el PROY-NOM. Se deben revisar también los resultados de la última auditoría de seguimiento aplicado por el organismo de certificación de sistemas de gestión de la calidad, acreditado.
Para la certificación inicial, se debe de realizar una visita previa para verificación del sistema de calidad de la línea de producción. El muestreo puede ser realizado en esta visita.
11.5.7.1.3 La muestra para seguimiento debe integrarse por miembros de la familia diferentes a los que se probaron para la certificación.
11.5.7.1.4 De los resultados del seguimiento correspondiente, el Organismo de Certificación de Producto dictamina la suspensión, cancelación o renovación del certificado de cumplimiento del producto.
11.5.7.1.5 En caso que el Organismo de Certificación de Producto determine la suspensión o cancelación del certificado, ya sea por el incumplimiento del producto con el PROY-NOM o cuando el seguimiento no pueda llevarse a cabo por causa imputable a la empresa a verificar, el Organismo de Certificación de Producto debe dar aviso al titular del certificado.
11.6 Suspensión y cancelación del certificado de la conformidad de producto
Sin perjuicio de las condiciones contractuales de la prestación del servicio de certificación, el organismo de certificación de producto debe aplicar los criterios siguientes para suspender o cancelar un certificado.
11.6.1 Se procederá a la suspensión del certificado:
a)    Por incumplimiento con los requisitos de información al público establecidos por el PROY-NOM.
b)    Cuando el seguimiento no pueda llevarse a cabo por causas imputables al titular del certificado.
c)    Cuando el titular del certificado no presente al organismo de certificación el informe de pruebas derivado del seguimiento, antes de treinta días naturales contados a partir de la fecha de emisión del informe de pruebas y dentro de la vigencia del certificado.
d)    Por cambios o modificaciones a las especificaciones o diseño de los productos certificados que no hayan sido evaluados por causas imputables al titular del certificado.
e)    Cuando la dependencia lo determine con base en el artículo 112, fracción V de la LFMN y 102 de su Reglamento.
El organismo de certificación de producto debe informar al titular del certificado sobre la suspensión, otorgando un plazo de treinta días naturales para hacer aclaraciones pertinentes o subsanar las deficiencias del producto o del proceso de certificación. Pasado el plazo otorgado y en caso de que no se hayan subsanado los incumplimientos, el organismo de certificación de producto procederá a la cancelación inmediata del certificado de la conformidad del producto.
11.6.2 Se procederá a la cancelación inmediata del certificado:
a)    En caso, por cancelación del certificado del sistema de gestión de la calidad de la línea de producción.
b)    Cuando se detecte falsificación o alteración de documentos relativos a la certificación.
 
c)    A petición del titular de la certificación, siempre y cuando se hayan cumplido las obligaciones contraídas en la certificación, al momento en que se solicita la cancelación.
d)    Cuando se incurra en declaraciones engañosas en el uso del certificado.
e)    Por incumplimiento con especificaciones del PROY-NOM, que no sean aspectos de marcado e información.
f)     Una vez notificada la suspensión, no se corrija el motivo de ésta en el plazo establecido.
g)    Cuando la dependencia lo determine con base en el artículo 112, fracción V de la LFMN y 102 de su Reglamento.
h)    Se hayan efectuado modificaciones sustantivas al producto.
i)     No se cumpla con las características y condiciones establecidas en el certificado.
j)     El documento donde consten los resultados de la evaluación de la conformidad pierda su utilidad o se modifiquen o dejen de existir las circunstancias que dieron origen al mismo, previa petición de parte.
En todos los casos de cancelación se procede a dar aviso a las autoridades correspondientes, informando los motivos de ésta. El organismo de certificación de producto mantendrá el expediente de los productos con certificados cancelados por incumplimiento con el PROY-NOM.
11.7 Renovación
Para obtener la renovación de un certificado de la conformidad del producto en cualquier modalidad que resulte aplicable, se procederá a lo siguiente.
11.7.1 Deberán presentarse los documentos siguientes:
a)    Solicitud de renovación.
b)    Actualización de la información técnica debido a modificaciones en el producto en caso de haber ocurrido.
11.7.2 La renovación estará sujeta a lo siguiente:
a)     Haber cumplido en forma satisfactoria con los seguimientos y pruebas establecidas en el inciso 11.5.5
b)    Que se mantienen las condiciones de la modalidad de certificación, bajo la cual se emitió el certificado de cumplimiento inicial.
Una vez renovado el certificado de la conformidad del producto, se estará sujeto a los seguimientos correspondientes a cada modalidad de certificación, así como las disposiciones aplicables del presente procedimiento para la evaluación de la conformidad.
11.8 Ampliación o reducción del certificado de la conformidad del producto
Una vez otorgado el certificado de la conformidad del producto se puede ampliar, reducir o modificar su alcance, a petición del titular del certificado, siempre y cuando se demuestre que se cumple con los requisitos indicados en el inciso 11.5.5.2 del PROY-NOM, mediante análisis documental y, de ser el caso, pruebas complementarias o pruebas tipo.
Para el caso del presente PROY-NOM queda prohibida la ampliación de la titularidad del certificado de la conformidad del producto.
El titular de la certificación puede ampliar, modificar o reducir en los certificados, modelos, marcas, especificaciones técnicas o domicilios, entre otros, siempre y cuando se cumpla con los criterios generales en materia de certificación y correspondan a la misma familia de productos.
Los certificados emitidos como consecuencia de una ampliación deben quedar condicionados tanto a la vigencia y seguimiento de los certificados de la conformidad del producto iniciales.
Los certificados emitidos podrán contener la totalidad de modelos y marcas del certificado base, o bien una parcialidad de éstos.
Para ampliar, modificar o reducir el alcance del certificado de la conformidad del producto, deben presentarse los documentos siguientes:
a)    Información técnica que justifique los cambios solicitados y que demuestre el cumplimiento con las especificaciones establecidas en el presente PROY-NOM, con los requisitos de agrupación de familia y con la modalidad de certificación correspondiente.
 
b)    En caso de que el producto certificado sufra alguna modificación, el titular del certificado deberá notificarlo al organismo de certificación correspondiente, para que se compruebe que se siga cumpliendo con el PROY-NOM.
11.9. Diversos
11.9.1 La lista de los laboratorios de prueba y los organismos de certificación pueden consultarse en la Entidad Mexicana de Acreditación y en www.gob.mx/Conuee, la dependencia o dependencias competentes, además de que dicha relación aparece publicada en el Diario Oficial de la Federación, pudiéndose consultar también en la página de Internet de la Secretaría de Economía.
11.9.2 Los gastos que se originen por los servicios de certificación y pruebas de laboratorio, por actos de evaluación de la conformidad, son a cargo del usuario conforme a lo establecido en el artículo 91 de la LFMN.
Apéndice A
(Normativo)
Figuras

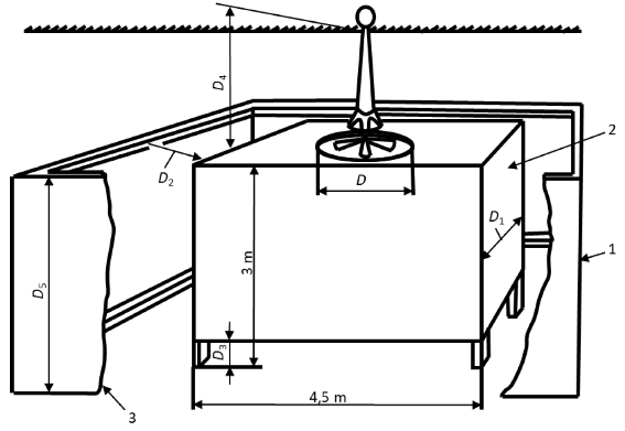
Figura A.1 - Instalación para prueba de ventiladores de techo
Donde:
1     pared exterior
2     cámara de prueba
3      pared exterior (seccionada para mostrar la cámara de prueba)
D1    4,5 m
D2    1,0 m a 1,25 m
D3    0,045 m
D4    altura hasta el techo > 1,0 m
D5    altura de la pared exterior > 3,0 m
 
D     diámetro de la abertura superior

Figura A.2 - Vista superior
Donde:
1     pared exterior
2     cámara de prueba
3     eje vertical del ventilador
4     diámetro de la abertura superior
D2   1,0 m a 1,25 m

 
Figura A.3 - Colocación de anemómetros

Figura A.4-Instalación para ventiladores de pared, pedestal, piso o de mesa
12. Concordancia con Normas Internacionales
Con relación a la Eficacia Energética, al momento de la elaboración de este Proyecto de Norma Oficial Mexicana, se encontró concordancia parcial con la Norma internacional IEC 60879 2019, Comfort fans and regulators for household and similar purposes-Methods for measuring performance.
Con relación a seguridad, al tomarse como referencia a la NMX-J-521/1-ANCE-2012, su concordancia es parcial con la Norma internacional IEC 60335-1, Household and similar electrical appliancesSafety-Part 1: General requeriments ed. 5.0 (2010-05) mientras que para la NMX-J-521/2-80-ANCE-2014 su concordancia es parcial con IEC 60335-2-80, Household and similar electrical appliances-Safety-Part 2-80: Particular requirements for fans ed. 2.2 (2008-09).
13. Bibliografía
NMX-Z-013-SCFI-2015
Guía para la estructuración y redacción de Normas, cuya Declaratoria de Vigencia fue publicada en el Diario Oficial de la Federación el 18 de noviembre de 2015.
AMCA 205-10
Clasificación de eficiencia energética para ventiladores.
IEC 60335-2-80
Safety of household and similar electrical appliances, Part 2-80: Particular requirements for fans.
IEC 60879-2019
Comfort fans and regulators for household and similar purposes-Methods for measuring performance.
UNE-EN 60335-2-80:2005
Aparatos electrodomésticos y análogos. Seguridad. Parte 2-80: Requisitos particulares para ventiladores.
ISO/DIS 12759
Fans-Efficiency classification for fans.
 
Sufragio Efectivo. No Reelección
Ciudad de México, a 15 de enero de 2021.- El Presidente del Comité Consultivo Nacional de Normalización para la Preservación y Uso Racional de los Recursos Energéticos (CCNNPURRE) y Director General de la Comisión Nacional para el Uso Eficiente de la Energía, Odón Demófilo de Buen Rodríguez.- Rúbrica.- El Presidente del Comité Consultivo Nacional de Normalización de la Secretaría de Economía
(CCONNSE) y Director General de Normas de la Secretaría de Economía, Alfonso Guati Rojo Sánchez.- Rúbrica.