NORMA Oficial Mexicana NOM-027-ENER/SCFI-2018, Rendimiento térmico, ahorro de gas y requisitos de seguridad de los calentadores de agua solares y de los calentadores de agua solares con respaldo de un calentador de agua que utiliza como combustible gas L.P. o gas natural. Especificaciones, métodos de prueba y etiquetado.

Al margen un sello con el Escudo Nacional, que dice: Estados Unidos Mexicanos.

NORMA OFICIAL MEXICANA NOM-027-ENER/SCFI-2018, RENDIMIENTO TÉRMICO, AHORRO DE GAS Y REQUISITOS DE SEGURIDAD DE LOS CALENTADORES DE AGUA SOLARES Y DE LOS CALENTADORES DE AGUA SOLARES CON RESPALDO DE UN CALENTADOR DE AGUA QUE UTILIZA COMO COMBUSTIBLE GAS L.P. O GAS NATURAL. ESPECIFICACIONES, MÉTODOS DE PRUEBA Y ETIQUETADO.
ODÓN DEMÓFILO DE BUEN RODRÍGUEZ, Director General de la Comisión Nacional para el Uso Eficiente de la Energía y Presidente del Comité Consultivo Nacional de Normalización para la Preservación y Uso Racional de los Recursos Energéticos y LIC. ALBERTO ULISES ESTEBAN MARINA, Director General de Normas y Presidente del Comité Consultivo Nacional de Normalización de la Secretaría de Economía, con fundamento en los artículos 33, fracción X, 34, fracciones II, XIII y XXXIII de la Ley Orgánica de la Administración Pública Federal; 4 de la Ley Federal de Procedimiento Administrativo; 17, 18, fracciones V, XIV y XIX y 36, fracción IX de la Ley de Transición Energética; 38, fracciones II y IV, 39, fracción V, 40 fracciones I, X, XII y XVIII, 41, y 47, fracción IV y penúltimo párrafo de la Ley Federal sobre Metrología y Normalización; 28, 31, fracción III y 34 del Reglamento de la Ley Federal sobre Metrología y Normalización, y 22, fracciones I, IV, IX, X, XXI y XXV del Reglamento Interior de la Secretaría de Economía; 2 apartado F, fracción II, 8, fracciones XIV, XV y XXX, 39 y 40 del Reglamento Interior de la Secretaría de Energía y el artículo Único del Acuerdo por el que se delegan en el Director General de la Comisión Nacional para el Uso Eficiente de la Energía, las facultades que se indican, publicado en el Diario Oficial de la Federación el día 21 de julio de 2014; y
CONSIDERANDO
Que la Ley Orgánica de la Administración Pública Federal, define las facultades de la Secretaría de Energía, entre las que se encuentra la de expedir normas oficiales mexicanas que promueven la eficiencia energética;
Que la Ley Federal sobre Metrología y Normalización señala como una de las finalidades de las normas oficiales mexicanas el establecimiento de criterios y/o especificaciones que promuevan el mejoramiento del medio ambiente, la preservación de los recursos naturales y salvaguardar la seguridad al usuario;
Que habiéndose cumplido el procedimiento establecido en la Ley Federal sobre Metrología y Normalización para la elaboración de proyectos de Normas Oficiales Mexicanas, el Presidente del Comité Consultivo Nacional de Normalización para la Preservación y Uso Racional de los Recursos Energéticos y el Presidente del Comité Consultivo Nacional de Normalización de la Secretaría de Economía, ordenaron la publicación del Proyecto de Norma Oficial Mexicana PROY-NOM-027-ENER/SCFI-2016, Rendimiento térmico, ahorro de gas y requisitos de seguridad de los calentadores de agua solares y de los calentadores de agua solares con respaldo de un calentador de agua que utiliza como combustible gas L.P. o gas natural. Especificaciones, métodos de prueba y etiquetado, para su consulta pública, lo que se realizó el pasado 22 de agosto de 2016 en el Diario Oficial de la Federación, con el objeto de que los interesados presentaran sus comentarios al proyecto a los citados Comités Consultivos que lo propusieron;
Que durante el plazo de 60 días naturales contados a partir de la fecha de publicación de dicho Proyecto de Norma Oficial Mexicana y la Manifestación de Impacto Regulatorio a que se refiere el artículo 45 de la Ley Federal sobre Metrología y Normalización, estuvo a disposición del público en general para su consulta y que dentro del mismo plazo, los interesados presentaron sus comentarios al proyecto de norma, los cuales fueron analizados por los citados Comités Consultivos, realizándose las modificaciones procedentes, mismas que fueron publicadas en el Diario Oficial de la Federación el 23 de julio de 2018, y
Que la Ley Federal sobre Metrología y Normalización establece que las normas oficiales mexicanas se constituyen como el instrumento idóneo para la prosecución de estos objetivos, por lo tanto, se expide la siguiente:
 
NORMA OFICIAL MEXICANA NOM-027-ENER/SCFI-2018, RENDIMIENTO TÉRMICO, AHORRO DE GAS
Y REQUISITOS DE SEGURIDAD DE LOS CALENTADORES DE AGUA SOLARES Y DE LOS
CALENTADORES DE AGUA SOLARES CON RESPALDO DE UN CALENTADOR DE AGUA QUE UTILIZA
COMO COMBUSTIBLE GAS L.P. O GAS NATURAL. ESPECIFICACIONES, MÉTODOS DE PRUEBA Y
ETIQUETADO
PREFACIO
Esta Norma Oficial Mexicana fue elaborada por el Comité Consultivo Nacional de Normalización para la Preservación y Uso Racional de los Recursos Energéticos (CCNNPURRE) y el Comité Consultivo Nacional de Normalización de la Secretaría de Economía (CCONNSE).
CONTENIDO
1     Objetivo y campo de aplicación
2     Referencias
3     Definiciones
4     Símbolos y abreviaturas
5     Clasificación
5.1.    Calentadores de agua a gas, de respaldo
5.2.    Calentadores de agua solares
6     Especificaciones
6.1     Rendimiento térmico y ahorro de gas
6.2     Seguridad
6.3     Componentes mínimos obligatorios
7     Muestreo
8     Métodos de prueba
8.1     Rendimiento térmico y ahorro de gas
8.2     Métodos de prueba de seguridad
9     Criterios de aceptación
10    Etiquetado
10.1    Permanencia
10.2    Contenido de la etiqueta
10.3    Dimensiones
10.4    Garantía del producto
11    Vigilancia
12    Procedimiento para la evaluación de la conformidad
12.1    Objetivo
12.2    Referencias
12.3    Definiciones
12.4    Disposiciones generales
12.5    Procedimiento y requisitos
12.6    Diversos
13    Sanciones
14    Concordancia con normas internacionales
Apéndice A Normativo-Figuras
Apéndice B Normativo-Manual de operación e instalación
Apéndice C Informativo-Normas técnicas y/o estándares de competencia laboral, que reconocen la competencia técnica de los instaladores de un sistema de calentamiento solar de agua
 
15    Bibliografía
16    Transitorios
1. Objetivo y campo de aplicación
Esta Norma Oficial Mexicana tiene por objeto establecer las especificaciones de rendimiento térmico, de los calentadores de agua solares para uso doméstico y comercial, tipo termosifón, que cuenten con un tanque térmico con una capacidad máxima de 500 L; el ahorro de gas de los calentadores de agua solares con respaldo de un calentador de agua que utiliza como combustible gas L.P. o natural; así como los requisitos de seguridad, etiquetado y los métodos de prueba.
Esta Norma Oficial Mexicana aplica a los calentadores de agua solares y a los calentadores de agua solares con respaldo de un calentador de agua que utiliza como combustible gas L.P. o gas natural, que se comercializan en los Estados Unidos Mexicanos.
2. Referencias
Para la correcta aplicación de esta Norma Oficial Mexicana deben consultarse y aplicarse las siguientes normas vigentes o las que en su caso las sustituyan:
·  NOM-008-SCFI-2002, Sistema general de unidades de medida.
·  NOM-003-ENER-2011, Eficiencia de calentadores de agua para uso doméstico y comercial. Limites, método de prueba y etiquetado.
·  NOM-011-SESH-2012, Calentadores de agua de uso doméstico y comercial que utilizan como combustible Gas L.P. o Gas Natural. Requisitos de seguridad, especificaciones, métodos de prueba, marcado e información comercial.
·  NMX-ES-004-NORMEX-2010, Energía solar-Evaluación térmica de sistemas solares para calentamiento de agua - Método de prueba.
3. Definiciones
Para los fines de esta Norma Oficial Mexicana se debe entender como:
3.1 Calentador de agua solar: Aparato integrado por un colector solar para calentar agua y un tanque térmico para almacenarla, cuya fuente de energía es la radiación solar.
3.2 Calentador de agua a gas: Aparato diseñado para calentar agua. Cuenta con una cámara de combustión, un intercambiador de calor, un quemador y un piloto o encendido electrónico. Utiliza como combustible gas L.P. o gas natural, y puede tener un control de temperatura automático (termostato) o control de encendido por presión y aislamiento térmico cuando aplique. Los tipos de calentadores normalizados en eficiencia energética son: el de almacenamiento, el de rápida recuperación y el instantáneo todos operados con gas.
3.3 Calentador de agua a gas de referencia: Es un calentador de agua operado con gas, de tipo almacenamiento, con recubrimiento térmico, automático, con capacidad nominal de 38 litros, certificado en el cumplimiento con la NOM-003-ENER-2011 y NOM-011-SESH-2012 vigentes o las que las sustituyan, cuyo objetivo es servir como parámetro para cuantificar el ahorro de gas.
3.4 Colector solar (o colector solar térmico): Dispositivo diseñado para absorber la radiación solar incidente, convertirla en energía térmica y transferirla a un fluido de trabajo.
3.5 Colector solar plano: Captador solar sin concentración, en el cual la superficie absorbente es esencialmente plana.
3.6 Colector solar de tubos al vacío: Colector que emplea tubos transparentes (usualmente de vidrio), con un espacio al vacío entre la pared del tubo y el absorbedor. El absorbedor puede ser de forma tubular o de otra forma.
3.7 Absorbedor: Componente de un colector solar que se destina a absorber la radiación solar y transferirla como energía calorífica a un fluido de trabajo.
3.8 Energía solar: Energía que proviene de la radiación emitida por el sol en forma de ondas electromagnéticas. La energía solar que llega a la superficie terrestre tiene longitudes de onda que van de 0.280 mm a 4 mm.
3.9 Radiación: Propagación de energía en forma de ondas electromagnéticas.
Nota: La energía de radiación puede emitirse, absorberse, reflejarse y/o transmitirse por cualquier superficie.
3.10 Irradiancia (G): Cantidad de energía de radiación que se emite o se recibe por un objeto por unidad de tiempo y por unidad de superficie. Se expresa en watt por metro cuadrado (W/m2).
3.11 Irradiación (H): Cantidad de energía de radiación que incide sobre una cierta superficie durante cierto tiempo y por unidad de área. Se cuantifica por la integral de la irradiancia o densidad de flujo de energía de radiación que recibe la superficie en un intervalo de tiempo dado, intervalo que en general puede ser por una hora o un día. Se expresa generalmente en unidades de mega Joule por metro cuadrado (MJ/m2) para el intervalo de tiempo dado.
3.12 Emitancia (M): Cociente de la energía emitida por un elemento de superficie sobre todas las longitudes de onda y sobre todas las direcciones a una temperatura dada, dividida por la energía emitida por un cuerpo negro a la misma temperatura. Esta propiedad frecuentemente es expresada como porcentaje pero su valor se obtiene como una fracción de 1.
3.13 Radiación solar-Radiación de onda corta: Energía de radiación que emite el sol y que tiene longitudes de onda que van de 100 mm a 5 000 mm.
Nota: Aproximadamente el 99% de la radiación solar que incide en la superficie del planeta, tiene longitudes de onda menores que 4 mm.
3.14 Radiación solar directa: Radiación solar que incide en un punto dado sobre la superficie terrestre, y que se propaga dentro de un ángulo sólido subtendido por el disco solar y sin cambios en su dirección.
3.15 Tanque térmico: Depósito aislado térmicamente en el que se acumula el agua que se calienta con la energía solar.
3.16 Presión de trabajo: Presión manométrica a la que se pueden encontrar sometidos los sistemas hidráulicos de los calentadores de agua solares, con o sin respaldo de un calentador a gas, durante su uso, con base en el código, reglamento o norma correspondiente.
3.17 Presión de prueba: Presión manométrica a la que deben ser sometidos los calentadores de agua solares con o sin respaldo de un calentador a gas, para comprobar que sus partes constitutivas (componentes) sean seguros durante su uso. Esta presión debe ser como mínimo 1.5 veces la presión de trabajo.
3.18 Rendimiento térmico: Cantidad de calor que proporciona el calentador de agua de forma diaria y anual en condiciones de operación y ambientales estándar.
4. Símbolos y abreviaturas
Símbolo
Descripción (unidades)
G
Irradiancia solar global mínima promedio o promedio en el plano del colector (W/m2)
H
Radiación solar incidente sobre el plano del colector solar en unidades de irradiación y durante el periodo de la prueba diurna (MJ/m2 día)
Ht
Irradiación global acumulada en el plano del colector (MJ/m2)
Ma
Masa de agua contenida en el tanque térmico (kg)
VL
Volumen del tanque térmico (m3)
a
Densidad del agua (1 000 kg/m3)
5. Clasificación
Los calentadores de agua solares y los calentadores de agua solares con respaldo de un calentador de agua que utiliza como combustible gas L.P. o gas natural, comprendidos en el campo de aplicación de esta Norma Oficial Mexicana se clasifican de la siguiente manera:
5.1. Calentadores de agua a gas, de respaldo, que cumplan con las NOM-003-ENER-2011 y NOM-011-SESH-2012 vigentes o las que las sustituyan, se clasifican en:
a)     Almacenamiento;
b)    Rápida recuperación, e
c)     Instantáneo.
 
Y de acuerdo con su carga térmica en:
a)    Doméstico: cuya carga térmica máxima es de 35,0 kW y
b)    Comercial: cuya carga térmica es mayor de 35,0 kW, hasta 108,0 kW.
5.2. Los calentadores de agua solares de circulación natural o termosifónicos, de acuerdo a su tecnología se clasifican como sigue:
a)    Autocontenidos;
b)    Colectores con concentradores tipo parabólico compuesto (CPC);
c)    Colectores de tubos al vacío con o sin tubos de calor y con y sin superficies reflejantes, y
d)    Colectores solares planos.
Y de acuerdo a su presión de trabajo en:
a)    Mínima de: 294.2 kPa (3.0 kgf/cm2) y
b)    Mínima de: 588.4 kPa (6.0 kgf/cm2).
6. Especificaciones
6.1 Rendimiento térmico y ahorro de gas
6.1.1 Rendimiento térmico del calentador de agua solar
El calentador de agua solar debe proporcionar como mínimo un calor útil por día o por año en 8 h o en 24 h, como se establece en la Tabla 1. El método de prueba debe ser el establecido en el inciso 8.1.1.
Tabla 1-Calor útil del calentador de agua solar, en clima templado
Calor útil por día
solar de 8 h
MJ
Calor útil por día
solar de 24 h
MJ
Calor útil al
año en 8 h
MJ
Calor útil al
año en 24 h
MJ
> 12.5
> 8.7
> 4 550
> 3 170
 
6.1.2 Ahorro de gas del calentador de agua solar con respaldo de un calentador de agua a gas
El ahorro de gas de un calentador de agua solar acoplado a un calentador de agua a gas, como respaldo, debe ser igual o mayor que el especificado en la Tabla 2. El método de prueba debe ser el establecido en el inciso 8.1.2.
Tabla 2-Ahorro de gas
Concepto
Irradiación (MJ/m2)
17
19
21
23
25
Ahorro de gas L.P. al mes
(kg)
>16.5
>17.0
>17.5
>18.0
>18.5
 
Tabulación obtenida con la ecuación:
Ahorro de gas L.P. al mes (kg) > (0.25 × (irradiación MJ/m2)) + 12.25
6.2 Seguridad
6.2.1 Exposición
El colector solar debe exponerse al medio ambiente y cumplir con las condiciones siguientes:
a)    Durante quince días a la "Irradiación global diaria en el plano del colector, H en MJ/m2" o la "Irradiación global acumulada en el plano del colector, Ht en MJ/m2" especificadas en la Tabla 3. Los días no necesariamente deben ser consecutivos.
b)    Durante mínimo 30 h a la "Irradiancia solar global mínima promedio en el plano del colector, G en W/
m2" especificada en la Tabla 3, registrada mediante un piranómetro y a una "Temperatura ambiente promedio mínima en °C" mayor que el valor establecido en la Tabla 3. Estas horas deben alcanzarse en periodos mínimos de 30 minutos.
Tabla 3-Condiciones climáticas de referencia para la prueba de exposición, choque térmico externo y
choque térmico interno
Parámetro climático
Valores mínimos para todas
las condiciones climáticas
Irradiancia solar global mínima promedio en el plano del colector, G en W/m2
850
Irradiación global diaria en el plano del colector, H en MJ/m2
17
Irradiación global acumulada en el plano del colector, Ht en MJ/m2
255
Temperatura ambiente promedio mínima, en ºC
10
 
Al término de esta exposición los calentadores de agua solares con o sin respaldo de un calentador de agua a gas, no deben presentar ningún daño como roturas, deformaciones, corrosión, pérdida de vacío en tubos evacuados. El método de prueba debe ser el especificado en el inciso 8.2.1.
Las pruebas de resistencia a alta temperatura (ver el inciso 6.2.2), choque térmico externo (ver el inciso 6.2.3), penetración por lluvia (ver el inciso 6.2.4) y choque térmico interno (ver el inciso 6.2.5) pueden realizarse combinadas con esta prueba de exposición.
6.2.2 Resistencia a alta temperatura (alta irradiancia)
Los calentadores de agua solares deben resistir una irradiancia solar global mínima promedio en el plano del colector "G" mayor que 900 W/m2, a una temperatura ambiente promedio entre 20 ºC y 40 ºC y a una velocidad del aire circundante promedio menor a 1 m/s, durante 1 h como mínimo. El método de prueba debe ser el especificado en el inciso 8.2.2. Al final de la prueba el calentador solar no debe presentar ningún daño como roturas, deformaciones, corrosión, pérdida de vacío en tubos evacuados.
Esta prueba puede realizarse durante la prueba de exposición, establecida en el inciso 8.2.1.
6.2.3 Choque térmico externo
Los calentadores de agua solares deben someterse a 2 choques térmicos externos, para lo cual debe mantenerse durante 1 h como mínimo la irradiancia solar global promedio en el plano del colector "G" mínima, que se establece en la Tabla 3 y rociarse durante 15 minutos con agua a la temperatura ambiente, en forma uniforme, mediante aspersores de agua; al final de la prueba no deben presentar ningún daño como roturas, deformaciones, corrosión, pérdida de vacío en tubos evacuados. El método de prueba debe ser el especificado en el inciso 8.2.3.
Esta prueba puede realizarse durante la prueba de exposición, establecida en el inciso 8.2.1.
6.2.4 Penetración por lluvia
El colector solar debe rociarse uniformemente con aspersores de agua que alcancen flujos de 0.04 L/s por m2 del área de apertura, sin que se presente penetración de agua ni condensación en su interior. El método de prueba debe ser el especificado en el inciso 8.2.4.
Esta prueba puede realizarse durante la prueba de exposición, establecida en el inciso 8.2.1.
6.2.5 Choque térmico interno
Los calentadores de agua solares deben someterse a 2 choques térmicos internos, para lo cual deben mantenerse durante 1 h, como mínimo a la irradiancia solar global promedio en el plano del colector "G" mínima, que se establece en la Tabla 3 y circular en su interior agua a una temperatura menor que 25 °C, sin que se presente ningún daño como roturas, deformaciones, corrosión, pérdida de vacío en tubos evacuados. El método de prueba debe ser el especificado en el inciso 8.2.5.
Esta prueba puede realizarse durante la prueba de exposición, establecida en el inciso 8.2.1.
6.2.6 Resistencia a la presión positiva
 
Los colectores de los calentadores de agua solares y las estructuras que los soporten, deben resistir en su superficie expuesta, una presión positiva de 500 Pa con una tolerancia de 15 Pa sin que se rompan o deformen. El método de prueba debe ser el especificado en el inciso 8.2.6.
6.2.7 Resistencia a la presión hidrostática
El sistema hidráulico de los calentadores de agua solares con o sin respaldo de un calentador de agua a gas debe cumplir con las presiones hidrostáticas mínimas establecidas en la Tabla 4, sin presentar fugas, roturas y deformaciones, en las conexiones, tanque térmico y componentes, el método de prueba debe ser el especificado en el inciso 8.2.7.
El objetivo de esta prueba es comprobar que las partes constitutivas (o componentes) del sistema hidráulico, resistan las presiones de trabajo a que se pueden encontrar sometidos durante su vida útil.
Tabla 4-Resistencia a la presión hidrostática
Presión de trabajo
Presión de prueba
Uso
294.2 kPa
(3.0 kgf/cm2)
> 441.3 kPa
(>4.5 kgf/cm2)
Apto para operar con:
Tinacos,
Tanques elevados de hasta 30 m de altura,
Redes municipales y sistemas hidroneumáticos que operen a presiones de 294.2 kPa (3 kgf/cm2) y mayores.
588.4 kPa
(6.0 kgf/cm2)
> 882.6 kPa
(>9.0 kgf/cm2)
Apto para operar con:
Tinacos,
Tanques elevados de hasta 60 m de altura,
Redes municipales y sistemas hidroneumáticos que operen a presiones de 588.4 kPa (6 kgf/cm2) y mayores.
 
6.2.8 Resistencia al sobrecalentamiento
El calentador de agua solar debe resistir una irradiación mínima de 18 MJ/m2, durante cuatro días consecutivos, sin que se presenten deformaciones y asegurando en su caso que funcionen correctamente los dispositivos de seguridad que pueda tener. El método de prueba debe ser el especificado en el inciso 8.2.8.
6.2.9 Resistencia a heladas
El calentador de agua solar debe resistir una temperatura de - 10 °C con una tolerancia de ± 2 °C sin presentar ningún daño como roturas, deformaciones, corrosión, pérdida de vacío en tubos evacuados. El método de prueba debe ser el especificado en el inciso 8.2.9.
6.2.10 Resistencia al impacto
El colector solar debe resistir 10 impactos sin romperse, con una esfera de acero con una masa de 150 g y una tolerancia de ± 5 g, desde una altura de 1.40 m con una tolerancia de ±0.01 m. El método de prueba debe ser el especificado en el inciso 8.2.10
6.2.11 Capacidad del tanque térmico
Se debe comprobar la capacidad del tanque térmico especificada por el fabricante, importador o comercializador, considerando una tolerancia de ± 2 % respecto a la capacidad reportada; pero ésta nunca debe ser menor de 150 L con una tolerancia de 2 % ni mayor a 500 L con una tolerancia de 2 %. El método de prueba debe ser el especificado en el inciso 8.2.11.
6.2.12 Desarmado e inspección final
Al final de las pruebas, el calentador de agua solar se debe desarmar, inspeccionar visualmente y reportar en el informe de pruebas que sus partes o componentes no presentan fallas, auxiliándose de fotografías.
6.3 Componentes mínimos obligatorios
Los calentadores de agua solares deben equiparse como mínimo con los componentes siguientes, necesarios para su adecuado funcionamiento.
 
·  Válvulas de drenado
En el tanque térmico para eliminar los lodos que se acumulen y en el colector solar para el caso donde el agua circule por el colector.
·  Válvula de sobrepresión o seguridad
Este componente debe operar (abrir) a un 30 % por arriba de la presión de trabajo marcada por el fabricante.
·  Ánodo de sacrificio, componente principal de un sistema de protección catódica para proteger contra la corrosión. Debe ser como mínimo de 250 g por cada metro cuadrado de superficie interior del tanque térmico.
La instalación del sistema de los calentadores de agua solares debe equiparse además con los siguientes accesorios mínimos:
·  Válvula de corte a la entrada
El sistema debe contar con una válvula de corte a la entrada del calentador de agua solar entre la línea de alimentación y la entrada del agua fría al calentador de agua solar.
·  Válvulas de desviación (By-pass)
El sistema debe contar con una válvula de desviación que le permita operar en cualquiera de las modalidades siguientes:
1)    100 % de abastecimiento del agua caliente por el calentador de agua solar (el flujo de agua no debe circular a través del calentador de agua a gas de respaldo);
2)    En serie con el calentador de agua a gas de respaldo;
3)    100 % de abastecimiento del agua caliente por el calentador de agua a gas de respaldo (en el caso de falla o mantenimiento del calentador de agua solar).
·  Válvulas anti-retorno (check)
A la entrada del agua fría al tanque térmico.
·  Dispositivo de protección contra quemaduras
Dispositivo automático que limite la temperatura de extracción de agua a 55 °C ± 5 °C, en el caso de sistemas que puedan alcanzar esta temperatura. Se recomienda usar una válvula de mezclado.
El manual de instalación debe indicar la ubicación de estos elementos en el sistema.
7. Muestreo
Está sujeto a lo establecido en el Capítulo 12 de esta Norma Oficial Mexicana.
8. Métodos de prueba
8.1 Rendimiento térmico y ahorro de gas
8.1.1 Rendimiento térmico del calentador de agua solar
La prueba del rendimiento térmico al calentador de agua solar debe realizarse de acuerdo con lo especificado en el capítulo 7 de la norma mexicana NMX-ES-004-NORMEX-2010, Energía solar Evaluación térmica de sistemas solares para calentamiento de agua - Método de prueba.
8.1.2 Determinación del ahorro de gas
8.1.2.1 Fundamento del método
El objetivo del método consiste en medir el consumo de gas L.P. del calentador de agua solar acoplado o integrado a un calentador de agua a gas como respaldo, que se desea evaluar y compararlo con el consumo de gas L.P. del calentador de agua a gas de referencia, ambos operados simultáneamente y bajo las mismas condiciones ambientales y de trabajo (extracciones de agua caliente).
El consumo de gas L.P. del calentador de agua solar acoplado o integrado con un calentador de agua a gas, debe ser siempre menor que el del calentador de agua a gas de referencia, por lo que, la diferencia entre los consumos será el ahorro de gas L.P.
 
8.1.2.2 Instrumentos de medición, materiales y equipo.
-      Medidores de flujo de gas, (con un intervalo de medida de 0.05 a 0.35 dm3/s e incertidumbre de 1% máximo de la lectura máxima).
-      Medidores de flujo de agua (con un intervalo de medida de 0.05 a 0.25 dm3/s e incertidumbre de 1% máximo de la lectura máxima) o recipientes de peso conocido con báscula.
-      Sensores de temperatura, termopares o RTD (con una precisión de ± 0.5 °C).
-      Manómetros con un intervalo de medida de 0.0 kPa (0.0 kgf/cm2) a 500 kPa (5.0 kgf/cm2) y con una división mínima de 10 kPa (0.1 kgf/cm2).
-      Calentador de agua a gas de referencia.
-      Piranómetro espectral clase 2 o superior, colocado en el plano del colector.
-      Termómetros.
-      Tuberías y conexiones apropiadas.
-      Válvula automática para mezclar el agua caliente y fría.
-      Aislante térmico para las tuberías y adhesivos para colocarlo.
-      Bomba hidráulica de presión.
-      Tanque de almacenamiento de gas L.P.
-      Tinaco para el abastecimiento de agua, de capacidad adecuada, certificado bajo la norma NMX-C-374-ONNCCE-2012.
-      Medidor de precipitación pluvial.
8.1.2.3 Procedimiento
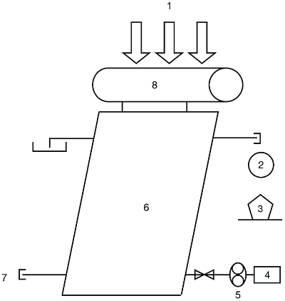
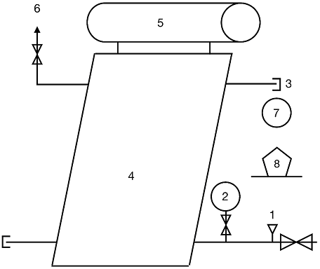
En el Apéndice A se ilustran los esquemas de instalación para medir el consumo de gas L.P.:
Figura A.1 - Esquema de instalación para medir el consumo de gas de un calentador de agua solar acoplado a un calentador de agua a gas, como respaldo.
Figura A.2 - Esquema de instalación para medir el consumo de gas del calentador de agua a gas de referencia.
El calentador de agua solar debe llevar su estructura de apoyo para asegurar su colocación adecuada en el laboratorio y debe ubicarse en una zona con incidencia de radiación solar todo el día, de acuerdo con las instrucciones del fabricante, el piranómetro se debe instalar junto al colector solar con la misma orientación e inclinación.
El calentador de agua solar debe colocarse a una distancia de 5.0 m del calentador de agua a gas y acoplarse, la tubería se debe aislar térmicamente con el material proporcionado por el fabricante, importador o comercializador, de acuerdo con sus indicaciones precisas por escrito. En el calentador de agua solar el tanque térmico debe colocarse como máximo a 3.0 m del colector solar.
Las condiciones para la realización de la prueba deben ser: Que el agua que se suministre, al calentador de agua solar con respaldo del calentador de agua a gas y al calentador de agua a gas de referencia se encuentre a 20 °C ± 1 °C.
Se conecta el calentador de agua solar al suministro de agua, se abre la válvula de descarga del sistema, se purga y se cierra la válvula de descarga. El calentador de agua a gas de respaldo se conecta entonces a la red de suministro de gas L.P. y se verifica que no existan fugas en las conexiones.
Simultáneamente, el calentador de agua a gas de referencia se conecta a las mismas redes de suministro de agua y gas L.P., que alimentan el calentador de agua solar con respaldo, se abre la válvula de suministro y descarga de agua del calentador de agua a gas de referencia, se purga y se cierra la válvula de descarga. Se verifica que no existan fugas en las conexiones.
Instalado y purgado el calentador de agua solar con respaldo se cierra la válvula de salida del mismo y se inicia el periodo de estabilización, 24 horas antes de iniciar las mediciones y extracciones de agua durante el periodo de prueba.
La estabilización consiste en dejar operar el calentador de agua solar del sistema durante 24 h, sin realizar ninguna extracción de agua, para aprovechar la radiación solar de un día completo. Y al día siguiente realizar el protocolo completo de extracciones antes de iniciar con la prueba de ahorro de gas.
1 h antes de iniciar las pruebas, después de las 24 h de estabilización, se encienden los pilotos del calentador de agua a gas de respaldo (en caso de contar con el) y del calentador de agua a gas de referencia y se toma la lectura de cada medidor de gas, tanto del calentador de agua a gas de respaldo como del calentador de agua a gas de referencia.
Se enciende el calentador de agua a gas de respaldo y el calentador de agua a gas de referencia, colocando el termostato o control de temperatura del primero en la posición indicada, con precisión, por el solicitante de las pruebas y el del calentador de agua a gas de referencia en una posición que asegure una salida de temperatura del agua de 45 °C ± 1 °C.
Se inician las extracciones de agua del calentador de agua solar con respaldo y del calentador de agua a gas de referencia como sigue:
Se efectúan 3 extracciones de agua al día, durante el periodo de prueba, en los volúmenes y horarios siguientes:
·  La primera extracción de 135 litros ± 1 % a las 7:00 h.
·  La segunda extracción de 60 litros ± 1 % a las 13:00 h.
·  La tercera extracción de 90 litros ± 1 % a las 20:00 h.
Las extracciones se deben realizar utilizando la llave mezcladora automática, estableciendo un flujo mínimo de agua de 3.8 L/min y a una temperatura del agua de 38 °C ± 1 °C. Registrando estos valores cada 30 segundos.
Los días de prueba deben ser 4. En caso de presentarse en algunos de estos días una radiación menor de 17 MJ/m2 o una precipitación pluvial (lluvia) mayor a 10 mm/m2 día, la prueba debe suspenderse y reiniciarse hasta alcanzar los 4 días de prueba.
8.1.2.4 Cálculo del ahorro en el consumo de gas del calentador de agua solar con respaldo de un calentador de agua a gas L.P.
Se registra la lectura inicial del medidor de gas, el consumo diario de gas L.P., a las 7 h de cada día, antes de realizar la primera extracción de agua de las probetas (es decir del calentador o calentadores de agua solares con respaldo de un calentador de agua a gas y del calentador de agua a gas de referencia) y la lectura final del medidor de gas al concluir los 4 días de prueba. Con estos datos y considerando 2.0 kg/m3 la densidad del gas L.P., se calcula:
·  El consumo promedio diario de gas L.P., del calentador de agua solar con respaldo, el cual se multiplica por 30 para obtener el consumo mensual de un sistema (calentador de agua solar con respaldo), y
·  El consumo promedio diario de gas L.P., del calentador de agua a gas de referencia, el cual se multiplica por 30 para obtener su consumo mensual.
La diferencia entre el consumo mensual del calentador de agua solar con respaldo y el consumo mensual del calentador de agua a gas de referencia, es el ahorro de gas obtenido por el uso de un calentador de agua solar.
8.2 Métodos de prueba de seguridad
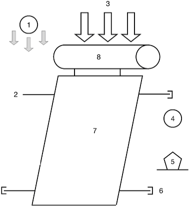
8.2.1 Exposición
8.2.1.1 Fundamento del método
El método de prueba de exposición simula una condición de operación que puede ocurrir durante la instalación del calentador de agua solar, antes de habitarse la vivienda, durante su operación diaria o en una interrupción del suministro de agua, además permite estabilizar el funcionamiento del calentador de agua solar de forma que en los subsecuentes métodos de calificación, se obtengan resultados repetibles con mayor probabilidad. Por este motivo, la prueba de exposición debe ser la primera en realizarse.
Las pruebas de resistencia a alta temperatura, choque térmico externo, penetración por lluvia y choque térmico interno pueden realizarse combinadas con esta prueba de exposición.
8.2.1.2 Instrumentos de medición, materiales y equipo
-      Piranómetro de segunda clase o superior.
-      Termómetro con exactitud de ± 0.5 °C.
-      Pluviómetro.
8.2.1.3 Procedimiento
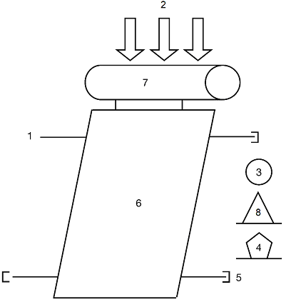
Instalar el calentador de agua solar a la intemperie de acuerdo con las instrucciones del fabricante y sin llenarse de agua. Sellar todas las tuberías, excepto una para evitar el enfriamiento por circulación natural del aire y permitir su libre expansión. En la Figura A.3 del Apéndice A se presenta el esquema del método.
El colector solar debe exponerse al medio ambiente y cumplir con las condiciones establecidas en el inciso 6.2.1.
Medir y registrar la temperatura ambiente y la irradiancia solar global en el plano del colector, como mínimo cada 5 min. También registrar cuando se presente lluvia para determinar, si es necesario, restar de la prueba el tiempo de lluvia.
El colector solar debe exponerse durante mínimo 30 h al nivel mínimo de "Irradiancia solar global mínima promedio en el plano del colector, G en W/m2" dado en la Tabla 3 y a una "Temperatura ambiente promedio mínima en °C" mayor que el valor mostrado en la Tabla 3. Estas horas deben alcanzarse en periodos mínimos de 30 minutos.
Si en la prueba de exposición se alcanza un nivel de irradiancia solar global promedio en el plano del colector, G mayor de 900 W/m2, durante una hora en forma continua, puede omitirse la realización de la prueba de resistencia a alta temperatura (alta irradiancia) inciso 8.2.2.
Si la prueba de choque térmico externo se combina con esta prueba de exposición, el primer choque térmico externo debe realizarse durante las primeras 10 h de las 30 h, de irradiancia solar en el plano del colector G, de la prueba de exposición y el segundo durante las últimas 10 h inciso 8.2.3.
La prueba de penetración por lluvia puede realizarse en forma simultánea con esta prueba si al alcanzar las condiciones que se requieren para esta prueba, se realiza el rociado durante 4 h como se indica en el método de prueba establecido en el inciso 8.2.4.
Al final de la prueba de exposición el calentador solar no debe presentar ningún daño como roturas, deformaciones, corrosión, pérdida de vacío en tubos evacuados. Los resultados se registran en el informe de pruebas.
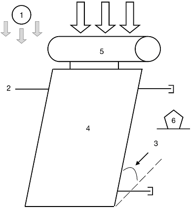
8.2.2 Resistencia a alta temperatura (alta irradiancia)
8.2.2.1 Fundamento del método
Este método de prueba tiene como objeto determinar si el calentador de agua solar soporta altos niveles de irradiancia sin que se presenten roturas, fisuras, deformaciones y/o emanación de gases de los materiales plásticos del colector o cualquier otro efecto que posiblemente podría conducir a reducir rendimiento, vida útil o a distorsionar la apariencia visual del calentador solar de agua.
8.2.2.2 Instrumentos de medición, materiales y equipo
-      Piranómetro de segunda clase o superior.
-      Termómetro con exactitud de ± 0.5 °C.
-      Anemómetro con exactitud de ± 0.5 m/s.
8.2.2.3 Procedimiento
 
El calentador de agua solar debe instalarse a la intemperie de acuerdo con las instrucciones del fabricante y sin llenarse de agua. Todas las tuberías deben sellarse, excepto una para evitar el enfriamiento por circulación natural del aire y permitir la expansión libre del mismo. En la Figura A.4 del Apéndice A se presenta un esquema del método.
La prueba debe realizarse durante 1 hora, después de que se alcanzan las condiciones mínimas que se establecen en la Tabla 5.
Tabla 5-Condiciones climáticas de referencia para la prueba de resistencia a alta irradiancia
Parámetro climático
Valor para todas las clases climáticas
Irradiancia solar global promedio en plano del
colector, G en W/m2
Mayor que 900
Temperatura ambiente promedio, en °C
De 20 a 40
Velocidad del aire promedio en m/s
Menor que 1
 
Si durante la prueba de exposición se alcanzan y registran, durante una hora, las condiciones de la Tabla 5, puede omitirse la realización de esta prueba.
Al final de esta prueba, el calentador de agua solar no debe presentar ningún daño como roturas, deformaciones, corrosión, pérdida de vacío en los tubos evacuados o emanación de gases de sus partes plásticas. Lo anterior se determina por inspección visual. Los resultados se registran en el informe de pruebas.
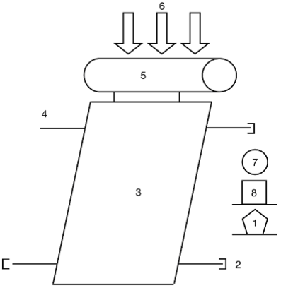
8.2.3 Choque térmico externo
8.2.3.1 Fundamento del método
Los calentadores de agua solares pueden estar expuestos a lluvias repentinas en días calurosos y soleados y causar un choque térmico en la superficie externa del calentador. Este método de prueba permite determinar la capacidad de un calentador de agua solar de resistir estos choques térmicos.
Si esta prueba de choque térmico externo se combina con la prueba de exposición del inciso 8.2.1., debe realizarse de acuerdo con lo que se establece en dicho método.
8.2.3.2 Instrumentos de medición, materiales y equipo
-      Piranómetro de segunda clase o superior.
-      Termómetros con exactitud de ± 0.5 °C.
-      Medidores de flujo con exactitud de ± 2 %.
-      Cronómetro con exactitud de ± 1 s.
-      Flexómetro con exactitud de ± 0.001 m.
-      Aspersores de agua para un rociado uniforme que alcance flujos de 0.04 L/s ± 0.01 L/s por m2 de área de apertura.
8.2.3.3 Procedimiento
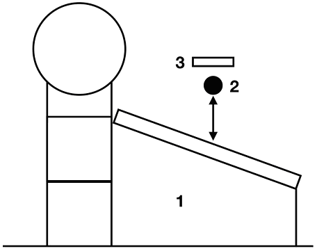
Instalar a la intemperie de acuerdo con las instrucciones del fabricante y sin llenarlo de agua el calentador de agua solar y someterlo a dos pruebas de choque térmico externo. Todas las tuberías deben sellarse, excepto una para evitar el enfriamiento por circulación natural del aire y permitir su libre expansión. En la Figura A.5 del Apéndice A se presenta el esquema del método.
Mantener el colector solar a las condiciones de prueba que se establecen en la Tabla 3, durante 1 h como mínimo, antes de realizar el rociado uniforme con aspersores de agua a temperatura ambiente, durante 15 min con un caudal de 0.04 L/s por m2 de área de apertura del colector, con una tolerancia de ± 0.004 L/s por m2.
Al final de esta prueba el calentador solar no debe presentar ningún daño como fisuras, roturas, deformaciones, corrosión, pérdida de vacío en tubos evacuados. Lo anterior se determina por inspección visual. Los resultados se registran en el informe de pruebas.
8.2.4 Penetración por lluvia
 
8.2.4.1 Fundamento del método
Los calentadores de agua solares se ubican en el exterior de las edificaciones y, por lo tanto, están expuestos a las lluvias. Este método de prueba permite determinar si hay penetración de la lluvia, lo cual normalmente no debe ocurrir con lluvia natural ni con lluvia inducida con boquillas de rociado. Los colectores solares de los calentadores de agua solares pueden tener orificios de ventilación o de drenado, sin embargo, debe preverse que éstos estén ubicados de manera que por ellos no penetre la lluvia.
Esta prueba puede realizarse en combinación con la prueba de exposición.
8.2.4.2 Instrumentos de medición, materiales y equipos
-      Piranómetro de segunda clase o superior.
-      Termómetros para líquidos con exactitud de ± 0.5 °C.
-      Medidores de flujo con exactitud de ± 2 %.
-      Cronómetro con exactitud de ± 1 s.
-      Flexómetro con exactitud de ± 0.001 m.
-      Aspersores de agua para un rociado uniforme que alcance flujos de 0.04 L/s por m2 ± 0.01 L/s por m2 de área de apertura.
8.2.4.3 Procedimiento
Instalar el calentador de agua solar a la intemperie de acuerdo con las instrucciones del fabricante y sin llenarse de agua. Las tuberías de entrada y salida de agua deben sellarse.
Colocar el colector solar con el ángulo recomendado por el fabricante y exponerlo a una radiación solar promedio mayor que 850 W/m2, durante una hora. Rociar los lados expuestos durante 4 h, con agua a temperatura menor de 30 °C, mediante aspersores con un caudal de 0.04 L/s por m2 de área de apertura del colector solar, con una tolerancia de ± 0.004 L/s por m2.
En la Figura A.6 del Apéndice A se presenta un esquema del método.
Al final de esta prueba, el colector solar y el tanque térmico no deben mostrar penetración de agua en su interior. Lo anterior se determina por inspección visual y los resultados se registran en el informe de pruebas.
8.2.5 Choque térmico interno
8.2.5.1 Fundamento del método
Los calentadores de agua solares pueden estar expuestos a repentinas entradas de agua fría en días calurosos y soleados, durante la instalación del calentador antes de habitarse la vivienda, durante su operación diaria o en una interrupción del suministro de agua, causando choques térmicos internos. Este método tiene como objetivo determinar la capacidad del captador de resistir estos choques térmicos sin fallar.
8.2.5.2 Instrumentos de medición, materiales y equipo
-      Piranómetro de segunda clase o superior.
-      Termómetros con exactitud de ± 0.5 °C.
-      Caudal de agua de 0.133 L/s (8 kg/min) ± 0.017 L/s (± 1 kg/min)
-      Cronómetro con exactitud de ± 1 s.
8.2.5.3 Procedimiento
Instalar el calentador de agua solar a la intemperie de acuerdo con las instrucciones del fabricante y sin llenarlo de agua y someterlo a dos pruebas de choque térmico interno. Todas las tuberías deben sellarse, excepto una para evitar el enfriamiento por circulación natural del aire y permitir su libre expansión.
Mantener el colector solar en las condiciones de prueba que se establecen en la Tabla 3 e iniciar la circulación de agua a través de tanque térmico y colector durante 10 min, como mínimo. La temperatura del agua debe ser menor de 25 °C y el caudal de agua de 0.133 L/s ± 0.017 L/s. En la Figura A.7 del Apéndice A se presenta el esquema del método.
 
Al final de esta prueba el calentador solar no debe presentar ningún daño como fisuras, roturas, deformaciones, corrosión, pérdida de vacío en tubos evacuados. Lo anterior se determina por inspección visual. Los resultados se registran en el informe de pruebas.
8.2.6 Método de prueba de resistencia a la presión positiva
8.2.6.1 Fundamento del método
El objetivo de esta prueba es asegurar un nivel de resistencia a la acumulación de nieve, cenizas o cualquier peso sobre el calentador de agua solar.
8.2.6.2 Instrumentos de medición, materiales y equipos
-      Bloques o sacos de peso conocido (ejemplo: costales de arena).
-      Lámina rígida.
8.2.6.3 Procedimiento
Para colectores planos:
Instalar el calentador de agua solar a la intemperie de acuerdo con las instrucciones del fabricante.
Aplicar a la superficie expuesta del colector, una carga de 500 Pa ± 15 Pa, uniformemente distribuida durante 1 h. En la Figura A.8 del Apéndice A se presenta un esquema del método.
Para los colectores de tubos al vacío:
El procedimiento es el mismo que para los colectores planos, excepto que se debe colocar una lámina extendida sobre la cubierta del colector, que permita distribuir uniformemente el peso.
Si el termotanque comparte la misma estructura que el colector, entonces éste deberá estar lleno de agua durante la prueba.
Al final de esta prueba, el colector solar no debe presentar ningún daño como fisuras o roturas en la cubierta, deformaciones permanentes en la carcasa y la estructura soporte del colector. Lo anterior se determina por inspección visual y los resultados se registran en el informe de prueba.
8.2.7 Método de prueba de resistencia a la presión hidrostática
8.2.7.1 Fundamento del método
El objetivo de la prueba es evaluar la resistencia a la presión hidrostática, de todos los componentes e interconexiones del calentador de agua solar, con o sin respaldo de un calentador de agua a gas, que se suministran con el equipo cuando se instala de acuerdo a las instrucciones del fabricante.
8.2.7.2 Instrumentos de medición, materiales y equipos
-      Termómetro con exactitud de ± 0.5 °C.
-      Manómetro con exactitud de ± 5 %.
-      Una fuente de presión hidráulica con regulación de la presión.
-      Válvulas de purga y aislamiento.
8.2.7.3 Procedimiento
Instalar el calentador de agua solar a la intemperie de acuerdo con las instrucciones del fabricante.
Realizar la prueba en ausencia de radiación solar, preferentemente después de las 18:00 h, o cubrir el colector.
Antes de iniciar la prueba si el calentador de agua solar cuenta con válvulas de seguridad por presión, válvulas o dispositivos que limiten o impidan la aplicación de la presión de prueba a todo el conjunto, remover éstas y de ser necesario colocar tapones.
Una vez instalado el calentador de agua solar, abrir la válvula de alimentación de agua, a la temperatura ambiente, para permitir el flujo de agua y llenado del calentador de agua solar.
Llenar el calentador de agua solar, con o sin respaldo y cerrar las válvulas de corte para aislarlo del resto del sistema, presurizar a la presión de prueba establecida en el inciso 6.2.7.
Si se presentan fugas en las conexiones, sellar y ajustar nuevamente y reiniciar la prueba, si continua este problema, la prueba se cancela.
 
En caso de no presentar fugas, se continúa con la prueba manteniendo el calentador de agua solar presurizado mínimo 1 h. Se debe registrar la temperatura ambiente promedio durante la prueba.
Una vez transcurrido el tiempo correspondiente, observar en el manómetro que la presión no disminuye en un rango mayor al 5 %, lo que significa que el calentador de agua solar no se ha roto ni presentado fugas de agua en ninguna de sus conexiones. En la Figura A.9 del Apéndice A se presenta el esquema del método.
Liberar la presión de prueba y revisar que no existen deformaciones permanentes en el calentador de agua solar y en los componentes que se suministran con el equipo.
Lo anterior se determina por inspección visual y los resultados se registran en el informe de pruebas.
8.2.8 Método de prueba de resistencia al sobrecalentamiento
8.2.8.1 Fundamento del método
El propósito de la prueba es determinar si el calentador de agua solar está protegido contra daños provocados por sobrecalentamiento ocurridos después de periodos sin extracciones.
8.2.8.2 Instrumentos de medición, materiales y equipos
-      Piranómetro de segunda clase o superior.
-      Termómetros con exactitud de ± 0.5 °C.
-      Manómetro con exactitud de ± 5 %.
8.2.8.3 Procedimiento
Instalar el calentador de agua solar a la intemperie de acuerdo con las instrucciones del fabricante.
Comprobar que el calentador de agua solar tiene las válvulas y otros dispositivos de seguridad contra el sobrecalentamiento y éstas se encuentran instaladas en los lugares correctos.
Realizar la prueba de la forma siguiente:
a)    Instalar el calentador de agua solar de acuerdo con las instrucciones del fabricante.
b)    Conectar el calentador de agua solar a la red de suministro.
c)    Iniciar la operación del calentador de agua solar y mantener como mínimo durante cuatro días consecutivos sin ninguna extracción de agua aislando completamente el calentador de agua solar del exterior mediante válvulas que se instalan a la entrada y salida del mismo.
d)    Exponer la superficie del colector como mínimo por cuatro días consecutivos a una irradiación solar en el plano del colector mínima de 18 MJ/m2 por día y a una temperatura ambiente promedio mayor a 10 °C; con el objeto de que el sistema de seguridad opere, de ser necesario, correctamente. En la Figura A.10 del Apéndice A se presenta el esquema del método.
Al final de cada día de prueba deberá registrarse la temperatura del agua alcanzada en el calentador de agua solar a la altura de la extracción de agua caliente del tanque térmico, y en esta prueba debe observarse si el sistema de seguridad opera, de ser necesario, correctamente bajo estas condiciones. Lo anterior se determina por inspección visual y los resultados se registran en el informe de pruebas, así como la temperatura en el calentador de agua solar observada por día.
8.2.9 Método de prueba de resistencia a heladas
8.2.9.1 Fundamento del método
Determinar hasta qué punto el calentador de agua solar soporta heladas y ciclos de congelación-deshielo.
8.2.9.2 Instrumentos de medición, materiales y equipos
-      Manómetro con exactitud de ± 5 %.
-      Termómetros con exactitud de ± 0.5 °C.
-      Cronómetro con exactitud de ± 1 s.
-      Cámara de refrigeración o cuarto frío.
8.2.9.3 Procedimiento
 
Instalar el calentador de agua solar, con su sistema de protección al congelamiento (si es que lo utiliza), en el interior de la cámara de refrigeración
Llenar el calentador de agua solar con agua; enfriar hasta alcanzar una temperatura de - 10 °C ± 2 °C en la cámara de refrigeración o cuarto frío y mantener a esta temperatura durante 1 h; descongelar hasta alcanzar una temperatura de 10 °C ± 2 °C y mantener a esta temperatura durante 30 min. Repetir el ciclo 3 veces de manera consecutiva.
Al final de esta prueba el calentador solar no debe presentar ningún daño como fisuras, roturas, deformaciones, corrosión, pérdida de vacío en tubos evacuados. Lo anterior se determina por inspección visual. Los resultados se registran en el informe de pruebas.
8.2.10 Método de prueba de resistencia al impacto
8.2.10.1 Fundamento del método
El objetivo de esta prueba es determinar hasta qué punto el calentador de agua solar soporta los efectos que se causan por granizo.
8.2.10.2 Instrumentos de medición, materiales y equipos
     Bola de acero con una masa de 150 g ± 5 g.
     Flexómetro con exactitud de ± 0.001 m.
     Electroimán o cualquier otro dispositivo que permita dejar caer la esfera sin darle un impulso y sin que exista rozamiento.
8.2.10.3 Procedimiento
Instalar el calentador de agua solar de acuerdo con las instrucciones del fabricante y sin llenarse de agua.
La estructura soporte del calentador de agua solar debe estar lo suficientemente firme para asegurar que el impacto se concentre únicamente en la superficie a probar.
Dejar caer la bola de acero 10 veces desde una altura de 1.4 m ± 0.01 m con respecto a la horizontal en el punto de impacto del colector en caída libre, sin que se presenten daños en el colector solar.
Para los colectores planos los puntos de impacto deben ser, a más de 5 cm de los bordes y 10 cm de las esquinas de la cubierta del colector. Distribuir los impactos hacia el centro del colector.
Para los colectores de tubos al vacío, distribuir los impactos entre los tubos del colector y aplicarlos a más de 5 cm de su conexión al tanque térmico y su soporte inferior. Distribuir los impactos de los extremos hacia el centro del tubo. En la Figura A.11 del Apéndice A se presenta el esquema del método.
Al final de la prueba se revisa que no existan daños en la superficie o tubos del colector solar.
8.2.11 Capacidad del tanque térmico
8.2.11.1 Fundamento del método
Con esta prueba se pretende asegurar un volumen mínimo de agua caliente proveniente de los calentadores de agua solares.
8.2.11.2 Instrumentos de medición, materiales y equipos
-      Báscula con exactitud de ± 0.2 kg.
8.2.11.3 Procedimiento
Realizar la medición de la capacidad del tanque térmico determinando su masa sin agua y con agua; o llenando el tanque térmico de agua y extrayendo ésta en un recipiente de masa conocida y determinando su masa. El resultado de esta prueba se da por diferencia de masas.
Asegurar que el tanque térmico se encuentra completamente vacío, sin residuos de líquidos. Se cierran las salidas y entradas, con excepción de las localizadas en la parte superior en su sección longitudinal. Se pesa en la báscula el tanque térmico vacío con todas sus entradas y salidas cerradas.
Llenar el tanque térmico de agua a una temperatura ambiente por uno de sus extremos en la parte superior del cuerpo hasta que el agua salga por el extremo opuesto. Cerrar la salida de agua y continuar inyectando agua, permitiendo que salga el aire completamente del tanque térmico hasta que se asegure que está completamente lleno y se pesa.
 
Determinar la capacidad del tanque térmico por diferencia de pesos en kg, entre el peso del tanque térmico lleno menos el peso del tanque térmico vacío. Utilizando la ecuación siguiente:
VL =
ma
 
ra
En donde:
VL: Volumen del tanque térmico en (m3)
ma : Masa de agua contenida en el tanque térmico en kg
ra : Densidad del agua (1 000 kg/m3)
La capacidad del tanque térmico debe ser la especificada por el fabricante, importador o comercializador, considerando una tolerancia de ± 2% respecto a la capacidad reportada; pero ésta nunca debe ser menor de 150 L con una tolerancia de 2%, ni mayor a 500 L con una tolerancia de 2%.
8.2.12 Desarmado e inspección final
Al final de las pruebas de rendimiento térmico o seguridad, desarmar uno de los calentadores solares e inspeccionarlo visualmente y reportar en el informe de pruebas, auxiliándose de fotografías; todos los detalles y anomalías observadas en sus partes o componentes si las hubiera.
9. Criterios de aceptación
Todos los equipos y aparatos comprendidos en el campo de aplicación cumplen con esta Norma Oficial Mexicana, si el resultado de las pruebas de laboratorio descritas en el Capítulo 8, de cada una de las piezas que integran la muestra, cumplen con las especificaciones aplicables del Capítulo 6, de acuerdo con cada tipo de equipo o aparato.
10. Etiquetado
Los equipos objeto de esta Norma Oficial Mexicana que se comercialicen en los Estados Unidos Mexicanos deben llevar una etiqueta, que proporcione a los usuarios información relacionada con el rendimiento térmico y ahorro de gas, de forma que puedan ser comparadas con otros calentadores de agua de las mismas características.
10.1 Permanencia
La etiqueta debe ir impresa, adherida o colocada en el tanque térmico por medio de un engomado y no debe removerse, hasta después de que éste haya sido adquirido por el consumidor final.
10.2 Contenido de la etiqueta
La etiqueta de eficiencia energética debe contener como mínimo la información que se lista a continuación, en forma legible:
Nota: el tipo de letra debe ser Arial o Helvética.
10.2.1 Etiqueta para calentadores de agua solares con respaldo de un calentador a gas
10.2.1.1 El nombre de la etiqueta: "EFICIENCIA ENERGÉTICA", en tipo negrita y centrado.
10.2.1.2 La leyenda "Determinada como se establece en la", en tipo normal y centrado seguida de la leyenda "NOM-027-ENER/SCFI-2018" en tipo negrita y centrado.
10.2.1.3 La leyenda "Calentador de agua solar con respaldo de un calentador a gas", en tipo negrita y centrado.
10.2.1.4 La leyenda "Calentador de agua solar" en tipo negrita y centrado.
10.2.1.5 La leyenda "Marca (s):" en tipo negrita; seguida del nombre y/o marca(s) registrada(s) del fabricante, importador o comercializador, en tipo normal.
10.2.1.6 La leyenda "Modelo (s):" en tipo negrita; seguida del modelo del calentador de agua solar, en tipo normal.
10.2.1.7 La leyenda "Tipo de colector:" en tipo negrita; seguida del tipo de colector de acuerdo al Capítulo cinco, Clasificación de la presente norma, en tipo normal.
 
10.2.1.8 La leyenda "Capacidad:" en tipo negrita; seguida de la capacidad del calentador de agua solar en litros, en tipo normal.
10.2.1.9 La leyenda "Presión de trabajo:" en tipo negrita; seguida de la presión de trabajo del calentador de agua solar en kPa (se debe incluir su equivalente en kgf/cm2), en tipo normal.
10.2.1.10 La leyenda "Calentador de agua a gas de respaldo" en tipo negrita y centrado.
10.2.1.11 La leyenda "Marca (s):" en tipo negrita; seguida del nombre y/o marca(s) registrada(s) del fabricante, importador o comercializador, en tipo normal.
10.2.1.12 La leyenda "Modelo (s):" en tipo negrita; seguida del modelo del calentador de agua, en tipo normal.
10.2.1.13 La leyenda "Gas:" en tipo negrita; seguida del tipo de combustible gas L.P. o natural que utiliza el calentador de agua, en tipo normal.
10.2.1.14 La leyenda "Funcionamiento:" en tipo negrita; seguida del tipo calentador de agua que se utiliza conforme a la NOM-003-ENER-2011 (según el inciso 6.2) éste puede ser: almacenamiento, instantáneo o rápida recuperación, en tipo normal.
10.2.1.15 La leyenda "Capacidad:" en tipo negrita; seguida de la capacidad del calentador de agua que se utiliza en el sistema, en tipo normal. Para el calentador de agua a gas de tipo almacenamiento, la capacidad debe expresarse en litros (L) y para los tipos rápida recuperación e instantáneo, la capacidad debe expresarse en litros por minuto (L/min).
10.2.1.16 La leyenda "Eficiencia térmica:" en tipo negrita; seguida de la eficiencia térmica del calentador de agua en porciento y conforme a la NOM-003-ENER-2011, en tipo normal.
10.2.1.17 La leyenda "Ahorro de gas registrado" en tipo negrita y centrado.
10.2.1.18 La leyenda "Ahorro de gas L.P. resultado de las pruebas, con respecto al calentador de agua a gas de referencia" en tipo normal y centrado.
10.2.1.19 Una tabla horizontal de 8 cm ± 0.5 cm, indicando la especificación a cumplir de "ahorro de gas L.P. por mes" conforme se establece en la Tabla 2 en el inciso 6.1.2.
10.2.1.20 Una flecha indicando la "irradiación" registrada en la prueba y otra flecha con el "ahorro" registrado en la prueba del laboratorio en kg.
10.2.1.21 La leyenda "Este equipo registró un ahorro de" incluyendo el ahorro en kg de gas L.P. a un número decimal, seguida de la leyenda "en la prueba de laboratorio." en tipo normal y centrado.
10.2.1.22 La leyenda "Antes de comprar, compare los valores de ahorro de gas, con otros calentadores de características similares.", en tipo normal y centrado.
10.2.1.23 La leyenda "IMPORTANTE" en tipo negrita y centrado.
10.2.1.23.1 La leyenda "* El calentador de agua a gas de respaldo debe cumplir con las NOM-003-ENER-2011 y NOM-011-SESH-2012" en tipo normal.
10.2.1.23.2 La leyenda "Se recomienda que su instalación sea realizada por una persona certificada en algún estándar de competencia técnica reconocido como "instalador de un sistema de calentamiento solar de agua". (Por ejemplo: EC-0065 y/o EC-0325 que se encuentre vigente o la que lo sustituya o complemente).".
10.2.1.24 La leyenda "La etiqueta no debe retirarse del producto hasta que haya sido adquirido por el consumidor final." en tipo negrita y centrado.
10.2.2 Etiqueta para calentadores de agua solares.
10.2.2.1 El nombre de la etiqueta: "EFICIENCIA ENERGÉTICA", en tipo negrita y centrado.
10.2.2.2 La leyenda "Determinada como se establece en la", en tipo normal y centrado seguida de la leyenda "NOM-027-ENER/SCFI-2018" en tipo negrita y centrado.
10.2.2.3 La leyenda "Calentador de agua solar" en tipo negrita y centrado.
10.2.2.4 La leyenda "Marca (s):" en tipo negrita; seguida del nombre y/o marca(s) registrada(s) del fabricante, importador o comercializador, en tipo normal.
 
10.2.2.5 La leyenda "Modelo (s):" en tipo negrita; seguida del modelo del calentador de agua solar, en tipo normal.
10.2.2.6 La leyenda "Tipo de colector:" en tipo negrita; seguida del tipo de colector de acuerdo al Capítulo cinco, Clasificación de la presente Norma Oficial Mexicana, en tipo normal.
10.2.2.7 La leyenda "Capacidad:" en tipo negrita; seguida de la capacidad del calentador de agua solar en litros, en tipo normal.
10.2.2.8 La leyenda "Presión de trabajo:" en tipo negrita; seguida de la presión de trabajo del calentador de agua solar en kPa (se debe incluir su equivalente en kgf/cm2), en tipo normal.
10.2.2.9 La leyenda "Rendimiento térmico" en tipo negrita y centrado; seguida de la leyenda "(calentador de agua solar)", en tipo normal y centrado.
10.2.2.10 La leyenda "Calor útil por día solar de 8h:" en tipo normal; seguida del valor obtenido en 8.1.1 en MJ, en tipo negrita; seguido de la leyenda "(mínimo a cumplir:", en tipo normal, seguida de la leyenda "12.5 MJ", en tipo negrita)", conforme a la Tabla 1 en el inciso 6.1.1.
10.2.2.11 La leyenda "Calor útil en 24 h:" en tipo normal; seguida del valor obtenido en 8.1.1 en MJ, en tipo negrita; seguido de la leyenda "(mínimo a cumplir:", en tipo normal, seguida de la leyenda "8.7", en tipo negrita)" conforme a la Tabla 1 en el inciso 6.1.1.
10.2.2.12 La leyenda "Antes de comprar, compare los valores de rendimiento térmico, con otros calentadores de características similares", en tipo normal y centrado.
10.2.2.13 La leyenda "IMPORTANTE" en tipo negrita y centrado.
10.2.2.13.1 La leyenda "Se recomienda que su instalación sea realizada por una persona certificada en algún estándar de competencia técnica reconocido como "instalador de un sistema de calentamiento solar de agua". (Por ejemplo: EC-0065 y/o EC-0325 que se encuentre vigente o la que lo sustituya o complemente).".
10.2.2.14 La leyenda "La etiqueta no debe retirarse del producto hasta que haya sido adquirido por el consumidor final." en tipo negrita y centrado.
10.3 Dimensiones
Las dimensiones de la etiqueta son las siguientes: Alto 15.0 cm ± 1.0 cm y Ancho 10.0 cm ± 1.0 cm
 

Figura 1-Ejemplo de distribución de la información de la etiqueta para calentadores de agua solares con
respaldo de un calentador de agua que utiliza como combustible gas L.P. o gas natural.
 

Figura 2-Ejemplo de distribución de la información de la etiqueta para calentadores de agua solares.
10.4 Garantía del producto
Los calentadores de agua solares y los calentadores de agua solares con respaldo o integrados a un calentador de agua a gas, comprendidos en el campo de aplicación de esta Norma Oficial Mexicana, deben contar con una póliza de garantía con una vigencia mínima de diez años, contados a partir de la fecha de entrega al consumidor final, en términos de la Ley Federal de Protección al Consumidor e indicar y cumplir con lo siguiente:
a)    Nombre, denominación o razón social y domicilio fiscal del productor nacional o importador del producto y teléfonos de servicio en los Estados Unidos Mexicanos.
b)    Identificación de los productos y/o modelos a los que aplica.
c)    Nombre y domicilio del establecimiento en los Estados Unidos Mexicanos donde puede hacerse efectiva la garantía en los términos de la misma, así como aquellos donde el consumidor pueda adquirir partes y refacciones. Adicionalmente, la garantía puede indicar que ésta puede hacerse efectiva en cualquiera de las sucursales a nivel nacional del proveedor que la ofrezca, sin necesidad de especificar los domicilios de las mismas.
d)    Duración de la garantía.
e)    Conceptos que cubre la garantía y limitaciones o excepciones.
 
f)     Procedimiento para hacer efectiva la garantía.
g)    Precisar la fecha en que el consumidor recibió el producto o indicar los documentos de referencia donde ésta se señale. Es responsabilidad del comerciante asegurarse que esta información esté presente al momento de la venta del producto al consumidor, de no hacerlo así, el comerciante debe cumplir con los términos de la garantía directamente.
h)    Para hacer efectiva la garantía no pueden exigirse otros requisitos más que la presentación del producto, la garantía vigente y comprobante de venta.
i)     La garantía del producto debe incluirse en el empaque o dentro del mismo.
11. Vigilancia
La Secretaría de Energía, a través de la Comisión Nacional para Uso Eficiente de la Energía, la Secretaría de Economía y la Procuraduría Federal del Consumidor, conforme a sus atribuciones y en el ámbito de sus respectivas competencias, son las autoridades que estarán a cargo de vigilar el cumplimiento de esta Norma Oficial Mexicana.
El cumplimiento de esta Norma Oficial Mexicana no exime ninguna responsabilidad en cuanto a la observancia de lo dispuesto en otras Normas Oficiales Mexicanas.
12. Procedimiento para la Evaluación de la Conformidad
El presente Procedimiento para la Evaluación de la Conformidad (PEC) es aplicable a los productos de fabricación nacional o de importación que se comercialicen en el territorio nacional.
La evaluación de la conformidad del aparato con las especificaciones de la presente Norma Oficial Mexicana se realiza por personas acreditadas y aprobadas en términos de la Ley Federal sobre Metrología y Normalización y su Reglamento.
12.1 Objetivo
Este PEC, se establece para facilitar y orientar a los organismos de certificación, laboratorios de prueba, fabricantes, importadores o comercializadores, en la aplicación de esta Norma Oficial Mexicana.
12.2 Referencias
Para la correcta aplicación de este PEC es necesario consultar los siguientes documentos vigentes:
·  Ley Federal sobre Metrología y Normalización (LFMN).
·  Reglamento de la Ley Federal sobre Metrología y Normalización (RLFMN).
12.3 Definiciones
Para los efectos de este PEC, se entenderá por:
12.3.1 Ampliación o reducción del certificado de conformidad: Cualquier modificación al certificado de producto durante su vigencia en modelo, marca, país de origen y especificaciones, siempre y cuando se cumpla con los criterios de agrupación de familia indicado en el inciso 12.5.3.
12.3.2 Autoridades competentes: La Secretaría de Energía (Sener), la Comisión Nacional para el Uso Eficiente de la Energía (Conuee), la Secretaría de Economía (SE) y la Procuraduría Federal del Consumidor (Profeco) conforme a sus atribuciones.
12.3.3 Certificación: Procedimiento por el cual se asegura que un producto cumple con las especificaciones establecidas en una Norma Oficial Mexicana (NOM).
12.3.4 Certificado de la conformidad del producto: Documento mediante el cual un organismo de certificación acreditado y aprobado hace constar, que un producto o una familia de productos determinados cumple con las especificaciones establecidas en la NOM.
12.3.5 Cancelación del certificado de la conformidad del producto: Acto por medio del cual el organismo de certificación para producto deja sin efectos de modo definitivo el certificado.
12.3.6 Familia de productos: Grupo de productos del mismo tipo en el que las variantes son de carácter estético o de apariencia, pero conservan las características de diseño que aseguran el cumplimiento con la NOM y que cumplan con el inciso 12.5.3.
12.3.7 Informe de certificación del sistema de calidad: Documento que otorga un organismo de certificación para producto a efecto de hacer constar, que el sistema de aseguramiento de calidad del producto que se pretende certificar, contempla procedimientos para asegurar el cumplimiento con la NOM.
12.3.8 Informe de pruebas: Documento que emite un laboratorio de pruebas acreditado y aprobado en los términos de la LFMN, mediante el cual se presentan los resultados obtenidos en las pruebas realizadas a la muestra seleccionada. La vigencia del informe de pruebas es de noventa días a partir de su fecha de emisión.
12.3.9 Interesado: Persona moral o persona física, que solicita la certificación de los productos que se encuentran en el campo de aplicación de la NOM.
12.3.10 Laboratorio de pruebas: Persona moral acreditada y aprobada para realizar pruebas de acuerdo con la NOM, conforme lo establece la LFMN y su Reglamento.
12.3.11 Organismo de certificación para producto: Persona moral acreditada y aprobada conforme a la LFMN y su Reglamento, que tenga por objeto realizar funciones de certificación a los productos referidos en la NOM.
12.3.12 Organismo de certificación para sistemas de gestión de la calidad: Persona moral acreditada conforme a la LFMN y su Reglamento, que tenga por objeto realizar funciones de certificación de sistemas de gestión de la calidad.
12.3.13 Producto: Equipos o aparatos que se encuentran comprendidos en el campo de aplicación de la NOM.
12.3.14 Renovación del certificado de la conformidad del producto: Emisión de un nuevo certificado de conformidad, normalmente por un periodo igual al que se le otorgó en la certificación inicial, previo seguimiento al cumplimiento con la NOM.
12.3.15 Seguimiento: Comprobación a la que están sujetos los productos certificados de la conformidad del producto con la NOM y cuyo objeto es asegurar si dichos productos continúan cumpliendo o no con lo establecido en la NOM. De ser el caso, incluye la comprobación de la conformidad del sistema de aseguramiento de la calidad.
12.4 Disposiciones generales
12.4.1 La evaluación de la conformidad debe realizarse por laboratorios de prueba y organismos de certificación de producto, acreditados y aprobados conforme a lo dispuesto en la LFMN.
12.4.2 Los trámites, documentación y requisitos que se presenten al organismo de certificación de producto, deberán estar en idioma español.
12.4.3 El interesado debe solicitar la evaluación de la conformidad con la NOM al organismo de certificación para producto, cuando lo requiera para dar cumplimiento a las disposiciones legales o para otros fines de su propio interés y el organismo de certificación para producto entregará al interesado la solicitud de servicios de certificación, el contrato de prestación de servicios y la información necesaria para llevar a cabo el proceso de certificación de producto.
12.4.4 Una vez que el interesado ha analizado la información proporcionada por el organismo de certificación para producto, en su caso, presentará la solicitud con la información respectiva, así como el contrato de prestación de servicios de certificación que celebra con dicho organismo.
12.4.5 Cuando las solicitudes de los interesados no cumplan con los requisitos o no se acompañen de la información correspondiente, el organismo de certificación para producto debe informar al interesado, para que subsane la omisión correspondiente.
12.4.6 El interesado debe elegir un laboratorio de pruebas, con objeto de someter la muestra seleccionada a las pruebas establecidas en la NOM.
12.4.7 La Secretaría de Energía a través de la Comisión Nacional para el Uso Eficiente de la Energía, será la autoridad competente para resolver cualquier controversia en la interpretación del presente Procedimiento para la Evaluación de la Conformidad.
12.5 Procedimiento y requisitos
12.5.1 Para obtener el certificado de la conformidad del producto, el interesado podrá optar por alguna de las siguientes modalidades:
I.     Certificación mediante pruebas periódicas al producto.
II.     Certificación mediante el sistema de gestión de la calidad de la línea de producción.
12.5.1.1 Requisitos generales para obtener el certificado de la conformidad en cualquiera de las modalidades establecidas en 12.5.1.
·  Copia simple del acta constitutiva que acredite al interesado como una persona moral o una persona física con actividad empresarial, formalmente establecida en los Estados Unidos Mexicanos.
·  Copia simple del documento notarial que acredite a la persona que firme las solicitudes de certificación como representante del interesado quien deberá tener domicilio en los Estados Unidos Mexicanos. Este representante será la persona responsable de dar respuesta a averiguaciones relacionadas con la certificación y de proveer muestras para el seguimiento posterior a la certificación.
·  Copia simple del Registro Federal de Contribuyentes (RFC) del solicitante.
·  Copia simple del alta del RFC del solicitante expedida por la Secretaría de Hacienda y Crédito Público (SHCP).
·  Dos originales debidamente firmados del contrato de prestación de servicios de certificación que celebre el solicitante con el organismo de certificación de producto, un tanto para cada una de las partes.
Estos requisitos generales deben presentarse conjuntamente con la solicitud de certificación inicial o cuando cambien las circunstancias o las personas a que se refieren.
12.5.1.2 Requisitos particulares para obtener el certificado de la conformidad del producto por la modalidad de certificación mediante pruebas periódicas al producto (por modelo o por familia). Los interesados deben cumplir con los requisitos siguientes:
·  Solicitud de certificación de producto, debidamente requisitada y firmada por el representante del interesado.
·  Original del informe de pruebas realizadas por un laboratorio de prueba con una vigencia de 90 días naturales para procesos de certificación.
·  Declaración bajo protesta de decir verdad por medio de la cual el solicitante manifiesta que el producto que presenta es representativo de la familia que se pretende certificar, de acuerdo con lo establecido en el inciso 12.5.3. El organismo de certificación para producto debe estar en posibilidades de verificar la información que se le entrega bajo protesta de decir verdad.
·  Etiqueta de eficiencia energética con base en lo establecido en el Capítulo 10.
·  Manual de operación e instalación de acuerdo con el Apéndice B.
·  Garantía del producto.
·  Información técnica de cada modelo, la cual debe incluir:
o    Tipo de tecnología del calentador de agua solar.
o    Capacidad del tanque térmico.
o    Curvas de caracterización térmica en el periodo diurno y pérdidas nocturnas del calentador de agua solar de acuerdo con la norma NMX-ES-004-NORMEX-2010.
·  Información técnica de cada modelo de calentador de agua a gas de respaldo:
o    Tipo de tecnología del calentador de agua a gas.
o    Capacidad.
o    Tipo de gas utilizado.
o    Eficiencia energética.
o    Certificado de conformidad del calentador de agua a gas de respaldo y el de referencia con las normas:
-     NOM-003-ENER-2011, Eficiencia de calentadores de agua para uso doméstico y comercial. Límites, método de prueba y etiquetado.
-     NOM-011-SESH-2012, Calentadores de agua de uso doméstico y comercial que utilizan como combustible Gas L.P. o Gas Natural -Requisitos de seguridad, especificaciones, métodos de prueba, marcado e información comercial.
·  Lista de componentes, con base en lo establecido en el inciso 6.3.
·  Diagrama de conexión e instalación.
 
·  Fotografía de cada uno de los productos que integra la familia.
El organismo de certificación debe determinar, con base a la información entregada, la procedencia total o parcial de la familia o en su caso la negación correspondiente; de la misma forma, cuando proceda debe determinar los elementos que serán enviados a pruebas de laboratorio.
12.5.1.3 Requisitos para obtener el certificado de la conformidad del producto por la modalidad de certificación mediante el sistema de gestión de la calidad de la línea de producción, los interesados deben cumplir con los requisitos siguientes:
·  Todos los establecidos en el inciso 12.5.1.2.
·  Copia del certificado vigente del sistema de gestión de la calidad expedido por un organismo de certificación de sistemas de gestión de la calidad acreditado en términos de la LFMN y su Reglamento; el certificado debe incluir el proceso de manufactura de los productos a certificar en la NOM, el nombre del organismo emisor, fecha de vigencia y el alcance del certificado.
12.5.2 Muestreo
12.5.2.1 Selección de la muestra
Para la certificación inicial debe seleccionarse una muestra integrada de los calentadores de agua solar del mismo modelo para cada certificado de familia de producto para la realización de las pruebas de laboratorio, con base en lo dispuesto en la Tabla 6.
Tabla 6-Especímenes a evaluar
Prueba
Certificación inicial
Especímenes a
evaluar
Rendimiento térmico, capacidad de tanque térmico, verificación de
componentes mínimos.
1
Exposición, resistencia a la alta temperatura, choque térmico externo,
penetración a la lluvia, choque térmico interno y desarmado e inspección final.
1
Resistencia a la presión positiva, a la presión hidrostática, al
sobrecalentamiento, a las heladas, al impacto.
1
Evaluación del consumo de gas para mantenimiento de la temperatura del
depósito en los calentadores de almacenamiento o rápida recuperación
1*
* El Interesado deberá presentar un espécimen del calentador de gas para cada configuración declarada.
12.5.2.2 Toma de los especímenes
El representante del organismo de certificación para producto debe seleccionar, de la línea de producción o del lote de un producto, las muestras establecidas en la tabla 6 del inciso 12.5.2.1.
Los interesados deben enviar los especímenes al laboratorio de prueba elegido.
12.5.3 Agrupación de la familia de producto
12.5.3.1 Para aplicar la modalidad de certificación mediante pruebas periódicas al producto, los equipos y aparatos se clasifican y agrupan por familia, de acuerdo con los criterios siguientes:
·  Mismo tipo de tecnología del calentador de agua solar:
a)    Autocontenidos;
b)    Colectores con concentradores tipo parabólico compuesto (CPC);
c)    Colectores de tubos al vacío con o sin tubos de calor y con y sin superficies reflejantes, y
d)    Colectores solares planos.
·  Misma tecnología del calentador de agua a gas de respaldo
a)    Almacenamiento;
b)    Rápida recuperación, e
c)    Instantáneo.
 
·  Misma planta productiva
·  Misma capacidad del tanque térmico
Se permiten cambios estéticos, gráficos y variaciones de color.
Se permiten diferentes marcas, siempre y cuando, sean fabricadas por la misma planta productiva.
No se considera de la misma familia a aquellos productos que no cumplan con los criterios aplicables a la definición de familia antes expuestos.
12.5.4 Vigencia de los certificados de la conformidad del producto
12.5.4.1 Un año a partir de la fecha de su emisión, para los productos certificados en la modalidad de pruebas periódicas al producto.
12.5.4.2 Tres años a partir de la fecha de emisión, para los productos certificados en la modalidad mediante el sistema de gestión de la calidad de la línea de producción.
12.5.5 Seguimiento
12.5.5.1 El organismo de certificación para producto debe realizar el seguimiento para comprobar el cumplimiento de los productos certificados con la NOM, como mínimo una vez durante el periodo de vigencia del certificado, tanto de manera documental como por revisión, muestreo y prueba de los productos certificados. El seguimiento se realizará con cargo al titular del certificado de conformidad del producto.
12.5.5.1.1. En la modalidad de certificación mediante pruebas periódicas al producto, el seguimiento debe realizarse en una muestra integrada por modelos de la familia certificada, diferentes a los que se probaron para la certificación inicial, como se especifica en la Tabla 7.
La muestra debe tomarse por el organismo de certificación, en la fábrica, bodegas o en los lugares que indique el titular del certificado de conformidad del producto en los Estados Unidos Mexicanos al menos una vez al año. Los especímenes deben presentarse al laboratorio de pruebas seleccionado por el interesado.
Tabla 7-Especímenes a evaluar
Prueba
Seguimiento
Especímenes a evaluar
Rendimiento térmico, capacidad de tanque térmico y
verificación de componentes mínimos
1
Resistencia a la presión hidrostática y al impacto
1
 
12.5.5.1.2 En la modalidad de certificación por medio del sistema de gestión de la calidad de la línea de producción; el seguimiento debe realizarse en una muestra tomada por el organismo de certificación como se especifica en la Tabla 7, en la fábrica, bodegas o en los lugares que indique el titular del certificado de conformidad del producto en los Estados Unidos Mexicanos y el seguimiento del sistema de gestión de la calidad de la línea de producción, con los resultados de la última auditoría efectuada por el organismo de certificación que expidió el certificado del sistema de gestión de la calidad. El seguimiento debe realizarse al menos una vez durante la vigencia del certificado.
12.5.5.2 De los resultados del seguimiento correspondiente en ambas modalidades, el organismo de certificación para producto dictamina la suspensión, cancelación o renovación del certificado de conformidad del producto. El organismo de certificación para producto mantendrá permanentemente informadas a las autoridades competentes y a las instancias que correspondan de los certificados que otorguen, amplíen, suspendan o cancelen y de los seguimientos que realicen.
12.6. Diversos
12.6.1 La lista de los laboratorios de prueba y los organismos de certificación pueden consultarse en la página de Internet de la entidad mexicana de acreditación y en la página de la Conuee.
12.6.2 Los gastos que se originen por los servicios de certificación y pruebas de laboratorio, por actos de evaluación de la conformidad, serán a cargo de la persona a quien se efectúe ésta conforme a lo establecido en el artículo 91, párrafo tercero de la LFMN.
13. Sanciones
El incumplimiento de esta Norma Oficial Mexicana será sancionado conforme a lo dispuesto por la LFMN y demás disposiciones legales aplicables.
14. Concordancia con normas internacionales
Con relación a la eficiencia energética, al momento de la elaboración de esta Norma Oficial Mexicana, no se encontró concordancia con ninguna norma internacional.
Apéndice A
Normativo
Figuras

Figura A.1-Esquema de instalación para medir el consumo de gas de un calentador de agua solar
acoplado a un calentador de agua a gas, como respaldo
 

Figura A.2-Esquema de instalación para medir el consumo de gas del calentador de agua a gas de
referencia
 
1. Tubería de fluido abierta
2. Radiación solar
3. Sensor de temperatura
ambiente
4. Piranómetro
5. Tubería de fluido sellada
6. Colector
7. Tanque térmico
8. Pluviómetro

Figura A.3-Exposición
1. Piranómetro en el plano
de captación
2. Tubería de fluido sellada
3. Colector
4. Tubería de fluido abierta
5. Tanque térmico
6. Radiación solar
7. Sensor de temperatura
ambiente
8. Anemómetro

Figura A.4-Resistencia a alta temperatura (alta irradiancia)
1. Rociador de agua
2. Tubería de fluido abierta
3. Radiación
4. Sensor de temperatura
ambiente
5. Piranómetro en el plano
de captación
6. Tubería de fluido sellada
7. Colector
8. Tanque térmico

Figura A.5-Choque térmico externo
1. Rociador de agua
2. Tubería de fluido sellada
3. Ángulo de inclinación
4. Colector
5. Tanque térmico
6. Piranómetro

 
Figura A.6-Penetración por lluvia
 
1. Radiación solar
2. Sensor de temperatura
ambiente
3. Piranómetro en el plano
de captación
4. Fuente fluido de
transferencia de calor
5. Sensor de flujo
6. Colector
7. Tubería de fluido sellada
8. Tanque térmico

Figura A.7-Choque térmico interno

 
Figura A.8-Resistencia a la presión positiva
 
1. Fuente de
presión hidráulica
2. Sensor de flujo
3. Sensor de
temperatura para el
agua
4. Manómetro
5. Tubería de fluido
sellada
6. Colector
7. Tanque térmico
8. Sensor de
temperatura
ambiente

Figura A.9-Resistencia a la presión hidrostática
 
1. Válvula de
seguridad
2. Manómetro
3. Tubería de fluido
sellada
4. Colector
5. Tanque térmico
6. Purgador de aire
7. Sensor de
temperatura
ambiente
8. Piranómetro

Figura A.10-Resistencia al sobrecalentamiento
 
 
1. Calentador de
agua solar
2. Bola de acero
3. Electroimán

Figura A.11-Resistencia al impacto
Apéndice B
Normativo
Manual de operación e instalación
El fabricante o importador deberá incluir un manual de operación e instalación integrado con cada sistema conteniendo por lo menos la siguiente información:
a)    Breve descripción del sistema y sus componentes.
b)    Especificaciones técnicas del sistema y sus componentes.
c)    Instructivo para el armado e instalación del sistema incluyendo precauciones de seguridad, se deben incluir diagramas esquemáticos.
d)    Instrucciones de operación y mantenimiento del sistema.
e)    Guía de problemas comunes, posibles causas y soluciones.
f)     Listado de estaciones de servicio y mantenimiento.
g)    Cláusula de garantía y sus limitaciones.
Apéndice C
Informativo
Tabla 10-Normas técnicas y/o estándares de competencia laboral, que reconocen la competencia
técnica de los instaladores de un sistema de calentamiento solar de agua
Clasificación
Código
tulo
Descripción del estándar de competencia
Norma técnica de competencia laboral
NUSIM005.01
(EC0065)
Instalación del sistema de calentamiento solar de agua
Reconoce cuando las personas cuentan con conocimientos, habilidades, destrezas y actitudes para instalar y poner en funcionamiento calentadores de agua solares, siguiendo los instructivos y manuales correspondientes.
Estándar de competencia
EC0325
Instalación de sistema de calentamiento solar de agua termosifónico en vivienda sustentable
Reconoce cuando las personas cuentan con conocimientos, habilidades, destrezas y actitudes para desempeñarse como plomeros, fontaneros e instaladores de tuberías, que instalen y pongan en funcionamiento calentadores de agua solares termosifónicos (sistema compacto que permite utilizar la energía solar para proveer agua caliente), específicamente en viviendas sustentables.
 
15. Bibliografía
-      NOM-050-SCFI-2004, Información comercial-etiquetado general de productos, publicada en el Diario Oficial de la Federación el 1 de junio de 2004.
-      International Standard ISO 9459-2, "Solar heating--Domestic water heating systems--Part 2: Outdoor test methods for system performance characterization and yearly performance prediction of solar-only systems".
-      International Standard ISO 9806:2013, "Solar energy-Solar thermal collectors-Test methods".
-      Norma Española UNE-EN 12975-1, "Sistemas solares y componentes, Captadores solares. Parte 1: Requisitos generales".
-      Norma Española UNE-EN 12975-2, "Sistemas solares térmicos y componentes. Captadores solares. Parte 2: Métodos de ensayo".
-      Norma Española UNE-EN 12976-1, "Sistemas solares térmicos y sus componentes, Sistemas prefabricados. Parte 1: Requisitos generales".
-      Norma Española UNE 12976-2, "Sistemas solares térmicos y componentes, sistemas prefabricados. Parte 2: Métodos de ensayo.
16. Transitorios
Primero. Esta Norma Oficial Mexicana, entrará en vigor 120 días naturales después de su publicación en el Diario Oficial de la Federación.
Segundo. Los productos comprendidos dentro del campo de aplicación de la presente Norma Oficial Mexicana, que hayan ingresado legalmente al país, o bien que se encuentren en tránsito, de conformidad con el conocimiento de embarque correspondiente, antes de la entrada en vigor de esta Norma Oficial Mexicana; podrán ser comercializados hasta su agotamiento, sin mostrar cumplimiento con la misma; debiendo acatar lo dispuesto en el artículo 53 de la Ley Federal sobre Metrología y Normalización.
Tercero. Los laboratorios de prueba y los organismos de certificación de producto, pueden iniciar los trámites de acreditación y aprobación en la presente Norma Oficial Mexicana, a partir de la fecha de su publicación en el Diario Oficial de la Federación.
Sufragio Efectivo. No Reelección.
Ciudad de México, a 2 de agosto de 2018.- El Director General de la Comisión Nacional para el Uso Eficiente de la Energía y Presidente del Comité Consultivo Nacional de Normalización para la Preservación y Uso Racional de los Recursos Energéticos, Odón Demófilo de Buen Rodríguez.- Rúbrica.- El Director General de Normas y Presidente del Comité Consultivo Nacional de Normalización de la Secretaría de Economía, Alberto Ulises Esteban Marina.- Rúbrica.